ЭИПТ-2 (1072583)
Текст из файла
Московский государственный технический университет
им. Н.Э.Баумана
Ю.В.Панфилов
ЭЛЕКТРОННЫЕ, ИОННЫЕ И ПЛАЗМЕННЫЕ ТЕХНОЛОГИИ
Часть II. ФИЗИКА ВЗАИМОДЕЙСТВИЯ ЭЛЕКТРОНОВ И ИОНОВ С ВЕЩЕСТВОМ
Рекомендовано методической комиссией факультета
«Машиностроительные технологии» МГТУ им.Н.Э.Баумана
в качестве учебного пособия по курсу
«Элионные технологии»
Москва
МГТУ им.Н.Э.Баумана
Факультет
«Машиностроительные технологии»
2004
Содержание Стр.
-
Общие положения …………………………………………………………………. 2
-
Формирование потоков частиц …………………………………………………… 3
-
Взаимодействие электронных потоков с материалами …………………………. 8
-
Взаимодействие ионных потоков с материалами ……………………………….. 13
-
Формирование газоразрядной плазмы и ее взаимодействие с материалами ….. 19
-
Теоретические аспекты физического осаждения из газовой фазы …………….. 23
-
Теоретические аспекты химического осаждения из газовой фазы …………….. 26
8. Оптические и рентгеновские пучки, СВЧ техника ………………………………. 32
1. Общие положения
Электронные технологии базируются на физических явлениях взаимодействия высокоэнергетических электронных, ионных, оптических и рентгеновских пучков, а также газоразрядной плазмы с поверхностью твердого тела. На этих явлениях основаны методы электронной, ионной и рентгеновской литографии, нанесения тонких пленок в вакууме, молекулярно-лучевой эпитаксии, вакуумно-плазменного травления, ионной имплантации, электронного, протонного и лазерного отжига, электронной, ионной и лазерной размерной обработки и многие другие. Типовыми объектами для данных процессов можно считать изделия с управляемой толщиной пленок и слоев до 0,1 мкм и менее, с минимальными планарными размерами 0,3 - 0,5 мкм.
Развитие электронных технологий первично для изготовления электровакуумных и полупроводниковых приборов открыло возможности создания различных микроструктур (микроизображений на плоскости) в смежных областях, например, для производства мембран, фильтров и даже искусственной клетки в биологии, микролинз, призм, оптических фильтров и других элементов в оптике (приведших к новому направлению развития техники связи), сверхчувствительной микроминиатюрной измерительной и диагностической аппаратуры и многих других изделий. По своим физическим параметрам микроструктуры отличаются как от однородных монолитных материалов, так и от отдельных атомов и молекул. Их размеры обычно определяются некоторой характерной длиной, связанной с используемыми физическими принципами, например, длиной волны, дебаевским радиусом экранирования, толщиной обедненного слоя и т.п. Для создания структур с соизмеримыми атомным размерами предназначена нанотехнология - новая ступень развития электронных, ионных и плазменных технологий, которая базируются уже не только на принципе "удаления лишнего материала", а и на достижении необходимых свойств изделий путем добавления "атома за атомом".
Для реализации этих принципов в качестве "инструмента" используются остросфокусированные электронные, ионные, атомарные, оптические, рентгеновские пучки, газоразрядная плазма, а также мощные электрические и магнитные поля с помощью которых и обрабатывают изделия, и измеряют их размеры, и контролируют свойства, и диагностируют параметры, и управляют технологическими процессом и оборудованием. В Табл.2 приведены параметры пучков, характерные для электронных, ионных и плазменных технологий: для фотонов с энергиями 1,6 - 3,5 эВ, соответствующими видимому свету, минимальный размер обработки составляет приблизительно 1 мкм, а в области ультрафиолетового и мягкого рентгеновского излучения (энергия фотонов находится в диапазоне 5 - 1000 эВ) размер обработки можно уменьшить до 0,1 мкм.
В обычно используемом диапазоне энергий электронов от 0,1 до 100 кэВ можно получить разрешение, сравнимое с размерами атомов - порядка 0,1 нм. Ограничения на минимальный размер пучка электронов (порядка 10 нм) связаны с их рассеянием. Ионные и атомарные пучки характеризуются отсутствием ограничений на дебройлевскую длину волны даже при малых энергиях ионов. Доля рассеянных ионов обычно очень мала, т.к. их размеры соизмеримы с периодом кристаллических решеток материалов, с которыми они взаимодействуют. Минимальный размер пучка ионов или атомов может достигать примерно 1 нм.
В процессах обработки материалов потоками заряженных частиц в вакууме применительно к задачам электронных технологий различают три фазы:
-
Формирование потоков частиц (электронов, ионов, атомов, молекул) с приданием им необходимой энергии и плотности;
-
Пролет частиц от источника до мишени (энергомассоперенос) с выполнением разнообразных процессов модификации потоков: ускорения, фокусирования, сканирования, нейтрализации заряда и т.п.;
-
Взаимодействие потоков с поверхностью – обрабатываемым или контролируемым материалом с выполнением заданных технологических функций.
При конструировании технологической оснастки зачастую конструктивно объединяют устройства формирования потока частиц и управления этим потоком. Так при электронно-лучевой обработке электронная пушка и устройства управления (формирующие, ускоряющие, фокусирующие и отклоняющие электроды) выполняют как единый блок – электронно-оптическую систему (ЭОС).
2.Формирование потоков частиц
Оптические пучки, используемые в элионных технологиях для засветки фоторезиста, испарения материалов при нанесении тонких пленок, подгонки тонкопленочных резисторов и других операций, формируются с помощью твердотельных и газовых лазеров. Рентгеновские лучи используются в рентгенолитографии, аналитическом оборудовании и формируются с помощью рентгеновских трубок или синхротрона.
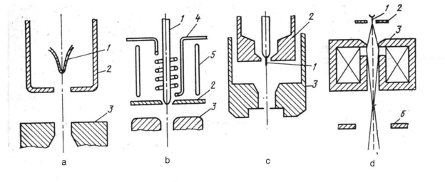
Формирование потоков электронов осуществляется с помощью электронных пушек (рис.1). Пушка состоит из источника электронов (эмиттера) и двух или более электродов, находящихся под различными электрическими потенциалами. Обычно заземленный анод разгоняет электроны до конечной скорости при движении от катода, находящегося под отрицательным потенциалом, соответствующим требуемой энергии носителей заряда. Хотя может быть и наоборот, когда катод заземлен, а на анод подается положительный потенциал 10 – 100 кВ. Назначением электрода Венельта, потенциал которого близок к потенциалу эмиттера, является придание силовым линиям (особенно у заостренного конца эмиттера) такой формы, чтобы обеспечить требуемую интенсивность поля и направление движение электронного пучка.
Важнейшей характеристикой источника электронов является его яркость
= I/(S),
где I – ток эмиссии; S - площадь эмиттирующей поверхности; - телесный угол, в который происходит эмиссия.
Р
ис.1 Схемы электронных пушек: a – с термоэмиссионным катодом из вольфрамовой проволоки; b – типа Броерса с катодом из гексаборида лантана с косвенным подогревом; c – автоэмиссионный источник с электростатической фокусирующей системой; d – автоэмиссионный источник с магнитной линзой и двумя анодами; 1 – катод; 2 – управляющий электрод; 3 – анод; 4 – нить подогрева; 5 – экран; 6 – второй анод
Сила тока зависит от материала катода и механизма эмиссии. Плотность тока термоэмиссии j0 можно рассчитать по следующей формуле
где A=120 А.см-2К-2 – константа Ричардсона; T - температура эмиттера, К; r - коэффициент отражения от потенциального барьера; e - заряд электрона; e - работа выхода электрона; k - постоянная Больцмана; E - напряженность электрического поля, В/м.
Д
ля вольфрамового катода e = 4,5 эВ при T = 2873 К, E =105 В/м (ускоряющее напряжение равно U=25 кВ), A(1-r) = 60 А.см-2К-2 плотность тока термоэмиссии составляет j0=6,3 А/см2.Для гекаборид-лантанового катода расчетное значение j0 для условий A(1-r) = 40 А.см-2К-2, e = 2,6 эВ, T = 1873 К, U=25 кВ, E =106 В/м равно 49 А/см2.
Для придания электронному пучку необходимой энергии (скорости) и формы служат формирующие и апертурные диафрагмы, фокусирующие и отклоняющие линзы, стигматоры, сканирующие системы и другие элементы ЭОС (на схеме справа).
Формирование пучков ионов осуществляется с помощью источников ионов, которые состоят из разрядной (ионизационной) камеры, источника электронов (нагреваемого термокатода, холодного или полого катода), анода, магнитной системы (для повышения эффективности ионизации), экстрагирующего электрода и электрода первичной фокусировки, системы подачи рабочего газа или пара. Ионные источники должны генерировать однородные высокоинтенсивные пучки со стабильными во времени параметрами и многозарядные ионные пучки, обеспечивать предельную плотность ионного тока при максимально низких экстагирующих напряжениях, ионизировать газообразные (Ar, N2, O2, BF3, PCl3, AsF3, AlCl3 и т.п.) и твердые (B, As, Sb, Al, Ti и т.п.) вещества, формировать ионный пучок заданного сечения, быть простыми в управлении и обладать большим временем наработки на отказ катода и всего источника.
Т.к. обеспечить в одном источнике все перечисленные требования невозможно, применяют различные е го типы, основными из которых являются автономные источники ионов с горячим, холодным или полым катодом, дуоплазмотроны, источники с ВЧ- и СВЧ-возбуждением, источники с поверхностной ионизацией и др.
В
источниках ионов с горячим катодом (рис.2, где 1 – ввод газа; 2 – катод; 3 – ввод охлаждающей жидкости; 4 – держатель; 5 – электромагнит; 6 – разрядная камера; 7 – экстрактор) в качестве источника электронов используются катоды прямого накала или с косвенным подогревом. Эти источники бывают с экстракцией ионов вдоль оси разрядной камеры и коническим пучком (аксиальная экстракция) или перпендикулярно оси разрядной камеры через отверстие прямоугольной формы и пучком ионов в виде узкой ленты (радиальная экстракция). Основным достоинством таких источников является возможность получения высокоинтенсивных пучков ионов, а главным недостатком – быстрое разрушение термокатода при использовании химически активных рабочих газов.
Автономные источники ионов с холодным катодом и разрядом Пеннинга (рис.3, где 1 – катод; 2 – антикатод; 3 – экстрактор; 4 – цилиндрический кольцевой анод; 5 – соленоид) содержат цилиндрический кольцевой анод, размещенный между параллельно расположенными катодом и антикатодом. Ионы вытягиваются из плазмы самостоятельного газового разряда через отверстие в антикатоде и ускоряются системой экстракции. Благодаря наличию соленоида источник обладает высокой эффективностью ионизации (до 1014 ион/см3), срок службы катода превышает 1000 часов. Недостатком такой конструкции является низкая сила тока пучка ионов (до 100 мкА), большая пульсация тока и возможность использования только газообразных рабочих веществ.
Типовой жидкометаллический источник ионов состоит из двух электродов: острия-анода и заземленного экстрактора, между которыми приложено напряжение порядка 4 – 10 кВ. Острие выполнено в виде тонкой вольфрамовой трубки с капиллярным отверстием диаметром 50 мкм, через которое поступает жидкий металл. При давлении внутри иглы порядка 1 МПа и наличии электрического поля высокой напряженности (порядка 1010 В/м) на конце капилляра образуется выступ жидкого металла в виде конуса, с вершины которого эмиттируется расходящийся пучок положительных ионов.
Основными способами формирования атомарных и молекулярных пучков являются: термическое и дуговое испарение, испарение взрывом, ионное распыление, а также, получение ионных пучков из газовой фазы с последующей нейтрализацией.
Термин «испарение» отражает высокую температуру формирования потока вещества и наличие паровой фазы. С помощью испарения можно формировать потоки атомов и молекул металлов, сплавов, полупроводников и диэлектриков.
Термическое испарение (Рис.4), с точки зрения термодинамики, описывается уравнением Клаузиуса-Клапейрона:
,
Характеристики
Тип файла документ
Документы такого типа открываются такими программами, как Microsoft Office Word на компьютерах Windows, Apple Pages на компьютерах Mac, Open Office - бесплатная альтернатива на различных платформах, в том числе Linux. Наиболее простым и современным решением будут Google документы, так как открываются онлайн без скачивания прямо в браузере на любой платформе. Существуют российские качественные аналоги, например от Яндекса.
Будьте внимательны на мобильных устройствах, так как там используются упрощённый функционал даже в официальном приложении от Microsoft, поэтому для просмотра скачивайте PDF-версию. А если нужно редактировать файл, то используйте оригинальный файл.
Файлы такого типа обычно разбиты на страницы, а текст может быть форматированным (жирный, курсив, выбор шрифта, таблицы и т.п.), а также в него можно добавлять изображения. Формат идеально подходит для рефератов, докладов и РПЗ курсовых проектов, которые необходимо распечатать. Кстати перед печатью также сохраняйте файл в PDF, так как принтер может начудить со шрифтами.
















