Kursovoy_proekt_Tishenko_var_8_5 (1071091)
Текст из файла
24
Министерство образования Российской Федерации
МОСКОВСКИЙ ГОСУДАРСТВЕННЫЙ ТЕХНИЧЕСКИЙ УНИВЕРСИТЕТ
ИМ. Н.Э. БАУМАНА
Факультет «Радиоэлектроника и лазерная техника»
Кафедра «Лазерные и оптико-электронные системы»
Домашнее задание №3
по дисциплине «Теория вероятности и математической статистики».
Тема: «Математическая статистика»
Вариант 5.
Листов 135
Преподаватель,
__________ Сержантова М.М.
Студент,
гр. РЛ2-52 __________ Конушкин А.И.
2009
Оглавление
Стр.
1. Техническое задание 4
2. Прототип механизма линейного перемещения 5
3. Разработка технического предложения 6
4. Проектировочный расчёт редуктора 7
4.1. Выбор двигателя для ЭМП 7
4.2. Проектирование механизма редуктора 8
4.2.1. Определение общего передаточного отношения в кинематической цепи 8
4.2.2. Определение момента нагрузки на выходном валу 8
4.2.3. Определение числа ступеней редуктора 8
4.2.4 Разбивка общего числа передаточного отношения 9
редуктора 9
4.2.6. Расчет моментов кинематической цепи 10
4.3. Проектный расчет зубчатых передач на прочность. 10
4.3.1 Выбор материалов для элементарных передач 11
4.3.2. Допускаемые напряжения при расчете на выносливость 11
4.3.3. Допускаемое контактное напряжение для шестерни и
колеса 11
4.3.4. Допускаемое напряжение изгиба для материала шестерни и зубчатого колеса 12
4.3.5. Расчет зубьев на изгиб 13
4.3.6. Расчет зубьев на контактную прочность 13
4.4. Геометрический расчет зубчатых колес и параметров
передач 14
5. Проектировочный расчет валов и опор 16
5.1. Проектировочный расчет вала 16
5.2. Расчет на статическую прочность 16
5.3. Определение эквивалентных напряжений 18
6. Расчет предохранительной фрикционно-дисковой муфты. 21
6.1 Выбор и расчет муфты 21
6.2. Расчет пружины для предохранительной муфты 21
6.2.1 Проектировочный расчёт пружины 21
6.2.2 Проверочный расчёт пружины 22
7. Проверочный расчет валов и опор 24
7.1. Проверочный расчет по динамической грузоподъемности 25
7.2. Расчет КПД опор 25
8. Проверочный расчет редуктора 26
8.1. Проверка правильности подбора двигателя 26
8.2. Проверочный расчет на прочность 27
8.4. Расчет на прочность передачи винт-гайка 27
9. Расчет размерной цепи 29
9.1. Расчет методом максимума-минимума, способом равных
допусков 29
10. Проверочный расчет кинематической цепи на точность 31
10.1. Выбор степени точности 31
10.2. Выбор вида сопряжении 31
10.3. Расчет погрешности кинематической цепи вероятностным методом 31
10.4. Расчет погрешности мертвого хода вероятностным
методом 33
10.5. Расчет общей погрешности кинематической цепи 33
11. Заключение 36
11.1. Описание конструкции 36
11.2. Расчеты и выводы 36
12. Список литературы 38
13. Приложения 39
1. Техническое задание
Разработать конструкцию механизма линейных перемещений в соответствии с заданным вариантом.
Основные данные приведены в таблице 1:
Таблица 1
| Сила на выходном звене F, Н | 450 |
| Скорость движения выходного звена V, м/с | 0,016 |
| Ход выходного звена S, мм | 65 |
| Диаметр и шаг винта выходной пары d/p, мм | 12/3 |
| Тип предохранительной муфты | Кулачковая зубчатая |
| Тип двигателя | ДАТ |
| Ограничители движения | Микровыключатели Д301 или А8028 |
Линейные перемещения выходного звена обеспечиваются с помощью передачи винт-гайка на выходе механизма. Для передачи винт-гайка использовать резьбу трапецеидальную нормальную по СТСЭВ 146-75. Число заходов винта z=1. При предварительном расчете принимать КПД механизма
.
2. Прототип механизма линейного перемещения
Механизмы линейных перемещений широко применяются для преобразования вращательного движения в поступательное в устройствах ПЭА, оптико-механических приборах, авиационных приборах и в робототехнике.
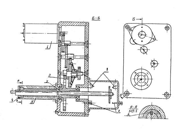
Рассмотрим прототип, данный в задании, изображенный на рис.1.
рис.1
Вращение вала двигателя I с помощью четырехступенчатого зубчатого редуктора передается на зубчатое колесо-гайку 2. В ступице колеса-гайки нарезана ходовая трапецеидальная резьба. При вращении колеса-гайки 2 ходовой винт3 перемещается в цилиндрической направляющей с бронзовой втулкой 4, закрепленной в стакане 5. Ограничение движения ходового винта осуществляется упорами 7 и микровыключателями 8.
3. Разработка технического предложения
Основываясь на изучении технического задания и опыте выполнения лабораторной работы «Исследование передачи винт - гайка» по курсу «Проектирование оптико-электронных приборов», разработаем конструкцию механизма линейных перемещений.
Учитывая прототип, предоставленный в задании, предлагаются следующие технические решения:
1. Спроектировать механическое устройство обратной связи (предохранительную муфту), для предотвращения выхода из строя электродвигателя и поломки зубьев колёс. Следует использовать предохранительную фрикционно-дисковую муфту, так как она обладает меньшим боковым зазором, по сравнению с кулачковой(зубчатой) муфтой, фрикционно-дисковая муфта имеет более легкую конструкцию и может быть применима в нашей конструкции.
2. Проектирование должно учитывать наличие реверсивного режима работы, а так же частые пуски и остановки;
3. В качестве ограничителя движения выбрать микропереключатель МП 7, так как он имеет малые габариты и муссу, по сравнению с микровыключателями, предложенными в техническом задании.
4. Цилиндрическую направляющую с бронзовой втулкой следует заменить на ограничитель вращения.
5. В качестве опор на валы следует выбрать подшипники качения.
6. Следует изменить компоновку зубчатых колес в редукторе на ступенчатую, так как это позволит обеспечить легкость сборки, но увеличит габариты.
7. В нашей конструкции не требуется нарезка резьбы по всей длине вала, поэтому можно нарезать не по всей длине, что упростить изготовление и уменьшит затраты.
Проектировать будем редуктор в литом корпусе, закрытого типа, с двусторонним закреплением валов в опорах качения; для передачи будем использовать цилиндрические эвольвентные нулевые зубчатые колёса. В состав ЭМП будет входить широкая номенклатура стандартных изделий, все разрабатываемые детали будут технологичными и экономичными.
При проектировании ЭМП так же учтём условия эксплуатации и хранения установки. Работа установки должна отвечать критериям малошумности и плавности работы.
Условия хранения – закрытое отапливаемое помещение с естественной вентиляцией.
4. Проектировочный расчёт редуктора
4.1. Выбор двигателя для ЭМП
Предварительно выберем компоновочную схему будущего редуктора, он будет состоять из одного входного вала, одного выходного вала и нескольких ступеней передач. Передача будет осуществляться цилиндрическими нулевыми зубчатыми колёсами. Начнём проектирование ЭМП с выбора двигателя.
Определим расчетную мощность нагрузки при поступательном движении выходного звена по формуле
где
сила на выходном звене,
скорость движения выходного звена.
Согласно классификации ЭМП имеет кинематическую схему с одним выходным валом. В этом случае расчетную мощность электродвигателя определяют по формуле
где
,
мощность нагрузки на выходном валу.
Выбираем двигатель из серии ДАТ по вычисленной мощности: ДАТ21670 со следующими характеристиками.
Таблица 2
|
|
|
|
|
|
|
| 220 | 25 | 10700 |
|
|
|
Рассчитаем коэффициент запаса.
,
где
коэффициент запаса, учитывающий возможное изменение нагрузки, колебания напряжения питания и т.п.,(для случая статического нагружения )
.
Двигатели ДАТ – двигатели асинхронные теплостойкие. Условия эксплуатации следующие:
- вибрационные нагрузки: диапазон частот 1…2000Гц, ускорение 100м/с2;
- ударные нагрузки: 400м/с2;
- понижение температуры окружающей среды до -60 0С;
- гарантийная наработка двигателей: на 50 Гц – 10000ч.
4.2. Проектирование механизма редуктора
4.2.1. Определение общего передаточного отношения в кинематической цепи
Выведем формулу для определения угловой скорости выходного вала.
Пусть время одного оборота винта рассчитывается по формуле
Угловая скорость выходного вала рассчитывается по формуле
где
скорость движения выходного звена,
шаг винта выходной пары.
Определим частоту вращения на выходном валу по формуле
Общее передаточное отношение редуктора определяется по формуле
([1],стр.10)
где
.
4.2.2. Определение момента нагрузки на выходном валу
Определим момент нагрузки на выходном звене по формуле.
где
сила на выходном звене,
средний диаметр резьбы,
угол подъема винтовой линии,
приведенный угол трения.
По таблице определим
.
Для однозаходной трапецеидальной резьбы с диаметром
и шагом
-
.
Характеристики
Тип файла документ
Документы такого типа открываются такими программами, как Microsoft Office Word на компьютерах Windows, Apple Pages на компьютерах Mac, Open Office - бесплатная альтернатива на различных платформах, в том числе Linux. Наиболее простым и современным решением будут Google документы, так как открываются онлайн без скачивания прямо в браузере на любой платформе. Существуют российские качественные аналоги, например от Яндекса.
Будьте внимательны на мобильных устройствах, так как там используются упрощённый функционал даже в официальном приложении от Microsoft, поэтому для просмотра скачивайте PDF-версию. А если нужно редактировать файл, то используйте оригинальный файл.
Файлы такого типа обычно разбиты на страницы, а текст может быть форматированным (жирный, курсив, выбор шрифта, таблицы и т.п.), а также в него можно добавлять изображения. Формат идеально подходит для рефератов, докладов и РПЗ курсовых проектов, которые необходимо распечатать. Кстати перед печатью также сохраняйте файл в PDF, так как принтер может начудить со шрифтами.














