Комраков Б.М., Лысенко Г.А. - Лабораторный практикум по физической оптике, часть 1 (1070661), страница 5
Текст из файла (страница 5)
где
– знак равенства порядка величин.
При интерференции волн немонохроматического точечного источника в каждой точке пространства происходит наложение интерференционных картин на всех длинах волн, содержащихся в спектре излучения. Условие максимума интенсивности (3.5) одновременно для всех длин волн выполняется только при
. При увеличении
максимумы интенсивности на разных длинах волн смещаются относительно друг друга, интерференционная картина размывается. Если
то контраст интерференционной картины становится равный нулю.
Если спектр излучения источника непрерывный и интенсивность отдельных частот в спектре плавно меняется от максимального значения до нуля, то контраст интерференционной картины снижается плавно от 1 до 0 при увеличении
. При более сложном спектральном составе излучения закон изменения контраста усложняется. Например, если источник излучает две узкие спектральные линии равной интенсивности (рис. 7а), то закон изменения контраста, определяемый спектром одной линии (штриховая кривая на рис. 7б) модулируется косинусоидальной функцией. Результирующая зависимость контраста изображена непрерывной кривой на рис 76. Дополнительные нули появляются при таких значениях
, когда условие максимума интенсивности (3.5) для длины волны
совпадает с условием минимума (З.6) для длины волны
. Частота биений контраста
зависит от разности
.
а
б
Рис. 7. Влияние немонохроматичности источника излучения на контраст интерференционной картины: а - спектральный состав излучения; б - зависимость контраста интерференционной картины от оптической разности хода
На контраст интерференционной картины кроме спектрального состава излучения влияет размер источника. Реальный источник всегда имеет конечный размер. Поэтому в каждой точке пространства накладываются интерференционные картины от множества точек источника. Максимумы этих картин смещены относительно друг друга. Если максимум интенсивности картины от одной крайней точки источника совпадает с минимумом интенсивности картины от противоположной ей точки (рис. 8), то суммарная интерференционная картина полностью размывается, т.е. ее контраст падает до нуля. Для увеличения контраста следует уменьшать размер источника. Однако при очень малом размере последнего интерференционная картина может стать неразличимой из-за низкой интенсивности. Поэтому размер источника выбирают из условий достаточного контраста и достаточной интенсивности картины. При визуальных наблюдениях картину с контрастом выше
считают идеальной.
Явление интерференции широко применяют в оптических контрольно-измерительных приборах. Устройства, работающие на основе этого явления, называют интерферометрами.
Рис. 8. Влияние конечных размеров источника излучения на контраст интерференционной картины
Закономерности формирования интерференционной картины в большинстве интерферометров можно рассматривать на примере интерференции в плоскопараллельной пластине, где интерферирующие пучки образуются в результате отражения падающего пучка от двух поверхностей пластины (рис. 9а). Разность фаз между интерферирующими пучками без учета скачков фазы на поверхностях пластины
где
- толщина пластины;
- ее показатель преломления;
- угол преломления луча в пластине.
В зависимости от того, какой из параметров является причиной изменения
и возникновения интерференционных полос, различают три типа полос: полосы равной толщины, возникающие в результате изменения оптической толщины пластина
; полосы равного наклона, обусловленные изменением угла падения излучения на пластину
; полосы равного хроматического порядка, образованные различными монохроматическими составляющими одного и тоге же порядка интерференции.
а
б
в
Рис. 9. Двухлучевая интерференция в пластине
В реальных оптических системах невозможно полностью исключить влияние ни одного из параметров на величину
. Однако для наблюдения контрастных полос отдельные из них необходимо существенно ограничивать.
Например, при наблюдении полос равной толщины в клине (рис. 9б), ширина которых
где
- угол клина;
- его показатель преломления, необходимо ограничивать размер источника, так как максимумы интенсивности в интерференционных картинах от различных точек источника смещены относительно друг друга, что снижает контраст суммарной интерференционной картины.
При наблюдении полос равного наклона (рис. 9в) необходимо предъявлять жесткие требования к постоянству оптической толщины пластины. Если изменения разности фаз для пар интерферирующих лучей, входящих в объектив под одним и тем же углом, достигнут
, контраст интерференционной картины снизится до нуля.
Описание экспериментальной установки
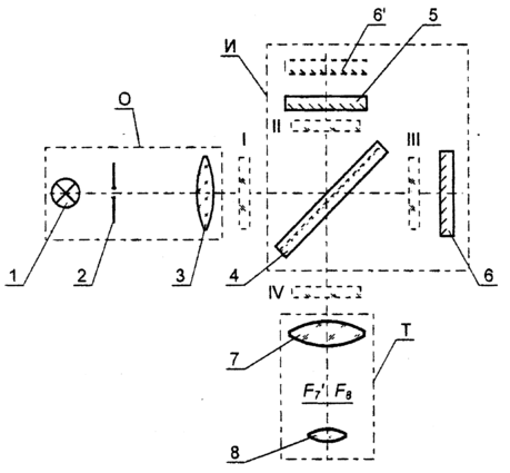
Экспериментальная установка собрана по схеме интерферометра Майкельсона (рис. 10). Осветитель О состоит из источника света 1 и коллиматора, представляющего собой объектив 3 с диафрагмой 2 в передней фокальной, плоскости. В качестве источника света использована натриевая лампа, излучающая две узкие спектральные линии с центрами на длинах волн
и
. Осветитель О формирует пучок лучей малой расходимости. Собственно интерферометр И, образованный светоделительной пластиной 4 и зеркалами 5 и 6, создает на выходе интерферирующие пучки. Вышедший из осветителя пучок делится светоделительной пластиной 4 на два, один из которых отражается зеркалом 5, а другой - зеркалом 6. Отраженные зеркалами пучки вновь делятся светоделителем 4 и образуют две пары интерферирующих пучков, одна из которых распространяется в направлении зрительной трубы Т, другая - в направлении осветителя О. Зрительную трубу, состоящую из объектива 7 и окуляра 8, используют для юстировки интерферометра и наблюдения интерференционной картины.
Рис. 10. Оптическая схема интерферометра Майкельсона
Схему интерферометра Майкельсона можно свести к воздушной пластине, образованной зеркалами 5 и 6' (см. рис 10). Зеркало 6' является изображением зеркала 6, которое создает светоделительная пластина 4. При малой угловой расходимости освещающего излучения в воздушной пластине наблюдаются интерференционные полосы. Если зеркала 5 и 6' идеально плоские и строго параллельны между собой, интерференционная картина имеет вид бесконечно широкой полосы, т.е. представляет собой равномерно освещенное поле, интенсивность которого зависит от толщины воздушной прослойки между зеркалами. Если зеркала 5 и 6' составляют угол
, т.е. образуют воздушный клин, то наблюдается интерференционные полосы, ширину которых вычисляют по формуле (3.13).
В неотъюстированном интерферометре из-за большой величины угла
интерференционные полосы могут стать настолько частыми, что их невозможно различить. Поэтому прежде чем наблюдать интерференционную картину, необходимо произвести юстировку интерферометра. Юстировка заключается в совмещении двух изображений диафрагмы 2, создаваемых двумя ветвями интерферометра в задней фокальной плоскости объектива зрительной трубы 7, посредством изменения наклона одного из зеркал интерферометра. Изображения диафрагмы при юстировке рассматривают через окуляр зрительной трубы 8.
При наблюдении интерференционной картины глаз необходимо располагать вблизи фокальной плоскости
объектива зрительной трубы 7.
Для выравнивания оптических длин путей пучков в обеих ветвях интерферометра одно из его зеркал выполнено подвижным.
Экспериментальная часть
1. Знакомство с конструкцией интерферометра.
С помощью преподавателя ознакомиться с основными узлами интерферометра. Особенное внимание обратить на расположение следующих элементов:
а) винтов наклона зеркал интерферометра;
б) винта перемещения подвижного зеркала интерферометра.
2. Юстировка интерферометра.
2.1. Установить окуляр в тубус зрительной трубы.
2.2. Совместить два изображения диафрагмы осветителя, изменяя наклон зеркала интерферометра юстировочными винтами.
2.3. Снять окуляр и наблюдать интерференционную картину, приблизив глаз к срезу тубуса зрительной трубы.
2.4. Добиться максимальной ширины интерференционных полос, изменяя наклон зеркала интерферометра юстировочными винтами. Зарисовать полученную интерференционную картину.
3. Исследование зависимости контраста интерференционной картины от оптической разности хода интерферирующих лучей.
3.1. Добиться полного исчезновения интерференционной картины, перемещая подвижное зеркало интерферометра вдоль направления падающего излучения, и снять отсчет
по измерительной линейке.
















