Рис2апреля (1061178)
Текст из файла
Материалы к лекции
«Конструкции захватных устройств манипуляторов»
Рис.1 Неуправляемые механические ЗУ
Рис.2 Неприводные механические ЗУ со стопорными механизмами
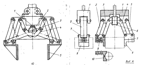
Рис.3 Клещевые механические ЗУ с рычажными передаточными механизмами
Рис.4 Широкодиапазонные механические ЗУ с рычажными передаточными механизмам и пневматическим приводом
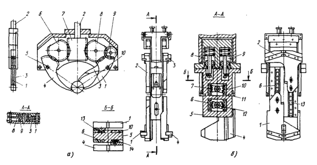
Рис.5 Широкодиапазонные центрирующие ЗУ с реечными передаточными механизмам для тел вращения
Рис.6 Центрирующие ЗУ с реечными передаточными механизмам для фланцев, дисков, зубчатых колес.
Рис.7 Широкодиапазонные центрирующие ЗУ с параллельным перемещением губок, осуществляемым комбинацией реечныхи рычажных передач.
Рис.8 ЗУ с плоскопараллельным движением губок и электроприводом
Рис. 9 Механическое ЗУ с плоскопараллельным движением губок с конической и винтовыми передачами.
Рис. 10 Механическое ЗУ с плоскопараллельным движением
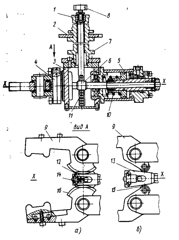
Рис.11 Механическое ЗУ с вращательным движением губок
Рис.12 Механическое ЗУ с вращательным движением губок
с рычажной системой
Рис. 13 Магнитно-вакуумное ЗУ
Рис.14 Вакуумно-механическое ЗУ
Рис.15 Пневмомеханическое ЗУ
Рис.16 Базирующие ЗУ с изгибающимися камерами для захватывания объектов за наружную поверхность
Рис.17 Адаптивные захватные устройства
Рис. 18 ЗУ с приспособлением для выполнения технологических операций
Рис.19 Широкодиапазонное ЗУ для сборочных операций с деталями типа фланцев, колец, валов, корпусов.
10
Характеристики
Тип файла документ
Документы такого типа открываются такими программами, как Microsoft Office Word на компьютерах Windows, Apple Pages на компьютерах Mac, Open Office - бесплатная альтернатива на различных платформах, в том числе Linux. Наиболее простым и современным решением будут Google документы, так как открываются онлайн без скачивания прямо в браузере на любой платформе. Существуют российские качественные аналоги, например от Яндекса.
Будьте внимательны на мобильных устройствах, так как там используются упрощённый функционал даже в официальном приложении от Microsoft, поэтому для просмотра скачивайте PDF-версию. А если нужно редактировать файл, то используйте оригинальный файл.
Файлы такого типа обычно разбиты на страницы, а текст может быть форматированным (жирный, курсив, выбор шрифта, таблицы и т.п.), а также в него можно добавлять изображения. Формат идеально подходит для рефератов, докладов и РПЗ курсовых проектов, которые необходимо распечатать. Кстати перед печатью также сохраняйте файл в PDF, так как принтер может начудить со шрифтами.
















