Отчет по практике РЛ3 (1060014)
Текст из файла
9
Московский Государственный Технический Университет им. Н. Э. Баумана
Отчет по технологической практике
студентки Брытковой Т.В.
преподаватель Родионов Е. М.
Москва, 2010 год.
Содержание
Введение………………………………………………………………………………………….3
Теоретическая часть …………………………………………………………………………….4
Практическая часть………………………………………………………………………………4
Введение
Практика проходила в период с 5 по 31 июля 2010 года в НТЦ №7 ГНЦ РФ ФГУП «НПО «Орион».
ФГУП «НПО «Орион» разрабатывает и производит:
-
фотоприемники и фотоприемные устройства (в том числе многорядные и матричные) для широкой области спектра - от ультрафиолетовой до дальней инфракрасной (от 0,2 до 14 мкм) на основе различных полупроводниковых материалов (GaP, Si, Ge, InGaAs, PbS, PbSe InSb, HgCdTe);
-
микроэлектронные схемы считывания, усиления и обработки фотосигналов (в том числе для работы при криогенных температурах);
-
технологические устройства для ионно-плазменной обработки поверхности, нанесения тонкопленочных покрытий различного типа, ионного травления тонкопленочных покрытий и электронно-лучевой сварки.
Фотоэлектрические полупроводниковые приемники оптического излучения - приборы, регистрирующие оптическое излучение и преобразующие его в электрический сигнал. Фотоприемники являются основным элементом любой оптико-электронной системы. Матричные фотоприемные устройства с числом фоточувствительных элементов в фотоприемниках, превышающим сотни тысяч, позволяют значительно повысить точность и увеличить радиус действия оптико-электронных систем.
ФГУП «НПО «Орион» за 60 лет разработал и изготовил несколько сотен типов фотоприемников (ФП) и фотоприемных устройств (ФПУ) для всего спектра оптического диапазона на основе различных полупроводниковых материалов. ФП и ФПУ нашли применение во многих областях науки и техники.
Следует отметить широкое использование разработанных ФП и ФПУ в таких областях как медицина, ядерная энергетика, обнаружение тепловых потерь в линиях электропередач, зданиях, трубопроводах; поиск полезных ископаемых, контроль промышленных процессов, обнаружение пожаров борьба с преступностью и терроризмом; охрана границ, участие в операциях спасения и поиска людей в аварийных ситуациях и во время стихийных бедствий и многое другое.
Практику, проходившую на ФГУП «НПО «Орион» условно можно разделить на 2 части – теоретическую и практическую.
Теоретическая часть
Теоретическая часть практики заключалась в посещении экскурсии по предприятию (музей, научно-исследовательский центр, отдел, в котором я проходила практику), а так же в прослушивании краткого курса лекций.
Практическая часть
Практическая часть заключалась в изучении работы электронного микроскопа.
Электронный микроскоп - прибор для наблюдения и фотографирования многократно (до 106 раз) увеличенного изображения объектов, в котором вместо световых лучей используются пучки электронов, ускоренных до больших энергий (30—100 кэВ и более) в условиях глубокого вакуума. Физические основы корпускулярно-лучевых оптических приборов были заложены в 1834 Гамильтоном, установившим существование аналогии между прохождением световых лучей в оптически неоднородных средах и траекториями частиц в силовых полях. Целесообразность создания электронного микроскопа стала очевидной после выдвижения в 1924 гипотезы о волнах де Бройля, а технические предпосылки были созданы немецким физиком Бушем, который исследовал фокусирующие свойства осесимметричных полей и разработал магнитную электронную линзу (1926). В 1928 немецкие учёные Кнолль и Руска приступили к созданию первого магнитного просвечивающего электронного микроскопа и спустя три года получили изображение объекта, сформированное пучками электронов. В последующие годы были построены первые растровые электронные микроскопы, работающие по принципу сканирования (развёртывания), т. е. последовательного от точки к точке перемещения тонкого электронного пучка (зонда) по объекту. К середине 1960-х гг. растровые микроскопы достигли высокого технического совершенства, и с этого времени началось их широкое применение в научных исследованиях.
Просвечивающее микроскопы (рис.1 и рис.2) обладают самой высокой разрешающей способностью, превосходя по этому параметру световые микроскопы в несколько тыс. раз. Предел разрешения, характеризующий способность прибора отобразить раздельно мелкие максимально близко расположенные детали объекта, у просвечивающего микроскопа составляет 2—3. При благоприятных условиях можно сфотографировать отдельные тяжёлые атомы. При фотографировании периодических структур, таких как атомные плоскости решёток кристаллов, удаётся реализовать разрешение менее 1. Столь высокие разрешения достигаются благодаря чрезвычайно малой длине волны де Бройля электронов. Оптимальным диафрагмированием удаётся снизить сферическую аберрацию объектива при достаточно малой дифракционной ошибке. Эффективных методов коррекции аберраций в электронном микроскопе не найдено. Поэтому в просвечивающем микроскопе магнитные электронные линзы, обладающие меньшими аберрациями, полностью вытеснили электростатические.
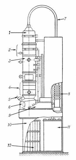
Рис. 1. Электронный микроскоп просвечивающего типа: 1 — электронная пушка; 2 — конденсорные линзы; 3 — объектив; 4 — проекционные линзы; 5 — световой микроскоп, дополнительно увеличивающий изображение, наблюдаемое на экране: 6 — тубус со смотровыми окнами, через которые можно наблюдать изображение; 7 — высоковольтный кабель; 8 — вакуумная система; 9 — пульт управления; 10 — стенд; 11 — высоковольтное питающее устройство; 12 — источник питания линз.
Рис. 2. Оптическая схема просвечивающего электронного микроскопа: 1 — катод v-образной формы из вольфрамовой проволоки (разогревается проходящим по нему током до 2800 К); 2 — фокусирующий цилиндр; 3 — анод; 4 — первый (короткофокусный) конденсор, создающий уменьшенное изображение источника электронов; 5 — второй (длиннофокусный) конденсор, который переносит уменьшенное изображение источника электронов на объект; 6 — объект; 7 — апертурная диафрагма; 8 — объектив; 9, 10, 11 система проекционных линз; 12 — катодолюминесцентный экран, на котором формируется конечное изображение.
Сверхвысоковольтные электронные микроскопы — крупногабаритные приборы (рис. 3) высотой от 5 до 15 м, с ускоряющим напряжением 0,5—0,65; 1—1,5 и 3 МэВ. Для них строят специальные помещения. Предназначены для исследования объектов толщиной до 1—10 мкм (104—106 Å). Электроны ускоряются в электростатическом ускорителе, расположенном в баке, заполненном электроизоляционным газом под давлением. В том же или в дополнительном баке находится высоковольтный стабилизированный источник питания. Ведутся работы по созданию сверхвысоковольтных электронных микроскопов с линейным ускорителем, в котором электроны ускоряются до энергий 5—10 МэВ.
Рис. 3. Сверхвысоковольтный электронный микроскоп: 1 — бак, в который накачивается электроизоляционный газ (элегаз) до давления 3—5 атм; 2 — электронная пушка; 3 — ускорительная трубка; 4 — конденсаторы высоковольтного источника; 5 — блок конденсорных линз; 6 — объектив; 7, 8, 9— проекционные линзы; 10 — световой микроскоп; 11 — пульт управления.
Характеристики
Тип файла документ
Документы такого типа открываются такими программами, как Microsoft Office Word на компьютерах Windows, Apple Pages на компьютерах Mac, Open Office - бесплатная альтернатива на различных платформах, в том числе Linux. Наиболее простым и современным решением будут Google документы, так как открываются онлайн без скачивания прямо в браузере на любой платформе. Существуют российские качественные аналоги, например от Яндекса.
Будьте внимательны на мобильных устройствах, так как там используются упрощённый функционал даже в официальном приложении от Microsoft, поэтому для просмотра скачивайте PDF-версию. А если нужно редактировать файл, то используйте оригинальный файл.
Файлы такого типа обычно разбиты на страницы, а текст может быть форматированным (жирный, курсив, выбор шрифта, таблицы и т.п.), а также в него можно добавлять изображения. Формат идеально подходит для рефератов, докладов и РПЗ курсовых проектов, которые необходимо распечатать. Кстати перед печатью также сохраняйте файл в PDF, так как принтер может начудить со шрифтами.
















