Кровообращение_all - 2007-4 (1059336)
Текст из файла
Механика кровообращения
-
Механика сокращения сердца
3.1.1. Схема анатомического строения сердца
3.1.2. Последовательность процессов в левых камерах сердца
-
Гидромеханика крупных кровеносных сосудов
-
Биофизические особенности аорты
-
Давление и кровоток в артериях
-
Модель упругого резервуара
-
-
Пульсовые волны в расправленных артериях
-
Трехмерные уравнения (неразрывности и импульса – Навье-Стокса)
-
Вывод уравнений для линейного, невязкого варианта
-
Вывод формулы Моэнса-Кортевега
-
Роль отражений в точках ветвления, импеданс согласованных сосудов
-
Нелинейные эффекты
-
-
Течение в спадающихся трубках и сосудах
-
Механические свойства мягких трубок, артерий, вен при Ptm ~ 0. Характерные параметры, скорости в венах.
-
Звуки Короткова, аналогия с ударной волной в газе.
-
Квазистационарный поток в податливой трубке. Запирание потока. Зависимость потока от давлений в общем виде.
-
Легочное кровообращение, 4 зоны распределения кровотока и запирание потока.
-
Запирание потока в дыхательных путях при форсированном выдохе.
-
1. Механика сокращения сердца
Схема анатомического строения сердца
Процессы в левых камерах сердца
1) Деполяризация мышц желудочков проявляется в комплексе QRS. В желудочках развивается напряжение. Аортальный клапан еще закрыт, митральный открыт. 2) Митральный клапан закрывается, на поверхности грудной клетки слышен 1-й тон сердца, это начало систолы. 3) Период изоволюмического сокращения. 4) Фаза изгнания крови. 5) Короткий период обратного тока, закрытие аортального клапана и 2-й тон сердца. 6) Период изоволюмического расслабления. 7) Митральный клапан открывается. 8) Пассивное «всасывание» крови левым желудочком. 9) Активное нагнетание левым предсердием.
Периоды систолы и диастолы определены по тонам сердца, что не соответствует строго периоду изгнания крови из желудочка. 1-й и 2-й тоны сердца – это колебания под действием упругости клапанов и «присоединенной» массы крови.
Наполнение желудочка в фазу диастолы – только пассивное.
-
Гидромеханика крупных кровеносных сосудов
-
Биофизические особенности аорты
-
Упругость аорты определеяется в основном эластиновыми волокнами. При повышении давления крови в физиологических пределах коллагеновые волокна только распрямляются, но не вытягиваются.
-
Давление и кровоток в артериях
Давление крови измеряют по отношению к атмосферному давлению, хотя для большинства параметров - объем крови, сопротивление и т.д. - важно трансмуральное давление
Скорость движения крови определяется разностью давлений внутри сосудов
Артериальное давление
Pa = PA –QR – ρgz
Гидростатическое давление и ортостатический обморок
Действие перегрузок: серая пелена и черная пелена
Кожедуб, напряжение мышц ног, противоперегрузочный костюм. Тонус венозных сосудов, венозный возврат, космонавты.
-
Модель упругого резервуара
Q2Rab = Pa - Pb
Q Rab
1 - Q2 = dVa/dt
Pa = (Va-Va0)/Ca
Насосная функция сердца описывается уравнением:
Здесь Q — объемный кровоток на выходе желудочка; F — частота сердечных сокращений; К — сократительная способность сердца; С — диастолическая растяжимость желудочка; Рv— венозное давление на входе сердца; U — ненапряженный объем желудочка при Р = 0; Vo — свободный член статической аппроксимации Q = Q(Pv). Экспоненциальные члены описывают динамику процесса с учетом гидравлического сопротивления атриовентрикулярных клапанов и длительности диастолы τg, причем
τg = a[F+b(1-K)]
где а и b — константы.
3. Пульсовые волны в расправленных артериях
-
Трехмерные уравнения (неразрывности и импульса – Навье-Стокса)
Уравнение Навье-Стокса для несжимаемой жидкости имеет вид:
3.2. Одномерные уравнения
fr = - τL/s
Параболический профиль, течение Пуазейля τL = 8πηu
Турбулентный поток τL = ρKtu2
Уравнение неразрывности
∂S/∂t + ∂(uS)/ ∂x = 0
Закон трубки
S = S0 + ∂S/∂P * dP
-
Уравнения для линейного, невязкого варианта
Уравнение неразрывности ∂S/∂t = - S0 ∂u/ ∂x
-
Вывод формулы Моэнса-Кортевега
Уравнение неразрывности + закон трубки
(∂S/∂P)0 ∂P/∂t + S0 ∂u/∂x = 0 t
баланс импульса
∂u/∂t = - 1/ ρ ∂P/∂x x
Получаем волновое уравнение
∂2P/∂t2 = S0 /(ρ (∂S/∂P)0) ∂2P/∂x2
с = (S0 /ρ * 1/(∂S/∂P)0)1/2 = (Eh/ ρd) 1/2
-
Рассматривали следующую упрощенную ситуацию:
-
Предположение о линейности. Есть нелинейные эффекты:
- выбросили квадрат скорости (конвективные ускорения), это возможно, если они <<∂u/∂t, для этого u/c << 1. реально u/c~0.4
- нелинейность S-P. dP/P ~ 0.2. Искажает форму, но мало влияет на скорость.
-
Нулевая вязкость: если α >> 1, то можно пренебрегать вязкостью. Аорта человека α ≈ 20, т.е. можно.
-
Стенка чисто упругая
-
Жидкость несжимаемая
-
Роль отражений в точках ветвления, импеданс согласованных сосудов
P = zQ
z = ρc/S
Pотр/Pпад = (Z0-1 - (Z1-1 + Z2-1))/(Z0-1 + (Z1-1 + Z2-1)) = R
-
Течение в спадающихся трубках и сосудах
4.1. Механические свойства мягких трубок, артерий, вен при Ptm ~ 0. Характерные параметры, скорости в венах.
Типичные зависимости «площадь сечения – давление» податливых трубок, вен, бронхов.
Внутренний диаметр вены и трубки 1,2 см, h/d=0,04. Et/Ev=40.
Крестики – вена.
Зависимость площади поперечного сечения тонкостенной мягкой трубки от трансмурального давления
При Pтм<-β, трубка без учета продольного натяжения
Оценка по модулю Юнга Е для трубки
Вены с радиусом 100-50 мкм β≈0,02 гПа
Нижняя полая вена собаки β≈0,15 гПа
Яремная вена собаки- эллипс при РТМ=-5гПа
скорости в венах 0,6-3 м/с
скорость кровотока в венах может достигать 1м/с
т.е. U/С ≈1, Pпульс/ PТМ≈1 нелинейные эффекты
яркое проявление- увеличение крутизны фронта
Рис. [Anliker et al., 1969]. Изменение формы волн при прохождении по брюшному отделу полой вены собаки.
Исследования течения в податливой трубке
Рис 14.15. А. Зависимость перепада давления (p1 — p2) от расхода Q в модели, подобной показанной выше. Изменения Q вызывали, меняя входное сопротивление; выходное сопротивление и давление в камере (рк==3,3 • 103 Н/м-2) поддерживали постоянными. Числа вдоль кривой— порядковые номера фотографий, приведенных на Б. Б. Вид сбоку на способный спадаться сегмент трубки на разных стадиях опыта; номера соответствуют помеченным числами точкам графика на А. Течение направлено справа налево. [А и Б-из Conrad (1969) В. Три кривые, аналогичные кривой А, которые получены при трех разных значениях выходного сопротивления; давление в камере поддерживали постоянным (рк=3,9 . 103 Н • м-2). Каждая кривая -непрерывная запись, полученная при постепенном увеличении расхода; в некоторых случаях при режиме течения II возникали самовозбуждающиеся колебания, что видно из кривых. Аналогичные кривые получаются и в том случае, когда выходное сопротивление остается постоянным, а давление в камере изменяется. [Katz, Chen, Moreno 1969.]
Уравнения стационарного квазиодномерного потока несжимаемой жидкости в одиночной трубке.
Уравнения неразрывности имеет вид:
U*S=const. (1)
Уравнение баланса импульса:
Площадь сечения – функция x, P («закон трубки»)
Из уравнений движения, неразрывности, закона трубки и условия: давление на внешней поверхности трубки Рвн=const следует
То уравнение принимает вид
Рассмотрим диапазон PТМ, в котором происходит спадение вен
От -10 до +10 см Н2О
-103 Н/м2 до +103 Н/м2
В уравнении (3) величина
может стать очень большой в 2-х случаях:
1) малое S- рост вязкого сопротивления
2) U→c приближение к звуковому барьеру- большое конвективное ускорение
то если задано S=S(P), то уравнение (3) можно проинтегрировать по длине трубки и для задачи, в которой задано давление на входе P1, давление на выходе P2 и окружающее давление PL, где P1>PL>P2 получить решение Q=Ф(P1,PL,P2)
Представим зависимость площади сечения от трансмурального давления в виде
показатель степени n характеризует крутизну спадения площади сечения при отрицательных трансмуральных давлениях, n<2 - резкое снижение площади
При n<2 происходит ограничение («запирание») потока
В результате получаем
, если P1>PL>P2
Это явление - запирание потока важно в двух структурах:
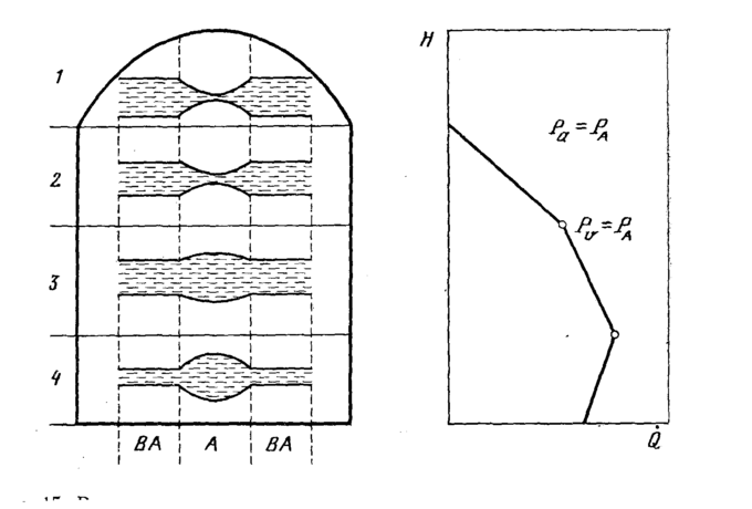
Легочное кровообращение, 4 зоны распределения кровотока и запирание потока.
1-я зона
Q ≈ 0
2-я зона
Q ≈(Pa-PA)/R
3-я зона
Q ≈ (Pa-Pv)/R
4-я зона
Q ≈ (Pa-Pv)/R(Ptm)
З
апирание потока в дыхательных путях при форсированном выдохе.
Конец вдоха Форсированный выдох
Q ≈(Pa-PPl)/R = f(V)
-
Звуки Короткова, аналогия с ударной волной в газе.
Характеристики
Тип файла документ
Документы такого типа открываются такими программами, как Microsoft Office Word на компьютерах Windows, Apple Pages на компьютерах Mac, Open Office - бесплатная альтернатива на различных платформах, в том числе Linux. Наиболее простым и современным решением будут Google документы, так как открываются онлайн без скачивания прямо в браузере на любой платформе. Существуют российские качественные аналоги, например от Яндекса.
Будьте внимательны на мобильных устройствах, так как там используются упрощённый функционал даже в официальном приложении от Microsoft, поэтому для просмотра скачивайте PDF-версию. А если нужно редактировать файл, то используйте оригинальный файл.
Файлы такого типа обычно разбиты на страницы, а текст может быть форматированным (жирный, курсив, выбор шрифта, таблицы и т.п.), а также в него можно добавлять изображения. Формат идеально подходит для рефератов, докладов и РПЗ курсовых проектов, которые необходимо распечатать. Кстати перед печатью также сохраняйте файл в PDF, так как принтер может начудить со шрифтами.
















