РПЗ (1058745), страница 5
Текст из файла (страница 5)
где λ-длина волны излучения; F- фокусное расстояние ЗПФ.
Исходя из справочной литературы для изготовления знака с одиннадцатью зонами, что позволяет получать требуемую точность совмещения, допуск на ширину линии не должен превосходить 0,01 мкм, что весьма сложно технически реализуемо.
Анализ вышеприведенных методов совмещения позволяет заключить, что наибольшей точностью обладают интерферометрические методы, имеющие инструментальную погрешность (рассовмещение рисунков непосредственно на знаке) менее 0,1 мкм. Однако в методе, основанном на использовании ЗПФ значительную сложность представляет изготовление самого знака с достаточным для получения необ-ходимой точности количеством зон. Погрешность интерферометрического метода с РЗ в виде дифракционных решеток зависит от величины зазора между знаками, что требует более полного его исследования. Эти исследования были проведены в работе [6].
7.2. Интерферометрический метод совмещения.
Данный метод, как доказано в [6], является наиболее чувствительным к изменению положения реперных знаков. Величина интерферометрического сигнала существенно зависит от зазора между РШ и пластиной. А также от его изменения с течением времени. Он требует установления оптимальной величины зазора и поддержания его с погреш-ностью не превышающей ±0,3 мкм.
Далее совмещение заключается в перемещении по осям X и Y, а также развороте пластин. Это требует наличия нескольких знаков. Точный разворот требует расположения знаков на значительном удалении друг от друга.
Вариант изображенный на рисунке 50(а) позволяет совместить в одном знаке информацию рассовмещении по обеим координатам. Однако выделение этой информации составляет большую трудность.
Поэтому чаще применяется вариант на рисунке 50(б). Он дает возможность получать независимую информацию по каждой из координат. Однако наличие 3-х знаков усложняет оптическую систему. Появляется необходимость разработки знака, позволяющего совместить преимущества обоих методов.
В работе [6] анализируется знак (рис. 51), который позволяет совместить в себе этапы предварительного и окончательного совмещения и содержит в себе информацию по рассовмещения по 3-м координатам.
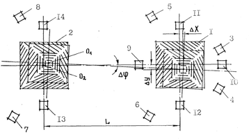
Этот знак представляет собой квадрат разделенный диагоналями на 4 сектора, причем размер знака на пластине больше чем на РШ. В каждом секторе квадрата есть ценральный 1 и периферийный 2 участки, на которых содержатся дифракционные решетки. Центральные решетки идентичны между собой, симметричны относительно осей квадрата и параллельны его сторонам. Периферийные решетки также имеют одинаковый период d2, они попарно симметричны и их штрихи наклонены к стороне знака под углом 30˚. Период центральных решеток d1>d2. Размер центральных участков а на РШ и пластине одинаков, а размер b периферийных – на РШ меньше чем на пластине.
Для осуществления метода формируются знаки совмещения 1 и 2 (рис. 52). Знаки 1 – для совмещения по X и Y, а знаки 2 – по углу φz. Далее накладывают пластину на РШ до перекрытия знаков (погрешность менее (b-a)/2). Затем идет процесс грубой и точной ориентации.
По разности сигналов на фотоприемниках судят о рассовмещении (знаке и величине) по X, 5 и 6 – по Y, а 7 и 8 – по углу φz. Фотоприемники (ФП) устанавливаются так, чтобы регистрировать интенсивность симметричных максимумов дифракции. Полученные с ФП сигналы используют для управления приводами.
Однако наличие решеток на знаке приводит к тому, что к излучению от неперекры-тых участков прибавляется сигнал обусловленный интерференцией лучей. В результате основной сигнал модулируется синусоидальным сигналом с периодом равным d2.
Характер изменения сигналов для ФП 3 и 4 представлен на рис. 53.
рис. 53
При уменьшении величины рассовмещения сигнал I1 уменьшается, а сигнал I2 увеличивается. И они будут равны при рассовмещении равном 0. Совмещение осуществляют по средним сигналам I5 и I6. При их совпадении грубая ориентация прекращается, при этом погрешность не превосходит d1/2.
Далее идет первый этап точной ориентации по сигналам ФП:
9 и 10 – по X
11 и 12 – по Y
13 и 14 – по углу.
Анализируется сигнал каждой пары ФП и перемещают приводами РШ в сторону возрастания амплитуды сигнала.
Принцип обеспечивает совмещение с погрешностью до 1..2% от периода решетки центральных зон.
Второй этап точной ориентации производится аналогично, только используются периферийные участки.
По экспериментам, проведенным в [6] получены результаты: при начальном рассовмещении центров знаков менее 0,2 мм совмещения дают следующие погрешности:
- грубое - ±6 мкм,
- 1-ое точное - ±0,5 мкм,
- 2-ое точное - ±0,08 мкм.
8. Подложкодержатель.
8.1. Анализ методов крепления п/п пластин.
Из существующих видов литографического оборудования РЛС с точечным источником PИ наиболее критичны к расстоянию между РШ и пластиной, что связано с параллаксом изображения для данной оптической схемы. Фотолитографические установки совмещения и экспонирования осуществляют перенос изображения либо путем освещения рисунка шаблона параллельным потоком от источника излучения (ЭМ-576, г.Минск), либо созданием проекционной картины последнего на пластине с уменьшением в 5 или 10 крат (ЭМ-5В4, г.Минск). Современные объективы для получения линий в 1 мкм имеют апертуру 0,35 и глубину резкости 5 мкм при размерах поля экспонирования 10x10 мм. В этом случае, для сохранения разрешающей способности прогиб пластины должен находиться в пределах глубины резкости объектива. Пластина подается специальным загрузчиком, обычно представляющим собой транспортер из резиновых пассиков, пневмодорожку или механический захват, на позицию совмещения и экспонирования, где после предварительной ориентации по диаметру и срезу, она фиксируется на координатном столике вакуумной присоской. В столике выполнены концентричные канавки шириной около 1 мм, соединенные общим каналом с откачной системой установки. Поверхность столика обработана по Rz= 1,6 и имеет неплоскостность, не превышающую 5 мкм по всей опорной поверхности. Такое устройство обеспечивает усилие прижима 10
Па в зоне расположения вакуумных канавок. Распределенная по всей пластине удельная нагрузка в этом случае составляет (0,5-0,6). 10
Па, что достаточно для выравнивания пластины с вышеуказанной величиной прогиба. Применение такого устройства крепления возможно лишь в случае работы установки при атмосферном давлении внутри камеры экспонирования.
Для электронно-лучевых установок экспонирование резиста ведется в вакууме. Благодаря значительной глубине резкости и возможности управления электронным лучом в процессе экспонирования, прогиб пластины не является столь критичным. Крепление осуществляется механическими захватами, расположенными по периметру пластины, что позволяет фиксировать ее положение, но практически не влияет на величину неплоскостности. В данном случае, крепление механическими зажимами является возможным ввиду отсутствия шаблона.
В PJIC экспонирование происходит в вакууме 10-50 Па, при этом расстояние от РШ до пластины составляет 10-40 мкм, что исключает возможность механического крепления. Прогиб пластины оказывает весьма существенное влияние на положение репродуцируемого изображения, так как величина угловой расходимости рентгеновских лучей постоянна для оптической схемы установки. Устройство крепления полупроводниковой пластины должно удовлетворять следующим требованиям:
1) обеспечивать усилие прижима (0,6-0,8).10^5 Па равномерно по всей поверхности пластины;
2) предусматривать минимальное время на закрепление и съем;
3) не оказывать воздействия на технологический процесс изготовления ИC;
4) иметь минимальные габариты, быть простым по конструкции.
Одним из методов крепления пластины в РЛС является приклеивание ее задней поверхности к спутнику. Этот способ предусматривает изготовление специального устройства, на котором предварительно до загрузки в установку, устанавливается и фиксируется пластина. Спутник представляет собой прецизионную деталь с высокими точностными параметрами. В его рабочей поверхности, контактирующей с пластиной, изготовлен набор параллельных канавок, соединенных в общий канал. Операция приклеивания проводится на специальном стенде. Пластина выставляется по диаметру и срезу и занимает единственно возможное положение относительно поверхностей базирования спутника, которые определяют его расположение на координатном столике установки. Рабочая поверхность спутника покрывается тонким слоем резиста, обычно той же марки, что и на пластине. После этого на спутник кладут пластину, поджав ее к базовым упорам. Канал спутника соединяют через штуцер с откачной системой. При откачке воздуха из полостей, расположенных под пластиной, последняя распрямляется и выдерживается в таком положении до полного затвердевания резиста в точение 1-2 часов при комнатной температуре.
В таком состоянии пластина через шлюзовое устройство загружается в камеру экспонирования, где ее ориентация осуществляется по базовым поверхностям спутника. Сьем пластины происходит на этапе проявления резиста, при этом в канал спутника подается сжатый воздух для уменьшения времени отрыва.
Такой метод требует дополнительных устройств для его реализации и увеличи-вает время подготовительно-заключительных операций. Основным его недостатком является увеличение количества дефектов в ИС, привносимых в процессе приклеивания и снятия пластины, что ограничивает применение метода в промышленности.
Другим методом фиксации и выравнивания полупроводниковых пластин в вакууме является электростатический метод. Способ основан на притяжении двух разноименно заряженных пластин, разделенных тонким слоем диэлектрика. Возникающее при этом усилие может быть определено из выражения:
где
Ф/м - электрическая постоянная,
- относительная диэлектрическая проницаемость материала диэлектрика;
-площадь контакта;
- напряжение на пластинах;
- толщина диэлектрика.
Если в качестве одной из пластин использовать полупроводниковую подложку, а за другую взять поверхность металлического столика с нанесенным на нее диэлектрическим покрытием, то при подаче постоянного напряжения между столом и пластиной возникает усилие, обеспечивающее ее выравнивание при прижатии к столику.
Величина усилия пропорциональна квадрату подаваемого напряжения и обратно пропорциональна квадрату толщины диэлектрического покрытия. Существенное влияние на усилие прижима оказывает значение относительной диэлектрической проницаемости. Изменяя указанные параметры можно добиться значительного удельного усилия. Однако, важно установить диапазон этих изменений, а также факторы, ограничивающие пределы изменения того или иного параметра.
















