РПЗ (1058745), страница 4
Текст из файла (страница 4)
- производится на горячей плите
- время – 3-5 мин.
- температура – 120-140 ˚С.
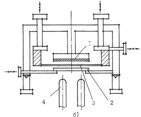
8). Контроль (рис. 38.). Процесс обычно автоматизирован.
Контролируются:
- минимальный размер элемента;
- совмещаемость;
- дефектность.
5. Влияние микрозазора на профиль распределения интенсивности
Из рассмотренных этапов особо выделим процесс экспонирования.
Всвязи с хрупкостью мембраны (шаблона) экспонирование ведется с гарантированным зазором. Этот микрозазор должен быть с одной стороны минимален. Чтобы уменьшить дифракционные эффекты, с другой стороны достаточным для избежания повреждения мембраны. Для определения оптимального зазора проведем расчет с использованием материалов [5]. Расчет будем производить в программе MathCAD для четырех значений зазоров (полный расчет приведен в приложениях).
Расчет для одномерного случая дал следующие результаты:
Для двумерного случая:
Также можно распространить формулы указанные в [5] на случай нескольких рядом расположенных окон откорректировав пределы интегрирования:
Формулы приведенные в [5] были распространены на случай двух окон за счет смены пределов интегрирования следующим образом:
Формула для распределения интенсивности:
Т. о. производился учет влияния соседних окон на распределение интенсивности в данном окне.
В лаборатории LILIT были получены экспериментальные результаты для экспонирования с нулевым зазором и 15 мкм зазором (рис. 39.).
Рис. 39.
Как видно расчетные результаты и эксперимент весьма схожи.
Исходя из расчетов и экспериментальных данных видно, что нет смысла вести экспонирование с зазорами превосходящими 15 мкм.
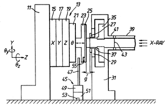
6. Установка совмещения и экспонирования (степпер).
В результате поисков по американскому патентному агентству [7], [8] были найдены лишь общие структурные схемы данных установок. Более подробную информацию о них получить не удалось. Пример таких схем представлен на рис. 40 и 41.
На рис. 42 представлена фотография степпера, использующегося в лаборатории LILIT.
Рис. 42.
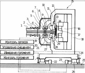
Также в отечественной литературе найден пример компоновки степпера. (рис. 43.).
Однако все схемы установок и отечественные, и иностранные объединяются наличием общих элементов. Основными элементами установки являются: система совмещения, подложкодержатель и привод точного перемещения.
Рис. 43.
7. Система совмещения.
В начале данного раздела следует провести анализ методов совмещения для рентгенолитографических систем (далее РЛС). Данный анализ проведен в [6].
7.1. Анализ методов совмещения для РЛС.
В каждой системе совмещения с зазором существуют шесть степеней свободы, которые необходимо контролировать: два горизонтальных перемещения в перпендикулярных направлениях и вращение в плоскости, параллельной плоскостям рентгеношаблона (далее РШ) и пластины, а также зазор между PШ и пластиной и два вращения, которые определяют наклон шаблона относительно пластины.
Практически все используемые в литографическом оборудовании методы совмещения применимы только для оптически прозрачных шаблонов. Это приводит к необходимости создания достаточно прозрачной к видимому излучению мембраны РШ, либо разработке новых методов совмещения.
Целью анализа является выявление принципов, заложенных в существующих системах совмещения, и возможности их использования в устройствах совмещения для РЛС.
Все методы, применимые к оборудованию РЛ можно разделить на два больших класса: пригодных для оптически непрозрачных и прозрачных шаблонов.
Для оптически непрозрачных PШ разработан метод, основанный на регистрации вторичных рентгеновских лучей (рис. 44), в котором рентгеновское излучение (РИ), проходя прозрачное для него окно в мембране РШ, попадает на метку, сформированную на пластине. При взаимодействии с меткой возникает вторичное РИ, регистрируемое датчиком, изготовленным в РШ на основе р-н перехода. Основным недостат-
ком способа является низкий контраст знака, что не позволяет получать погрешность ниже ±0, 35 мкм. Предложены другие аналогичные методы, в которых регистрируются вторичные электроны, испускаемые меткой пластины, либо жесткое РИ, прошедшее через знак пластины.
Фирмой Perkin-Elmer был разработан метод (рис. 45), основанный на оптическом совмещении по промежуточному стандартному образцу. Совмещение осуществляется со стандартным образцам поочередно пластины и РШ и ведется по 6 степеням свободы с
помощью горизонтальных и вертикальных механизмов перемещения.
| Рис. 44. 1-рентгеновские лучи, 2-РЗ шаблона, 3-шаблон, 4-РЗ пластины,5-пластина, 6-датчик вторичного излучения | Рис. 45. Методы совмещения для оптически непрозрачных шаблонов: А). -по вторичному излучению; Б). -по промежуточному образцу; 1-шаблон,2-пластина,3-промежуточный стандартный образец,4-микроскоп |
Положение пластины контролируется тремя оптическими каналами. Вертикальное совмещение регистрируется интерферометром, позволяющим определить осевое смещение в пределах +1 мкм. Погрешность совмещения системы +0,25 мкм.
Значительно шире диапазон методов, применяемых для оптически прозрачных PШ. В первую очередь к ним следует отнести фотометрические методы, основанные на регистрации оптической оси высокононтрастных реперных знаков (РЗ). Эти методы имеют более высокую точность, так как основаны на использовании фотоэлектрического детектора, имеющего большую глубину резкости.
На рис. 46. изображен способ, в котором положение РЗ определяется при поочередном их сканировании и регистрации отраженного излучения фотоприемниками. Положение сканатора контролируется интерферометром. Таким образом, промежуток между сигналами РЗ заполнен импульсами интерферометра, что позволяет с высокой точностью определить расстояние между ними (рис. 47).
В ряде систем контролируется не расстояние между знаками, а совпадение их оптических осей. В этом случае сканатор отсутствует, а знак шаблона имеет такую структуру, чтобы отраженный от знака пластины свет имел максимальную интенсивность только при совпадении оптических осей знаков. При этом, для увеличения контраста сигнала, знак пластины изготавливают путем травления канавок определенной формы в поверхности кремния, а элементы знака представляют собой набор дифракционных элементов, что, при наблюдении сигнала в максимумах дифракции, позволяет снизить уровень фоновой составляющей.
| Рис. 46 1-шаблон, 2-РЗ шаблона, 3-пластина, 4-сканатор, 5-зеркало, 6-луч лазера, 7- фотоприемник, 8- интерферометр, 9-РЗ пластины. | Рис. 47. |
Фотоэлектрические методы имеют погрешность +0,2 мкм, что связано с уходом оптической оси РЗ в процессе технологической обработки пластины, а также из-за погрешностей, вносимых оптической системой фотоэлектрического микроскопа.
Устранить указанные недостатки позволяют методы, получившие название интерферометрических.
В одном из них в качестве РЗ используют дифракционные периодические структуры (рис.48). Метод заключается в следующем. Луч монохроматического излучения, проходя через оптически прозрачный участок РШ, частично отражатся от сформированного на нем РЗ. Другая часть луча отражается от знака пластины. При отражении от знаков, происходит перераспределение интенсивности излучения по дифракционным максимумам, Дифракционные решетки знаков шаблона и пластины имеют одинаковый период d1=d2=d , вследствие чего направления их дифракционных максимумов совпадают. Фотоприемники, установленные в симметричных максимумах дифракции, регистрируют интерференционную картину, являющуюся следствием сложения лучей, дифрагировавших в данный максимум от знаков шаблона и пластины. Разность фаз интерферирующих лучей определяется относительным смещением решеток знаков и имеет вид: Δφ=2·π·N·(Δx/d), где Δx - относительное смещение решеток, d - период решеток, N- порядок дифракционного максимума. Интенсивности сигналов на фотоприемниках одинаковы в том случае, когда относительные базы отраженных лучей, дифрагировавших в положительный максимум, равны относительным фазам лучей соответствующего отрицательного максимума. Это будет наблюдаться при полном совмещении знаков РШ и пластины. Погрешность совмещения может быть доведена до ±0,02 мкм.
В другом методе в качестве РЗ используют зонную пластину Френеля (рис. 49). Зонная пластина Френеля (ЗПФ) является двухмерным аналогом оптической линзы и может быть как круговой (фокусирующей параллельный пучок в точку), так и линейной (фокус имеет вид линии). Метка совмещения пластины располагается на фокусном расстоянии ЗПФ от PШ и представляет собой линию, ширина, которой несколько больше размера наименьшего элемента в зонной пластине.
| Рис. 48. Схема метода (а) и вид реперного знака (б): 1-лазер, 2-шаблон, 3-РЗ шаблона, 4-пластина, 5-РЗ пластины, 6-фотоприемники, 7- усилитель, 8-привод обратной связи. | Рис. 49. ЗПФ: 1-знак шаблона, 2-РЗ пластины, 3-ФД, 4-лазер, 5-усилитель, 6-привод, 7-зеркало. |
При освещении знака параллельным пучком монохроматического света, последний, дифрагируя на элементах ЗПФ, фокусируется в линию (для линейного знака). В случае совпадения фокусного пятна с меткой пластины на фотоприемниках вырабатывается сигнал, соответствующий положению совмещения. Для повышения контрастности сигнала метку пластины выполняют в виде дифракционной периодической структуры, а фотодиоды (ФД) устанавливают в направлении симметричных максимумов дифракции.
Погрешность совмещения данным методом составляет ±0,05 мкм. Однако, для получения высоких точностей требуется изготавливать знак с большим количеством зон. Расстояние от центра знака до n -ой зоны Френеля определяется выражением:
















