Электропривод на базе асинхронных двигателей (1055410), страница 5
Текст из файла (страница 5)
Обмотка статора при пуске включается на полное напряжение сети.
Достоинство: наиболее простой способ пуска.
Недостаток: при прямом пуске пусковой ток АД может в 5÷7 раз превышать номинальное значение тока [24].
Когда пусковые токи АД не вызывают недопустимо больших падений напряжения в сети (не более 10%) прямой пуск вполне возможен.
Современные (1966) АД с короткозамкнутым ротором проектируются с таким расчетом, чтобы они по условиям нагрева обмоток допускали прямой пуск [14].
Современные (1966) энергетические системы, сети и сетевые трансформаторные подстанции обычно имеют такие мощности, что в подавляющем большинстве случаев возможен прямой пуск асинхронных двигателей [14].
При работе от маломощных сетей или при пуске двигателей большой мощности прямого пуска следует избегать [24].
3.11.5.2. Пуск при пониженном напряжении.
Понижение напряжения производится с помощью:
- пусковых реакторов [14].
- понижающего автотрансформатора (реже) [14];
- изменения схемы соединения фаз обмотки статора [14].
При включении реактора или автотрансформатора уменьшение пускового тока приблизительно пропорционально уменьшению напряжения [25]. Вместе с тем, пропорционально квадрату тока (напряжения) будет уменьшен пусковой момент, что является недостатком пуска при пониженном напряжении [14].
Поэтому данный способ применим только при легких условиях пуска, когда возможен пуск АД на холостом ходу или под неполной нагрузкой. Необходимость пуска при пониженном напряжении встречается чаще всего в случае мощных высоковольтных двигателей [14].
При переключении схемы соединения фаз обмотки статора:
| Рис. 7. Схема переключения обмотки [25] | В период пуска обмотки статора АД соединяются в "звезду", а в номинальном режиме - в "треугольник". Как известно, при соединении в "звезду" на каждую фазу приходится напряжение в sqrt(3) раз меньшее, чем при соединении в треугольник. При этом в 3 раза меньшим будет и пусковой момент и пусковой ток [27,25]. Это обуславливает уменьшение фазных токов в sqrt(3) раз и линейных токов в 3 раза [32]. Для реализации этого способа необходимо, чтобы были выведены все шесть концов фаз. Кроме того, недостатком этого способа пуска является то, что при переключении фаз цепь АД разрывается, что сопровождается коммутационными перенапряжениями. Этот способ применялся при пуске низковольтных двигателей, однако с увеличением мощности сетей стал использоваться редко [14]. |
При тяжелых условиях пуска короткозамкнутый АД обычного исполнения может не развивать достаточного пускового момента даже при прямом пуске с номинальным напряжением. В этих случаях применяют АД с фазным ротором или короткозамкнутые АД с ротором специального исполнения – глубокопазным или двухклеточным.
3.11.5.3. Глубокопазные короткозамкнутые АД
| Рис. 8. Вытеснение тока в проводнике, находящемся в глубоком пазу: а — картина поля; | Увеличение активного сопротивления ротора при пуске, необходимое для улучшения пусковых свойств, достигается за счет явления вытеснения тока в стержнях обмотки ротора, обусловленное пазовыми потоками рассеяния (показаны на рис.8 пунктиром). Вытеснение тока к поверхности ротора происходит из-за неодинакового индуктивного сопротивления рассеяния слоев проводника по высоте паза. На рис.8 линии магнитной индукции показывают пути потоков рассеяния. Все они проходят под дном паза (там магнитная проводимость выше) и пересекают паз на разной высоте. Как видим, элементарные слои проводника сцеплены с разным потоком рассеяния: значение потокосцепления рассеяния э больше для слоев, расположенных внизу паза и меньше для слоев, расположенных ближе к поверхности ротора. |
Как следствие, индуктивность элементарного слоя (Lэ = э/Iэ) для нижних слоев в несколько раз больше индуктивности верхних слоев. Индуктивное сопротивление слоев стержня хэ = 2πf2Lэ = 2πsf1Lэ.
Распределение тока между верхними и нижними слоями определяется их полными сопротивлениями
При пуске, когда скольжение близко к единице и частота токов в обмотке ротора равна частоте токов в обмотке статора, индуктивное сопротивление xэ > Rэ и играет существенную роль. В элементарных частях проводника в глубине паза оно оказывается столь значительным, что токи по ним практически не текут. При этом в элементарных частях верхних слоев проводника, плотность тока будет больше, чем в нижних слоях (рис. 8б). Происходит эффект оттеснения тока к поверхностным слоям проводника беличьей клетки. Площадь активного сечения стержней обмотки ротора становится меньше их геометрической площади, что эквивалентно увеличению активного сопротивления фазы обмотки ротора R=l/S. Это приводит к увеличению пускового момента двигателя.
По мере возрастания скорости вращения ротора скольжение и частота тока в обмотке ротора уменьшается. Одновременно уменьшается и индуктивное сопротивление элементарных частей проводника. При номинальной скорости вращения xэ << Rэ, сопротивление элементарных частей стержня определяется, главным образом, активным сопротивлением, независящим от глубины расположения слоя проводника, и плотность тока обмотки ротора становится практически равномерной по сечению проводника. Площадь активного сечения стержней обмотки ротора при этом равна их геометрической площади, а общее активное сопротивление проводника – меньше активного сопротивления при пуске.
Интенсивность вытеснения тока зависит от отношения ширину к высоте паза и размеров его прорези [25].
Высота стержней из алюминия выбирается 40-60 мм, что позволяет получить при частоте 50 Гц 3-4 кратное увеличение сопротивления при пуске [13].
Глубокопазный АД обычно имеет Мп/Мном=1,1...2,0 и Iп/Iном=4...6 [25].
Область применения
Используются в электроприводе малой мощности, при кратковременном режиме работы или при наличии интенсивной вентиляции.
3.11.5.4. Короткозамкнутый АД с обмоткой ротора с повышенным удельным сопротивлением
В двигателях длительного режима работы большой мощности для получения необходимых пусковых моментов приходится увеличивать сопротивление ротора путем выполнения беличьей клетки из материала, имеющего большое удельное сопротивление.
3.11.5.5. Двухклеточный короткозамкнутый АД
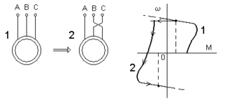
Обмотку ротора выполняют в виде двойной беличьей клетки (предложена Михаилом Доливо-Добровольским).
|
Рис. 9. Пазы ротора с двойной клеткой [25] | Рис. 10. Механическая характеристика АД с двойной беличьей клеткой: М1 - момент, создаваемый пусковой обмоткой ротора; М2 – момент, создаваемый рабочей обмоткой [25] |
Внешняя часть обмотки называется пусковой. При конструкции, изображенной на рис. 9а и 9б, когда возможно отдельное изготовление двух частей обмоток, пусковая клетка выполняется из материала с повышенным удельным сопротивлением (как правило, из латуни – сплава меди с цинком) и дополнительно часто имеет и меньшее сечение. Все это обуславливает большое активное сопротивление пусковой клетки.
Внутренняя часть обмотки называется рабочей. Изготовляется из материала, имеющего меньшее удельное сопротивление (медь).
Из технологических соображений двухклеточную обмотку ротора обычно выполняют путем заливки в пазы алюминия и обе обмотки представляют собой единое целое (рис. 6в).
При пуске ток по тем же причинам, что и в двигателе с глубокими пазами, протекает, главным образом, в стержнях внешней "клетки". Так как активное сопротивление пусковой "клетки" повышенное, это обеспечивает высокий пусковой момент. При номинальной скорости ток ротора между обмотками распределяется обратно пропорционально их активным сопротивлениям и протекает, главным образом, в стержнях рабочей "клетки".
Отметим, что индуктивное сопротивление рассеяния обмотки ротора вследствие специфичности обмотки у рассматриваемых двигателей выше, чем у двигателей обычного исполнения. Это приводит к снижению коэффициента мощности (на 4-6%) и перегрузочной способности двигателя (на 15-25%) в номинальном режиме [13].
Двигатель с двойной беличьей клеткой обычно имеет Мп/Мном=1,1...3,0 и Iп/Iном=3...6 [25].
3.12. Реверсирование (изменение направления вращения на обратное).
Осуществляется путем изменения порядка чередования фаз обмотки статора.
Рис. 11. Изменение чередования фаз при реверсе [20]
3.13. Регулирование угловой скорости трехфазного АД.
Многие механизмы и агрегаты летательных аппаратов, приводимые в движение электродвигателями должны работать с переменной частотой вращения, например, топливные насосы [27].
Как следует из формулы =2f1/p*(1-s), угловая скорость АД может быть изменена следующим образом:
- за счет изменения угловой скорости магнитного поля статора 0=2f1/p посредством:
--- изменения числа пар полюсов p;
--- изменения частоты напряжения статора f1.
- за счет изменения скольжения s посредством:
--- изменения активного сопротивления цепи ротора Rрц (в АД с фазным ротором);
--- изменения напряжения статора U1;
--- изменения индуктивного сопротивления цепи ротора xрц [38] при введении в цепь ротора добавочной регулируемой ЭДС (в АД с фазным ротором). Такая система называется асинхронный вентильный каскад [36].
--- в двигателях двойного питания [40].
Последние два способа применяют достаточно редко. В настоящем разделе не рассматривается
При регулировании частоты вращения асинхронного двигателя необходимо учитывать, что при уменьшении частоты вращения ухудшаются условия охлаждения статора и ротора. Это проявляется особенно сильно в самовентилируемых двигателях, длительная мощность которых снижается при уменьшении частоты вращения [36].
3.13.1. Регулирование угловой скорости АД с фазным ротором путем изменения сопротивления в цепи ротора Rрц = R2+Rдоб (реостатное регулирование).
Осуществляется введением добавочного сопротивления Rдоб в каждую фазу обмотки ротора.
Рис. 12. Схема (а) и механические характеристики АД при реостатном регулировании [40,33]
Наряду с улучшением пусковых свойств АД с фазным ротором, о котором говорилось выше, изменение Rдоб применяется при регулировании установившейся скорости вращения.
По добавочным резисторам в этом случае длительно протекает полный ток ротора, поэтому регулировочный реостат имеет большие размеры, чем пусковой, чтобы получилась достаточная поверхность охлаждения для рассеяния тепла, образующегося в реостате [18].
3.13.1.1. Принцип регулирования
При включении Rдоб ток в роторе уменьшается, что вызовет снижение вращающего момента двигателя, и, следовательно, уменьшение частоты вращения (увеличение скольжения). При увеличении скольжения (частоты перемагничивания) увеличивается ЭДС и ток в роторе, а также создаваемый АД вращающий момент. Новый установившийся режим наступит, когда момент (и ток ротора) АД примет исходное значение (при котором М=Мс), но уже при пониженной частоте вращения.
















