РПЗ ТНУ03-02 (1052927)
Текст из файла
Министерство высшего и среднего специального образования Российской Федерации
Московский ордена Ленина, ордена Октябрьской Революции и ордена Трудового Красного Знамени
ГОСУДАРСТВЕННЫЙ ТЕХНИЧЕСКИЙ УНИВЕРСИТЕТ имени Н. Э. БАУМАНА
ФАКУЛЬТЕТ РК (Робототехника и комплексная автоматизация)
КАФЕДРА РК3(Детали машин)
РАСЧЕТНО-ПОЯСНИТЕЛЬНАЯ ЗАПИСКА
К КУРСОВОМУ ПРОЕКТУ НА ТЕМУ:
Разработка конструкции
консольного настенного поворотного крана
Студент ( ) Группа
(фамилия, инициалы) (индекс)
Руководитель проекта (фамилия, инициалы)
Оглавление
ВВЕДЕНИЕ 4
1 Механизм подъема 5
1.1 Схема полиспаста 5
1.2 Двигатель 5
1.3 Канат 6
1.4 Барабан 6
1.5 Передаточное отношение привода. 8
1.6 Редуктор. 9
1.7 Тормоз. 10
1.8 Выбор муфты. 10
1.9 Блоки. 11
1.9.1 Размеры блоков 11
1.9.2 Расчет подшипников блока 12
1.10 Крюковая подвеска. 13
2 Расчет металлоконструкции. 14
2.1 Определение основных размеров 14
2.2 Проверка статического прогиба. 15
2.2.1 Фактический прогиб 16
2.3 Определение веса металлоконструкции. 16
2.4 Проверка времени затухания колебаний. 17
2.5 Проверка прочности. 17
3 Механизм поворота. 19
3.1 Исходные данные: 19
3.2 Поворотная часть. 19
3.3 Нагрузка на опорные узлы. 20
3.4 Предварительный расчет зубчатой передачи 20
3.5 Выбор электродвигателя. 21
3.5.1 Передаточное отношение привода: 21
3.5.2 Приведенный момент инерции 21
3.5.3 Расчет необходимой мощности двигателя 22
3.5.4 Коррекция предварительных расчетов. 23
3.6 Редуктор. 24
3.6.1 Данные для расчета редуктора на ЭВМ 25
3.7 Расчет на нагрев. 25
3.8 Тормоз. 25
3.9 Муфта. 26
3.10 Проверочный расчет открытой зубчатой передачи. 27
3.10.1 Материал зубчатых колес 27
3.10.2 Допускаемые напряжения при контакте 27
3.10.3 Допускаемые напряжения изгиба 27
3.10.4 Расчет на контактную прочность 28
3.10.5 Проверочный расчет на изгибную прочность 29
4 Расчет опорных узлов. 30
4.1 Расчет болтового соединения крепления крана к стене. 30
4.2 Расчет подшипников опорных узлов. 32
4.2.1 Верхняя опора 32
4.2.2 Нижняя опора 33
5 Расчет соединений. 35
5.1 Шлицевое соединения. 35
ВВЕДЕНИЕ
В данном курсовом проекте предлагается разработать консольный неполноповоротный кран с постоянным вылетом, который состоит из механизма подъема, механизма поворота, металлоконструкции. Кран крепится к стене.
Консольный неполноповоротный кран применяют для проведения подъемно-транспортных работ в производственных помещениях, цехах и на открытом воздухе при обслуживании технологического оборудования и пр. Кран представляет собой подвижную колонну со стрелой. Управление краном осуществляется с пульта управления на уровне 1,5 м до пола.
Технические требования:
Типовой режим работы – 2М;
Электропитание от сети переменного 3-х фазного тока с частотой 50 Гц и напряжением 380 (220) В;
Необходимо разработать:
Общий вид крана;
Механизм подъема;
Механизм поворота;
Металлоконструкцию;
Спецификации и расчетно-пояснительную записку.
Исходные данные для расчета:
Грузоподъемность FQ = 0,8 кН;
Скорость подъема Vп = 10 м/мин;
Частота вращения крана Vпов = 2,0 об/мин;
Высота подъема H = 3,2 м;
Вылет стрелы Lmax = 4 м;
-
Механизм подъема
Исходные данные:
Грузоподъемная сила
Скорость подъема
Высота подъема
Режим работы 2М
Машинное время
ПВ=15 по таблице 2
-
Схема полиспаста
Т.к. механизм подъема расположен на стреле, рациональной является двухбарабанная схема с глобоидным редуктором при сдвоенном полиспасте(m=2). Схема подъема
КПД полиспаста и отклоняющих блоков
,
где
КПД блока;
кратность полиспаста;
число отклоняющих блоков;
число полиспастов на КПД не влияет.
-
Двигатель
Мощность (кВт) при подъеме номинального груза весом FQ (Н) с установившейся скоростью V (м/мин) статическая мощность
,
где
.
Предварительно значения коэффициентов полезного действия принимают
при зубчатом редукторе.
Pст=
кВт
Будем использовать двигатель типа 4АС (трехфазные, асинхронные повышенного скольжения).
Синхронная частота nс=1500 мин-1 наиболее рациональная и предпочтительная.
По каталогу выбираем двигатель согласно рассчитанной мощности при заданной продолжительности включения (ПВ=15)
4АС80А4У3:
.
-
Канат
Наибольшая сила натяжения в канате
.
Тип каната выбирают по ГОСТ 2688-80.
Рекомендуемый предел прочности материала проволок В=1600…1800 Н/мм2.
Выбор размера каната, т.е. его диаметра dкан , проводят по разрушающей нагрузке. Разрушающая нагрузка каната должна удовлетворять условию Fразр KFmax. Коэффициент запаса прочности К=5 в соответствии с режимом работы.
.
Выбран канат двойной свивки типа ЛК-Р по ГОСТу 2688-80:
;
; группа 1568(160).
-
Барабан
Диаметр барабана по дну канавки
, где
– коэффициент, принятый в зависимости от режима работы и типа крана.
.
Принимаем диаметр барабана по стандартному ряду чисел Ra40
.
Т.к. применен сдвоенный полиспаст, с двумя барабанами, то размеры каждого из них и их взаимное положение определяют исходя из условия непривышения допустимого угла (3) между осью каната и касательной к оси винтовой канавки.
Длина барабана
,
где
расстояние до начала нарезки;
длина рабочей части барабана;
число рабочих витков;
высота подъема;
длина части барабана, на которой размещаются разгружающие витки;
длина части барабана, на которой размещается крепление каната;
шаг нарезки.
Принимаем шаг нарезки
; принимаем
.
Длинна барабана
Проверка барабана на прочность
Напряжениями изгиба и кручения в стенке барабана можно пренебречь.
Напряжения сжатия в стенке барабана
.Для стального барабана [сж]=110Н/мм2
примем толщину стенки барабана 8мм
сж=
МПа 110МПа
-
Передаточное отношение привода.
Частота вращения барабана, мин-1
Необходимое передаточное отношение привода
i=
=
Ближайшее передаточное отношение стандартного коническо-цилиндрического редуктора равно 31,5.
Фактическая скорость подъема
Отклонение в пределах 10%, что допустимо.
-
Редуктор.
Наибольший момент на тихоходном валу редуктора
=
Момент на барабане, Нм
Энергетической характеристикой современного редуктора является номинальный момент
под которым понимается допустимый вращающий момент ни тихоходном валу при постоянной нагрузке и числе циклов нагружений лимитирующего зубчатого колеса, равном базовому числу циклов контактных напряжений NHG. Номинальный вращающий момент на выходном валу выбранного редуктора должен удовлетворять условию
,
где
- эквивалентный момент
.
наибольший вращающий момент на тихоходном валу редуктора при нормально протекающем технологическом процессе.
Для коническо-цилиндрических редукторов
Число циклов наиболее нагруженного колеса (шестерня тихоходной ступени редуктора)
Коэффициент долговечности
Эквивалентный момент
Выбираем редуктор по ГОСТу 21164-75 типа КЦ-125 с передаточным числом 31.5 и Т=500Нм. Допустимая радиальная нагрузка на вал Fном = 5600Н
Коэффициент долговечности для червячных и глобоидных редукторов:
- для t = 2000ч и режима работы 2М
Так как на тихоходном валу размещены 2 барабана, то можно записать:
где Fмах – наибольшая сила натяжения каната на барабане.
- условие выполняется, оставляем выбранный редуктор.
-
Тормоз.
Тип тормоза для режима 2М ТКП или ТКГ. Необходимый момент тормоза Tm=kmTгр.
коэффициент запаса торможения;
для режима работы 2М
Определение требуемого момента тормоза:
Грузовой момент на валу тормозного шкива
где
КПД при подъеме
Выбираем ТКП200/100 с
-
Выбор муфты.
Тормоз установлен между двигателем и редуктором, поэтому тормозной шкив рационально выполнять за одно с муфтой.
Нормализованную муфту выбираем в соответствии с условиями
;
где d- диаметр вала;
-наибольший допустимый диаметр отверстия в полумуфте или втулке;
- номинальный момент муфты ( по каталогу);
- наибольший момент, передаваемый муфтой. Так как выбран тормоз ТКП 200/100 диаметр тормозного шкива муфты должен быть равен 200мм
Упругие элементы проверяют на смятие в предположении равномерного распределения нагрузки между пальцами
где Тк – вращающий момент, Нм;
dп-диаметр пальца, мм;
lвт-длина упругого элемента, мм
Пальцы муфты изготавливают из стали 45 и рассчитывают на изгиб:
Допускаемые напряжения изгиба
, где т-предел текучести материала пальца, МПа; Зазор между полумуфтами С=3…5мм
Из атласа по ПТМ выбираем упругую втулочно-пальцевую муфту с тормозным шкивом Dt=200мм с пальцами d=10мм выдерживающими нагрузку до 130Нм.
-
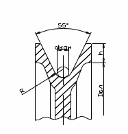
Блоки.
-
Размеры блоков
-
Диаметр блока по дну ручья
Целесообразно диаметр блока принимать на 25% больше, чем получилось. Принимаем
Dбл=140мм
Характеристики
Тип файла документ
Документы такого типа открываются такими программами, как Microsoft Office Word на компьютерах Windows, Apple Pages на компьютерах Mac, Open Office - бесплатная альтернатива на различных платформах, в том числе Linux. Наиболее простым и современным решением будут Google документы, так как открываются онлайн без скачивания прямо в браузере на любой платформе. Существуют российские качественные аналоги, например от Яндекса.
Будьте внимательны на мобильных устройствах, так как там используются упрощённый функционал даже в официальном приложении от Microsoft, поэтому для просмотра скачивайте PDF-версию. А если нужно редактировать файл, то используйте оригинальный файл.
Файлы такого типа обычно разбиты на страницы, а текст может быть форматированным (жирный, курсив, выбор шрифта, таблицы и т.п.), а также в него можно добавлять изображения. Формат идеально подходит для рефератов, докладов и РПЗ курсовых проектов, которые необходимо распечатать. Кстати перед печатью также сохраняйте файл в PDF, так как принтер может начудить со шрифтами.
















