Поясн. записка_Понамарёв RTF (1052724), страница 6
Текст из файла (страница 6)
Рисунок 3.7 Схема сектора 6.
Объём сектора 4 найдём по формуле (3.3).
Площадь средней трапеции
определим по формуле:
; (3.8)
где
- площадь боковой стороны сектора 6 на ПК9+60,
- площадь боковой стороны сектора 6 на ПК0+80.
находим по формуле (7),
=
=157,5
.
найдем по формуле:
; (3.9)
где d3 и d4 – соответственно верхнее и нижнее основание трапеции на ПК0+80,
Н3 – высота сектора на ПК0+80.
;
СЕКТОР 7
;
;
Рисунок 3.8. Схема сектора 7.
Объём сектора 7 найдём по формуле (3.3).
Площадь средней трапеции определяется по формуле:
; (3.10)
где d3 и d4 – соответственно верхнее и нижнее основание трапеции,
H3 - высота сектора.
;
;
3.1.2 Определение объёмов камнеулавливающей канавы
Вторым этапом определяем объёмы камнеулавливающей канавы, предварительно разбив её на пять секторов.
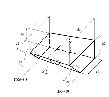
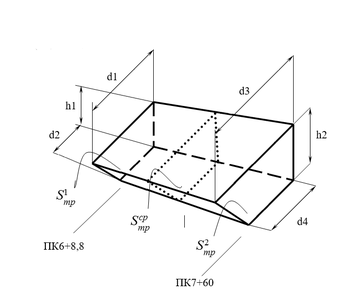
СЕКТОР 1.
Рисунок 3.9 - Схема сектора 1
Объём сектора 1 найдём по формуле (3.3).
Площадь средней трапеции
определим по формуле (28):
;
где
- площадь боковой стороны сектора 1 на ПК6+8,8,
- площадь боковой стороны сектора 1 на ПК7+60.
находим по формуле:
; (3.11)
где d1 и d42 – соответственно длинна верхнего и нижнего основание трапеции на ПК6+8.8
h1 – высота сектора на ПК6+8.8.
найдем по формуле:
; (3.12)
где d3 и d4 – соответственно длинна верхнего и нижнего основание трапеции на ПК7+60
h2 – высота сектора на ПК7+60.
;
;
;
.
СЕКТОР 2.
Объём сектора 2 определяется аналогично сектору 1, площадь средней трапеции находим по тем же формулам что и в секторе 1. Схема сектора 2 и буквенные обозначения оставляем те же самые, меняется только их значение и длина сектора.
;
;
;
Рисунок 3.10 - Схема сектора 2.
СЕКТОР 3.
Рисунок 3.11 - Схема сектора 3.
Объём сектора 3 найдём по формуле :
; (3.13)
где
- площадь трапеции сектора 3.
L – длина сектора 3.
Площадь трапеции
определим по формуле:
; (3.14)
где d1 и d2 – соответственно верхнее и нижнее основание трапеции,
h2 – высота сектора.
;
.
СЕКТОР 4.
Объём сектора 4 определяется аналогично сектору 1, площадь средней трапеции находим по тем же формулам что и в секторе 1. Схема сектора 4 и буквенные обозначения оставляем те же самые, меняется только их значение и длинна сектора.
Рисунок 3.12 - Схема сектора 4.
;
;
;
.
СЕКТОР 5.
Объём сектора 5 определяется аналогично сектору 3, площадь средней трапеции находим по тем же формулам что и в секторе 3. Схема сектора 5 и буквенные обозначения оставляем те же самые, меняется только их значение и длинна сектора.
Рисунок 3.13 - Схема сектора 5.
Объём сектора 5 найдём по формуле (3.13):
;
где
- площадь трапеции сектора 5.
L – длина сектора 5.
Площадь трапеции
определим по формуле (34)
;
где d1 и d2 – соответственно верхнее и нижнее основание трапеции,
h2 – высота сектора.
;
.
| Таблица 3.1 - Ведомость объёмов работ | ||
| № сектора | ПК | Объём |
| тело выемки | ||
| 1 | 2 | 3 |
| 1 | ПК6+60 - ПК7+60 | 440 |
| 2 | ПК7+60 - ПК7+80 | 88 |
| 3 | ПК7+80 - ПК8+00 | 277,5 |
| 4 | ПК8+00 - ПК8+80 | 6970 |
| 5 | ПК8+80 - ПК9+60 | 12600 |
| 6 | ПК9+60 - ПК0+80 | 11865 |
| 7 | ПК0+80 - ПК1+00 | 402,5 |
| Итого | 32643 | |
| Камнеулавливающая канава | ||
| 1 | ПК6+8,8 - ПК7+60 | 245,7 |
| 2 | ПК7+60 - ПК8+40 | 268,3 |
| 3 | ПК8+40 - ПК9+80 | 665 |
| 4 | ПК9+80 - КМ47+00 | 56,88 |
| 5 | КМ47+00 - ПК1+00 | 94 |
| Итого | 1329,88 | |
| ИТОГО | 33972,88 | |
3.2 Проектирование буровзрывных работ
3.2.1 Выбор технологической схемы разработки скальной выемки
При рыхлении пород для разработки скальных железнодорожных выемок. Наиболее широко применяют скважинные заряды. Шпуровые заряды применяют при планировочных и зачистных работах, отработке зачистного слоя, дробление негабарита и т.д. При проектировании следует стремиться к максимальному сокращению объёмов породы, взрываемых шпуровыми зарядами, так как затраты труда при этом возрастают в 4-5 раз по сравнению со скважинным методом.
Разработку и погрузку взорванной породы осуществляем экскаваторами – прямая лопата с ковшом 1,0 метр кубический. Разрабатываемый грунт относится к VIII группе.
К степени дробления взорванной массы предъявляем следующие требования: габаритный кусок породы не должен превышать 2/3 ширины ковша прямой лопаты. Выход негабарита при рыхлении грунта зависит от выбранного метода ведения взрывных работ и ёмкости ковша экскаватора, в нашем случае он равен 15%.
Для получения проектного очертания выемки и максимального снижения объёма подчистных работ при разработке выемки высота взрываемого слоя породы должна быть не более 8 метров.
Первым этапом подготовим технологическую площадку для работы буровой машины. Для этого потребуется отбойка выступов и уположение уклонов на поверхности разрабатываемого массива методом шпуровых зарядов. Объём взрываемого грунта, требуемого для выравнивания технологической площадки, незначителен (10 - 15
), а точные геометрические параметры взрываемых выступов и неровностей не известны. Исходя из выше изложенного, делаю вывод, что расчет буровзрывных работ на расчистку технологической полки в данном проекте делать не целесообразно и невозможно. Все расчеты производит мастер взрывных работ непосредственно на строительном объекте.
Вторым и третьим этапом выполняем разработку соответственно первого и второго яруса разрабатываемого массива (рисунок 3.14). Разработку ведем взрыванием на рыхление, методом скважинных зарядов. Расчет буровзрывных работ на этих этапах приведен ниже.
Ч
етвертым этапом ведется разработка камнеулавливающей траншеи (рисунок 3.14) методом шпуровых зарядов. Расчет буровзрывных работ изложен ниже.
Рисунок 3.14 - Схема поярусной разработки скального массива.
3.2.2 Вид и удельный расход взрывчатого вещества
Повышению полезной работы взрыва способствует правильный выбор ВВ. При выборе ВВ следует учитывать физико-механические свойства взрываемых горных пород, наличие грунтовых вод, характеристики ВВ и возможность механизации заряжения подготовительных выработок.
Для производства взрывных работ в строительстве могут применяться ВВ I и II классов.
Для взрывания на рыхление скальных пород VIII группы и механизированного пневмозаряжания используем ВВ гранулит АС-8В. гранулит АС-8В относится к первому классу ВВ; относительно водоустойчив, не теряет своих свойств в течении 2-4 часов; упакован в мешки с полиэтиленовым вкладышем; плотность заряжания 0,98
.
Основным параметрам, характеризующим эффективность использования ВВ при производстве взрывных работ, является расчетный удельный расход
.
Величина
определяется по удельному расходу эталонного ВВ (
), в качестве которого используют аммонит №6 ЖВ,
=0,5
.
; (3.15)
где Квв – переводной коэффициент (0,9).
.
3.2.3 Диаметр скважины и тип бурового станка
Диаметр скважины определяет остальные параметры буровзрывных работ. При этом необходимо учитывать, что при зарядах малого диаметра степень дробления пород выше, чем при взрывах зарядов большого диаметра.
Экономическая целесообразность применения скважин различного диаметра определяется стоимостью и производительностью бурения станков различного диаметра. По этим показателям – преимущество за станками большого диаметра. Таким образом, выбор диаметра скважин означает выбор бурового оборудования.
С учетом изложенного диаметр скважины (мм), отвечающий условию равенства производительности бурового станка и экскаватора (по горной массе) определим по формуле:
; (3.16)
где d – диаметр скважины, мм;















