LAB#2 (1051634)
Текст из файла
Работа №2. Исследование характеристик активной турбины на однофазном рабочем теле
Цель работы – исследовать энергетические харктеристики турбины, т.е. установить зависимость работы, крутящего момента, мощности, к.п.д. турбины или производных от них величин от какого-либо независимого параметра, определяющего режим турбины.
Необходимость построения характеристики турбины вызвана тем, что турбина в составе турбонасосного агрегата работает на различных режимах – от запуска до останова, т.е. ее параметры могут меняться в широком диапазоне.
Наиболее распространненой харктеристикой турбины является зависимость к.п.д. от отношения u/c1 или u/cад . Эта характеристика дает возможность оценить качество турбины, особенно качество ее проточной части, и позволяет выбрать оптимальные эксплуатационные параметры, характеризующие эффективность турбины.
Характеристики турбины могут быть получены как теоретическим, так и опытным путем. Однако наиболее достоверным являются характеристики, определенные экспериментально на специальных установках, так как построение характеристики теоретическим способом связано с рядом допущений. Наиболее трудным вопросом при построении теоретической характеристикой является оценка потерь при переменных режимах.
При экспериментальном исследовании характеристик турбин могут быть применены различные типы испытаний:
-
Натурные испытания.
-
Модельные испытания, которые в свою очередь подразделяются на два вида:
А) испытания моделей турбин,
Б) модельные испытания натурных турбин.
В настоящее время большое внимание уделяется испытаниям натурных турбин на модельных газах – воздухе, холодном или подогретом, тяжелых газах. Такая замена рабочего тела дает большую экономию и обеспечивает безопасность при работе на стенде.
Основные теоретические положения
В результате испытания на стенде можно оценить эффективность турбины, построив баланс ее работы, включающий потери на разных режимах, в зависимости от отношения скоростей u/c1, где u – постоянная скорость на среднем диаметре лопаточного венца турбины, c1 - скорость истечения газа из сопла турбины.
Баланс работы турбины можно записать следующим образом:
Lт = Lад - L - L - Lc - Lтр.д.- Lтр.б. - L - Lут –Lмех,
Где Lт – эффективная работа турбины (работа на валу); Lад – располагаемая работа газа; L - потери энергии в сопловом аппарате; L - потери энергии в каналах рабочего колеса; Lc – потери энергии с выходной скоростью; Lтр.д. – потери на трение диска; Lтр.б. – потери на трение бандажа, L - потери энергии из-за парциальности; Lут – потери из-за утечек в зазорах; Lмех – механические потери в подшипниках и уплотнениях.
Р
асполагаемая Lад - это максимально возможная работа турбины без потерь, которая эквивалентна адиабатическому перепаду тепла от начальных параметров газа в заторможенном состоянии ( , ) до статического давления p2,
где k и R – показатель адиабаты и газовая постоянная рабочего тела турбины.
На рис.1 показан процесс расширения газа в ступени активной турбины, в которой весь адиабатический теплоперепад срабатывается в сопловом аппарате, т.е. преобразование потенциальной энергии газа в кинетическую происходит только в сопловой решетке, а давление до и после рабочего колеса равны p1 = p2.
На рис.1 этот процесс изображен в i – s – координатах , где потери могут быть обозначены соответствующими значениями разностей энтальпий. Из всех потерь энергии в турбине наибольшее значение имеют потери в сопловом аппарате L , в проточной части рабочего колеса L и выходные Lc.
Располагаемая работа на окружности колеса Lu находится вычитанием этих потерь из Lад :
Lu = Lад –(L + L + Lc).
Отношение окружной работы турбины Lu к адиабатической Lад называется окружным к.п.д. турбины, который характеризует использование располагаемой энергии газов на окружности колеса.
.
Окружной к.п.д. можно подсчитать по аналитическому уравнению (формуле Банки) в зависимости от u/c1 :
где и - скоростные коэффициенты сопла и рабочей решетки, определяемые экспериментально; 1, 1 и 2 – углы направления скоростей потока на выходе из сопла и на выходе и входе в рабочее колесо турбины и на выходе из него.
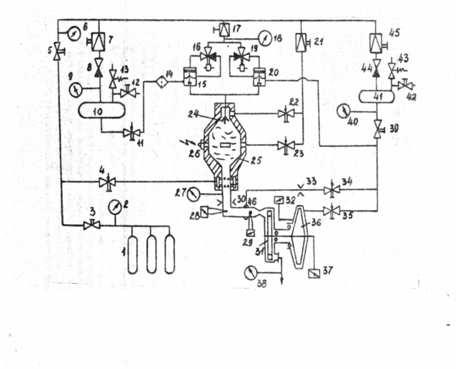
Рис. 3. Структурная схема учебно-лабораторного комплекса. 1- баллоны со сжатым воздухом, 2, 6, 9, 18, 27, 38, 40- манометры, 3, 5, 15, 12, 39, 42- вентили, 4, 11, 22, 23, 34, 35- вентили-дозаторы, 7, 17, 21, 45- редукторы, 8, 44- обратные клапаны, 10- бак с горючил, 13, 43- клапаны предохранительные, 14- фильтр, 15, 20- клапаны отсечные, 16, 19- электропневмоклапаны, 24- форсунка, 25- газогенератор, 26- электроискровая система воспламенения, 28, 29- термопары, 30, 33- дроссельные расходомеры, 31- турбина, 32- датчик оборотов, 36- гидротормоз, 37- силоизмеритель, 41- водяной бак, 46- газовод.
В
нутренний к.п.д. i характеризует внутреннюю работу турбины, т.е. использование располагаемой энергии газов с учетом потерь от трения диска о газ, вентиляции и от утечки газа
где Li = Lu – (Lтр.д.- Lтр.б. - L - Lут).
Эффективный к.п.д. турбины
характеризует ее в целом, т.е. показывает использование располагаемой энергии Lад с учетом всех потерь, включая и механические. Эффективная работа
LT = Li – Lмех.
Обычно в ТНА механические потери относят к насосам, а для турбины Lмех = 0, тогда
LТ = Li .
Опытная установка
На рис.3 представлена пневмогидравлическая схема (ПГС) испытательного стенда с испытываемой турбиной, схема измерений и экспериментальный рабочий участок.
Испытательный стенд представляет собой универсальный комплекс, позволяющий получить экспериментальные характеристики турбины как на однофазном, так и на двухфазном рабочих телах.
Стенд состоит из следующих основных систем и агрегатов:
1) генератора газа ГГ;
2) системы подачи горючего в ГГ;
3) системы подачи окислителя в ГГ;
4) системы подачи воды в экспериментальный рабочий участок;
5) системы электропневматического управления агрегатами стенда;
6) системы прерывания рабочего процесса в ГГ;
7) системы измерений.
Экспериментальный рабочий участок включает газовую турбину и гидротормоз. Рабочим телом турбины является горячий воздух, подогрев которого осуществляется продуктами сгорания, образующимися в ГГ. В качестве горючего используется жидкий этиловый спирт, в качестве окислителя - воздух. Воспламенение компонентов в ГГ осуществляется авиационной искровой свечой 26.
Спирт поступает в газогенератор 25 из бака 10 через дозирующий вентиль 11, фильтр 14 и отсечный пневмоклапан 15, управляемый электропневмоклапаном (ЭПК) 16. Система подачи - вытеснительная.
Воздух в ГГ подается из баллонов высокого давления 1 через систему запорных вентилей, редуктор 21, вентили 22 и 23, которые используются при настройке режимов работы ГГ.
Воздух подается к газоводу на выходе из газогенератора че- рез дозирующий вентиль 4 из баллонов 1. Смешиваясь с продуктами сгорания в газоводе, он поступает на турбину 31. Выхлоп из турбины осуществляется в окружающую среду.
Режимы и управление работой стенда настраиваются с выносного пульта.
Испытываемая турбина 31 - одноступенчатая, осевая, активная, сверзвуковая, с малой степенью парциальности. Нагрузки на валу турбины создается гидравлическим тормозом 36. Гидротормоз - агрегат, в котором потребляемая мощность сознательно превращается в потери, так как тепловая энергия, в которую преобразуется механическая энергия торможения, полезно не используется. Гидротормоз потребляет мощность, развиваемую турбиной, в широком диапазоне угловых скоростей и служит также для измеремя крутящего момента на валу турбины. Питание гидротормоза водой осуществляется из бака 41 через вентили 39 и 35. Из этого же бака трубопровод подведен к отсечному клапану 20,управляемому ЭПК 19.
Эта магистраль предназначена для быстрого прекращения горения в газогенераторе в случае возгорания топлива.
На рис.4 показан общий вид зкспериментального рабочего участка. Он состоит из следующих основных узлов: корпуса турбины 3 и 5, в котором расположен сопловый аппарат, ротора турбины 1, который вращается в подшипниках 4, импеллера 2, корпуса гидротормоза, образованного крышками 6, 8 и кольцом 7, диска гидротормоза 9. Диск гидротормоза посредством шпонки соединен с валом турбины. Таким образом, крутящий момент, развиваемый турбиной, передается на вал гидротормоза. Корпус гидротормоза является статором. В зазор между ним и ротором через штуцер 13 подается вода.
ом через штуцер 13 подается вода.
Рис. 4. Газовая турбина с гидротормозом: 1 - ротор турбины 2 - импеллер; 3,5 - корпуса турбины; 4 - подшипники турбины; 6,8 - левая и правая крышки гидротормоза; 7 - кольцо; 9 - диск гидротормоза; 10 - датчик оборотов; 11 - опора гидротормоза; подшипники гидротормоза; 13 - штуцер
Принцип действия гидротормоза состоит в использовании сил трения жидкости, подаваемой в рабочую полость. При вращении диска вода, находящаяся между ротором и корпусом гидротормоза (статором), отбрасывается центробежными силами к периферии гидротормоза и закручивается диском. Момент трения от диска через вязкую жидкость (воду) передается статору, который может проворачиваться в подшипниках 12. Изменяя заполнение рабочей полости гидротормоза водой, т.е. меняя площадь контакта жидкости с диском и корпусом гидротормоза, можно в широком диапазоне регулировать нагрузку на турбину.
Крутящий момент, передаваемый жидкостью на корпус гидротормоза, измеряется виброчастотным силоизмерителем типа СВК. Момент от статора передается на датчик тягой, скрепленной со статором. Измерение тормозного момента на статоре гидротормоза сводится к определению усилия на силоизмерителе 37(см. рис.3) схема которого показана на рис.5. Его тарировка осуществляется нагружением подвески тарировочными грузами P. Тарировочный график вводится в программу ЭВМ и периодически контролируется перед пуском установки. По этому графику определяется момент на валу турбины, замеренный на различных режимах в процессе испытаний.
Частота вращения ротора определяется индукционным датчиком оборотов 10 (см. рис.4). Температура рабочего тела перед турбиной находится с помощью хромель-алюмелевых термопар, давление рабочего тела перед турбиной - потенциометрическим датчиком давления типа МД. Расход рабочего тела определяется по перепаду давления на дроссельной шайбе при помощи дифференциальных датчиков давления типа МДДФ-УК.
Характеристики
Тип файла документ
Документы такого типа открываются такими программами, как Microsoft Office Word на компьютерах Windows, Apple Pages на компьютерах Mac, Open Office - бесплатная альтернатива на различных платформах, в том числе Linux. Наиболее простым и современным решением будут Google документы, так как открываются онлайн без скачивания прямо в браузере на любой платформе. Существуют российские качественные аналоги, например от Яндекса.
Будьте внимательны на мобильных устройствах, так как там используются упрощённый функционал даже в официальном приложении от Microsoft, поэтому для просмотра скачивайте PDF-версию. А если нужно редактировать файл, то используйте оригинальный файл.
Файлы такого типа обычно разбиты на страницы, а текст может быть форматированным (жирный, курсив, выбор шрифта, таблицы и т.п.), а также в него можно добавлять изображения. Формат идеально подходит для рефератов, докладов и РПЗ курсовых проектов, которые необходимо распечатать. Кстати перед печатью также сохраняйте файл в PDF, так как принтер может начудить со шрифтами.
















