Н.П. Алешин, А.Л. Ремизов, А.А. Дерябин - лекции по ККСС (1050136), страница 5
Текст из файла (страница 5)
Условия образования нормальных волн в твердой пластине усложняются из-за наличия в ней продольных и поперечных волн. При отражении эти волны частично трансформируются друг в друга, а фаза волны при отражении меняется на число, не кратное π.
На рис. 3.18 показаны дисперсионные кривые для пластины из стали (ν≈0,3).
Рис.3.18. Дисперсионные кривые для волн Лэмба в твердом теле:
Cℓ, Ct, Cs – скорости распространения соответственно продольных, поперечных и поверхностных волн;
а0, а1, а2 – асимметричные волны; S0, S1, S2 – симметричные волны.
3.4. Головные волны
В реальных условиях УЗ контроля наклонным преобразователем фронт УЗ волны излучающего пьезоэлемента имеет неплоскую форму. От излучателя, ось которого ориентирована под 1-м критическим углом к границе раздела, на границу падают также продольные волны с углами несколько меньше и несколько больше 1-го критического. При этом в стали возбуждается несколько типов УЗ волн.
Вдоль поверхности распространяется неоднородная продольно-поверхностная волна. Эту волну, состоящую из поверхностной и объемной компонент, называют также вытекающей или ползучей. Частицы в этой волне движутся по траекториям в виде эллипсов, близких к окружностям. Фазовая скорость вытекающей волны Сф незначительно превышает скорость продольной волны (для стали Сф
1,04 С1). Эти волны существуют на глубине, примерно равной длине волны, и быстро затухают при распространении: амплитуда волны затухает в 2,7 раза на расстоянии 1,75λ вдоль поверхности. Ослабление связано с тем, что в каждой точке границы раздела генерируются поперечные волны под углом αt2, равным третьему критическому углу, называемые боковыми волнами. Этот угол определяется из соотношения
Для стали αt2 = 33,50.
Кроме, вытекающей, возбуждается также головная волна, получившая широкое применение в практике УЗ-контроля. Головной называют продольно-подповерхностную волну, возбуждаемую при падении УЗ-пучка на границу раздела под углом, близким к первому критическому. Скорость этой волны равна скорости продольной волны. Своего амплитудного значения головная волна достигает под поверхностью вдоль луча с углом ввода 780. Головная волна, как и вытекающая, порождает боковые поперечные волны под третьим критическим углом к границе раздела. Одновременно с возбуждением продольно-поверхностной волны образуется и обратная продольно-поверхностная волна – распространение упругого возмущения в сторону, противоположную прямому излучению. Ее амплитуда примерно в 100 раз меньше амплитуды прямой волны.
Головная волна нечувствительна к неровностям поверхности и реагирует лишь на дефекты, залегающие под поверхностью. Ослабление амплитуды продольно-подповерхностной волны вдоль луча любого направления происходит как в обычной объемной продольной волне, то есть пропорционально 1/r.
ЛЕКЦИЯ № 4. ИСТОЧНИКИ УЛЬТРАЗВУКОВЫХ ВОЛН
Современные дефектоскописты имеют в своем распоряжении большой ассортимент различных источников ультразвуковых колебаний, основанных на различных физических принципах. Это пьезоэлектрические преобразователи (ПЭП), электромагнитно акустические преобразователи (ЭМАП), лазерные источники.
4.1. Пьезоэлектрические преобразователи
Пьезоэлектрические преобразователи (ПЭП) - устройства, предназначенные для преобразования электрического (акустического) сигнала в акустический (электрический), основанные на использовании пьезоэлектрического эффекта и применяемые для работы в составе средств неразрушающего контроля.
Конструкции основных типов ПЭП приведены на рис.4.1.
Рис. 4.1 Конструкции основных разновидностей ПЭП – a) – прямой, б) – наклонный и в) – разделно-совмещенный.
Пьезопластина 1 в контактном прямом совмещенном пьезопреобразователе (рис.4.1а) приклеена одной стороной к демпферу 2, а другой к протектору 3.
Пьезопластину, демпфер и протектор, склеенные между собой, называют вибратором. Вибратор размещают в корпусе 6. С помощью выводов 7 пьезопластину соединяют с электронным блоком акустического прибора. Контактная жидкость (вода, раствор спирта в воде, жидкое масло, водные и иные растворы веществ, препятствующие коррозии контролируемого изделия и т.д.) обеспечивают передачу ультразвуковых импульсов в контролируемое изделие 5 и обратно. Прямые ПЭП предназначены для возбуждения продольных волн. В контактных наклонных совмещенных преобразователях (рис.4.1б) для ввода ультразвуковых колебаний под углом к поверхности контролируемого изделия 5 применяют призму 8. Наклонные ПЭП предназначены для возбуждения продольных, сдвиговых (за счет трансформации волн на границе раздела «контактная жидкость – контролируемое изделие5») и поверхностных волн (также за счет трансформации волн на границе раздела «контактная жидкость – контролируемое изделие5»).
Вибратор контактных раздельно – совмещенных ПЭП (рис.4.1в) содержит две призмы 8 и две пьезопластины 1, которые разделены электроакустическим экраном 9. Одна пьезопластины работает как излучатель, а другая – как приемник. Электроакустический экран 9 служит для предотвращения прямой передачи энергии от излучающей пьезопластины к приемной.
Пьезопластину по толщине изготавливают равной половине длины волны ультразвуковых колебаний. При этом она обладает собственной резонансной частотой, равной частоте упругих колебаний. Противоположные поверхности пьезопластины покрыты электропроводными электродами (обычно серебряными) для приложения электрического поля, деформирующего пьезопластину при излучении УЗИ, и, соответственно, для съема электрических сигналов при приеме УЗИ из изделия.
Демпфер служит для ослабления свободных колебаний пьезопластины после прекращения действия возбуждающего электрического импульса. Без демпфера пьезопластина будет колебаться очень долго и в это время невозможно будет осуществлять прием УЗИ из изделия. В этом случае мы не сможем контролировать близлежащие к поверхности слои материала. Этот неконтролируемый слой называется «мертвой зоной». Для минимизации «мертвой зоны» материал и форму демпфера выбирают такими, чтобы обеспечивался достаточный отвод и затухание УЗИ в самом демпфере. Для наилучшего демпфирования акустическое сопротивление демпфера должно равняться акустическому сопротивлению пьезопластины. Такой процесс называется акустическим согласованием. Чаще всего демпферы изготавливают из искусственных смол (ЭДП) с добавками порошковых наполнителей с высокой насыпной плотностью. Для уменьшения многократных отражений УЗИ демпфер выполняют в виде конуса, либо тыльную сторону демпфера изготавливают непараллельной плоскости пьезопластины. Иногда в материал демпфера встраивают дополнительные рассеиватели.
Протектор служит для защиты пьезопластины от механических повреждений и воздействия контактной жидкости, для согласования по акустическому сопротивлению пьезопластины с акустическим сопротивлением поверхности контролируемого изделия, а также для улучшения акустического контакта между ПЭП и изделием. Материал протектора должен быть износостойким, с высокой скоростью звука, которая определяет его необходимую толщину. Обычно она выбирается равной 0,1…0,5 мм. Для изготовления протекторов применяют кварц, сапфир, бериллий, сталь, твердые сплавы, керамику, а также материалы на основе эпоксидных смол с порошковыми наполнителями (кварцевый песок, бериллиевый или корундовый порошки и т. д.). Для обеспечения стабильного акустического контакта протектор изготавливают из эластичного материала с большим затуханием ультразвука и акустическим сопротивлением, близким к сопротивлению контактной жидкости, например, из пленки полиуретана. Такой протектор облегает неровности поверхности изделия и способствует уменьшению интерференционных помех в слое контактной жидкости, улучшает проходимость УЗИ от ПЭП к изделию и наоборот. Для хорошей передачи ультразвуковой энергии в контролируемое изделие протектор изготавливают толщиной равной ¼ длины ультразвуковых колебаний. Такие протекторы обладают высоким эффектом «просветления» границы пьезопластина – контактная жидкость.
Призма ПЭП необходима для обеспечения пространственного расположения пьезопластины под углом к поверхности вывода ультразвуковых импульсов. Материал призмы должен иметь малую скорость звука (оргстекло, капролон, поликарбонат, деклон, эпоксидные компаунды и т.д.) Низкая скорость ультразвука обеспечивает, согласно закону синусов, значительные углы ввода УЗИ в контролируемый материал. Высокое затухание обеспечивает минимум помех от импульсов, распространяющихся в самой призме. Для достижения этой же цели боковые поверхности призмы изготавливают рифлеными или покрывают материалами с высоким затуханием звука.
Для возбуждения продольных волн призмы раздельно – совмещенных ПЭП (для пары оргстекло – сталь) изготавливают до углов 70. Для возбуждения только сдвиговой волны (за счет трансформации) углы призмы наклонных ПЭП устанавливают в интервале 28…580. При контроле сварных швов аустенитных сталей продольными волнами углы призмы устанавливают в интервале 18…240.
Электрические контакты проводников с электродами пьезопластины выполняют пайкой легкоплавкими припоями. Это необходимо, так как нагрев пьезокерамических материалов ( ЦТС и др.) приводит к потере пьезоэлектрических свойств.
Корпус ПЭП обеспечивает прочность конструкции и защиту от электромагнитных помех. Поэтому его, как правило, изготавливают из металла. Часто для согласования ПЭП по электрическому сопротивлению с входом акустического прибора в корпусе одновременно устанавливают трансформаторы, катушки индуктивности, резисторы, а иногда и предварительный усилитель.
Обычно ПЭП имеют следующие основные характеристики:
- разновидность – прямой, наклонный, раздельно – совмещенный, для толщиномера и т.д.
- частота возбуждаемых и принимаемых упругих колебаний;
- размер пьезопластины;
- угол ввода (для наклонного);
- стрела (расстояние от центра пьезопластины до точки ввода УЗИ);
- чувствительность к заданному дефекту по настроечному образцу;
- конструктивное исполнение (с криволинейной поверхностью ввода УЗИ, малогабаритные, хордовые и др.).
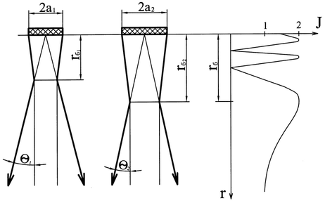
4.2. Акустическое поле вблизи излучателя ПЭП
Рис.4.2. Акустическое поле вблизи излучателя: 2а1<2а2, θ1>θ2.
Вблизи от излучателя (пьезоэлемента) на расстоянии (rб) называемой ближней зоной (зоной Френеля) ультразвуковой пучок практически не расходится, а на границе ближней зоны наблюдается некоторое его сужение. Протяженность ближней зоны (rб) для прямого пьезопреобразователя (ПЭП) составляет
, а для наклонного
, где а – радиус пьезоэлемента; λ – длина волны в материале; α – угол преломления; β – угол падения.
За пределами ближней зоны начинается дальняя зона излучателя или зона дифракции Фраунгофера. В этой зоне звуковое давление монотонно убывает с увеличением расстояния от излучателя. В дальней зоне поле имеет вид лучей, выходящих из центра излучателя. На расстоянии (r > 3N) кривая, показывающая изменение давления в звуковой волне с расстоянием приближенно следует закону:
где Sa – площадь излучателя.
Как видно, на большом расстоянии давление не испытывает осцилляций, а монотонно убывает обратно пропорционально расстоянию.
Акустическое поле в дальней зоне характеризуют диаграммой направленности, показывающей изменение звукового давления в зависимости от угла между направлением луча и акустической осью на постоянном расстоянии от излучателя (рис.4.3). За единицу принимают амплитуду Ра на оси излучателя. Диаграмма направленности не зависит от расстояния до излучателя.
Центральную часть диаграммы направленности, в пределах которой амплитуда поля уменьшается от единицы до нуля, называют основным лепестком. В пределах основного лепестка сосредоточено около 85 % энергии поля излучения. Вне основного лепестка диаграмма направленности имеет вид боковых лепестков. Уровень боковых лепестков определяется отношением поля на акустической оси к максимальной величине поля вне основного лепестка.
















