Н.П. Алешин, А.Л. Ремизов, А.А. Дерябин - лекции по ККСС (1050136), страница 18
Текст из файла (страница 18)
3. Намагничивание контролируемого изделия.
4. Нанесение суспензии или порошка на поверхность контролируемого изделия.
5. Осмотр поверхности изделия и выявление мест, покрытых отложениями порошка.
6. Размагничивание.
Поверхности изделий, сварных соединений и околошовных зон основного металла шириной, равной ширине шва, но не менее 20 мм с обеих сторон, очищают от грязи, масла, шлаков, окалины и других покрытий, мешающих проведению контроля. Не допускаются резкие западания поверхности, наплывы, натеки, незаполненные кратеры и другие дефекты. Видимые дефекты должны быть устранены до проведения контроля. Шероховатость контролируемой поверхности должна быть не грубее Ra= 6,3 мкм.
Аппаратура.
К основным средствам, используемым при магнитопорошковой дефектоскопии, относят намагничивающие устройства и индикаторные материалы. Контроль осуществляют с помощью универсальных или специализированных дефектоскопов, позволяющих получать необходимые поля и создавать оптимальные условия контроля.
Широкое распространение получили переносные и передвижные (менее мощные) дефектоскопы. Как правило, они представляют собой источники переменного, постоянного (однополупериодвыпрямленного) и реже – импульсного тока. Иногда один дефектоскоп позволяет работать с двумя видами тока.
Передвижные и переносные универсальные дефектоскопы предназначены для намагничивания и контроля деталей в условиях, когда невозможно применять стационарные дефектоскопы, например, намагничивании крупногабаритных деталей по частям, в случае работы в полевых условиях и т.п. Как правило, такие дефектоскопы снабжают комплектом деталей для контроля (сухие порошки и устройства для их напыления, сосуды с суспензией и т.п.).
Переносные и передвижные универсальные дефектоскопы позволяют производить циркулярное намагничивание с помощью токовых контактов, помещаемых на участке детали, продольное намагничивание с помощью кабеля, навиваемого на деталь, или иногда с помощью электромагнита.
10.3 Магнитографический метод
Сущность этого метода заключается в намагничивании контролируемого участка сварного шва и околошовной зоны с одновременной записью магнитного поля на магнитную ленту (рис.10.4,а) и последующем считывании полученной информации с нее специальными воспроизводящими устройствами магнитографических дефектоскопов, оснащенных вторичными преобразователями в виде феррозондов или индукционных головок. Этот сигнал после преобразования поступает на экран электронно-лучевой трубки (рис.10.4,б).
Рис. 10.4. Схема магнитографического контроля сварного шва:
1 – намагничивающее устройство, 2 – сварной шов, 3 – дефект, 4 – магнитная лента
Методика контроля.
Технология магнитографического контроля включает следующие операции.
Осмотр и подготовку поверхности контролируемого изделия. При этом с поверхности контролируемых швов должны быть удалены остатки шлака, брызги расплавленного металла, грязь и т.д.
Наложение на шов отрезка магнитной ленты. Перед началом работы магнитная лента должна быть подвергнута размагничиванию. Прижим ленты к шву плоских изделий производят специальной эластичной «подушкой». При контроле кольцевых швов труб, сосудов и других изделий магнитную ленту к поверхности шва прижимают по всему периметру эластичным резиновым поясом.
Намагничивание контролируемого изделия при оптимальных режимах в зависимости от типа намагничивающего устройства, толщины сварного шва и его магнитных свойств.
Магнитографический метод в основном применяют для контроля стыковых швов, выполненных сваркой плавлением, и в первую очередь при дефектоскопии швов магистральных трубопроводов. Этим методом можно контролировать сварные изделия и конструкции толщиной до 20-25 мм.
Чувствительность метода. Чувствительность магнитографического метода контроля К определяется как отношение вертикального размера (глубины) ∆S минимально выявляемого дефекта к толщине S основного металла контролируемого изделия: К = ∆S/S.
Практикой установлено, что этим методом уверенно обнаруживаются внутренние плоскостные дефекты, когда их вертикальный размер составляет 8-10 % толщины сварного шва. При снятом усилении шва максимальная чувствительность контроля к указанным дефектам достигает 5 %. Округлые внутренние дефекты обнаруживаются, когда их размер по высоте не меньше 20 % толщины изделия. Чувствительность магнитографического метода к поверхностным дефектам примерно такая же или несколько хуже, чем у магнитопорошкового. Чем глубже расположен дефект от поверхности изделия, на которую укладывается магнитная лента, тем хуже он выявляется. Современная аппаратура позволяет обнаруживать дефекты с вертикальным размером 10-15 % толщины изделия на глубине залегания до 20-25 мм.
На чувствительность магнитографического метода сильно влияют высота и форма усиления шва, а также состояние его поверхности. Для лучшей выявляемости дефектов необходимо выполнять сварку так, чтобы высота усиления шва не превышала 25 % толщины основного металла, а переход от наплавленного металла к плоскости был плавным.
Аппаратура.
Считывание результатов контроля с магнитной ленты производят магнитографическими дефектоскопами. Простейшая блок-схема магнитографического дефектоскопа изображена на рис. 10.5. Дефектоскоп имеет электродвигатель, приводящий во вращение барабан с несколькими магнитными головками. Головки перемещаются поперек магнитной ленты. Электрические сигналы с головки поступают в усилитель, усиливаются в нем и попадают на электронно-лучевую трубку.
Рис. 10.5. Блок-схема магнитографического дефектоскопа:
1 – электродвигатель, 2 – блок головок, 3 – магнитная лента, 4 – усилитель,
5 – генератор развертки, 6 – электронно-лучевая трубка
Для записи магнитных полей при магнитографическом контроле применяют магнитную ленту. Лента выполнена на триацетатной или лавсановой основе с нанесением на нее мельчайших ферромагнитных частиц.
10.4. Вихретоковый метод
Вихревые (электромагнитные) методы контроля основаны на регистрации изменения поля вихревых токов, наводимых в поверхностном слое изделия.
Рис.10.6. Схема вихретокового метода контроля.
Если по первой катушке пропустить ток, то при изменении силы тока в ней, в контролируемом изделии наводятся вихревой ток. Вихревые токи текут в поверхностном слое со стороны источника поля. При наличии дефектов в изделии увеличивается сопротивление поверхностного слоя, что приводит к ослаблению вихревых токов, которые регистрируются катушкой-датчиком. Методами вихревых токов обнаруживаются только поверхностные и подповерхностные (на глубине 1-2 мм) дефекты.
На сопротивляемость поверхностного слоя проникновению вихревых токов влияют, с одной стороны, поля дефектов, на чем основана дефектоскопия изделия, и, с другой стороны, электрическая проводимость и магнитная проницаемость. Благодаря последнему свойству вихретоковые методы применяют для измерения электрической проводимости бесконтактным методом. Вихретоковый метод широко не применяют при контроле сварных швов, так как электропроводность отдельных зон шва и околошовной зоны значительно меняется, что создает большие помехи при выявлении дефектов сварки. Вихретоковые методы могут быть использованы для фазового и структурного анализа указанных зон.
Методика контроля. Методика контроля включает следующие основные операции (рис.10.7.):
Рис. 10.7. Схема электромагнитного контроля
1. Внешний осмотр изделия и устранение наружных дефектов, мешающих проведению контроля;
2. Установление полезадающей системы 1 на контролируемое изделие 2 и пропускание тока через возбуждающую катушку;
3. Сканирование датчика 3 и регистрирующих приборов 4, 5 вдоль поверхности контролируемого объекта;
4. Расшифровку результатов контроля и оценку качества изделия.
Чувствительность метода. На чувствительность электромагнитного метода значительно влияет зазор между датчиком и поверхностью контролируемого изделия, а также их взаимное расположение, форма и размеры. С увеличением зазора резко падает чувствительность метода. Допускаемый максимальный зазор 2 мм. Структурная неоднородность существенно снижает чувствительность метода к обнаружению дефектов. Этим методом удается выявить поверхностные и подповерхностные трещины глубиной 0,1-0,2 мм и протяженностью более 1 мм, расположенные на глубине до 1 мм.
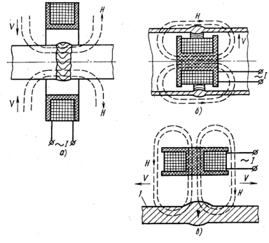
Способы контроля. Электромагнитные методы подразделяют в основном по полезадающим системам. Полезадающие системы могут быть проходными, если катушка с током охватывает деталь или вставляется в нее (рис. 10.8. а,б), и накладными, когда катушку с током устанавливают на деталь торцом (рис. 10,8 в). В первом случае электромагнитная волна от полезадающей системы распространяется в направлении контролируемого объекта, во втором – вдоль его поверхности.
Рис. 10.8. Основные схемы (а-в) полезадающих систем электромагнитного контроля: H – вектор напряженности магнитного поля, V – направление электромагнитной волны
Измерительные катушки (датчики) могут быть выполнены отдельно от полезадающих (генераторных) и обычно располагаются вблизи поверхности контролируемого изделия (рис. 10.9 ).
Рис. 10.9. Схема регистрации параметров электромагнитного поля:
1 – полезадающая (генераторная) катушка, 2 – измерительная катушка,
3 – контролируемое изделие
Накладные преобразователи выполняют с ферромагнитным сердечником или без него. Ферромагнитный сердечник (обычно ферритовый) повышает абсолютную чувствительность преобразователя и уменьшает зону контроля за счет локализации потока.
Проходные вихретоковые преобразователи (ВТП) подразделяют на наружные и внутренние. Такая классификация проходных преобразователей основана на том, что они в процессе контроля проходят или снаружи объекта, охватывая его, или внутри объекта.
Накладные ВТП применяют в основном при контроле качества объектов с плоскими поверхностями и объектов сложной формы, а также в тех случаях, когда требуется обеспечить локальность и высокую чувствительность.
Наружные проходные ВТП используют при контроле линейно-протяженных объектов (проволоки, прутка, трубы и т.д.), а также при массовом контроле мелких изделий. Внутренними проходными ВТП контролируют внутренние поверхности трубы, а также стенки отверстий в различных деталях.
ЛЕКЦИЯ №11. КАПИЛЛЯРНЫЙ КОНТРОЛЬ. ФИЗИЧЕСКИЕ ОСНОВЫ. КАПИЛЛЯРНЫХ ЯВЛЕНИЙ
11.1 Поверхностная энергия
Наиболее характерным свойством жидкого состояния является наличие резкой границы, разделяющей жидкость и ее пар. Поверхностный слой жидкости, представляющий переход от жидкости к ее пару, отличается особыми свойствами, облегчающими изучение сил молекулярного сцепления в жидкости. Дети хорошо знают, что куличики можно построить из мокрого песка. Сухие песчинки не пристают друг к другу. Но также не пристают песчинки, целиком погруженные в воду. Чем это объяснить?
Рис. 11.1. Молекула А окружена со всех сторон другими молекулами и притягивается ими по всевозможным направлениям. Молекула В притягивается другими молекулами внутрь жидкости
Слипание песчинок мы должны объяснить действием силы сцепления молекул воды, находящихся на поверхности.
Рассмотрим, почему силы сцепления не проявляют своего действия, когда песчинки или волосы находятся под водой. Сравним состояние молекулы жидкости, находящейся вблизи границы жидкости и газа, с состоянием молекулы, находящейся вдали от этой границы, внутри жидкости (рис. 11.1). Молекула внутри жидкости окружена другими молекулами со всех сторон (А). Молекулу же, находящуюся на границе с газом, молекулы жидкости окружают только с одной стороны (В), со стороны же газа молекул почти нет. Притяжение, испытываемое молекулой со стороны соседних, в случае «внутренних» молекул взаимно уравновешивается; для молекул, расположенных у поверхности, сложение всех сил дает равнодействующую, направленную внутрь жидкости. Поэтому, для того чтобы перевести молекулу из внутренних слоев к поверхности, надо совершить работу против указанной равнодействующей силы. Иначе говоря, каждая молекула, находящаяся вблизи поверхности жидкости, обладает некоторым избытком потенциальной энергии по сравнению с молекулами, находящимися внутри жидкости. Чем больше поверхность жидкости, тем большее число молекул обладает этой избыточной потенциальной энергией. Следовательно, при увеличении поверхности данной массы жидкости (например, при раздроблении воды в мелкую водяную пыль) энергия жидкости увеличивается. Это — один из случаев изменения внутренней энергии тел. В этом случае внутренняя энергия тела пропорциональна размерам поверхности, и поэтому ее называют поверхностной энергией.
Вследствие стремления молекул уйти внутрь жидкости с ее поверхности жидкость принимает такую форму, при которой ее свободная поверхность имеет наименьшее возможное значение.
Стремление жидкости уменьшить свою свободную поверхность хорошо проявляется в различных явлениях и опытах. Прежде всего, об этом говорит шарообразная форма, которую принимают маленькие капли жидкости: капельки ртути на горизонтальной стеклянной пластинке, капли воды, разбегающиеся по раскаленной плите, если на нее попадут брызги воды, капли воды на пыльной дороге и т. п. Во всех этих случаях взаимодействие с твердым телом, на котором оно находится, мало по сравнению с силами, действующими между частями жидкости, и стремление жидкости уменьшить свою поверхность четко проявляется: шарообразная форма капелек соответствует наименьшей их поверхности. При малых размерах капелек искажающее их форму влияние силы тяжести невелико.
В условиях невесомости сила тяжести не препятствует данному объему жидкости сократить свою поверхность. Поэтому жидкость в условиях невесомости принимает форму шара; такая шарообразная «капля» может иметь большие размеры по сравнению с обычными каплями жидкости, в которых увеличение размера приводит к искажению формы под действием силы тяжести.















