DZ__kontrol (1050132)
Текст из файла
Московский государственный технический университет им. Н.Э. Баумана
Кафедра «Технологии сварки и диагностики»
Домашнее задание по курсу:
«Контроль качества сварных соединений»
Вариант - 16
Выполнил: студент группы МТ7-73
Колпаков Е.Ю.
Проверил: к.т.н. Ремизов А.Л.
Москва 2014 г.
-
Расчет параметров ультразвукового контроля.
Исходные данные:
| Материал | Толщина, мм | Ширина усиления, мм | Частота, МГц | Стрела искателя, мм | Диаметр пьезоэлемента, мм |
| Сталь | 20 | До 17 | 2,5 | 14 | 12 |
-
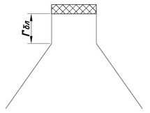
Определение угла ввода волны (
)
Рис. 1 Определение угла ввода волны
Условие: при прижатии преобразователя к валику шва луч должен проходить через центр шва.
;
выбираем из комплекта серийных преобразователей стандартный угол ввода
;
.
-
Определение ближней зоны (
)
Рис. 2 Определение ближней зоны
Для наклонного преобразователя:
, где
- радиус пьезоэлемента;
- длина волны.
,
- скорость распространения поперечных волн в стали.
.
Расчет мертвой зоны (
):
где
- время зондирующего импульса;
- время реверберации (переотражения);
-
Разрешающая способность дефектоскопа.
- разрешающая способность дефектоскопа в мкс.
-
Определение максимального и минимального расстояния для контроля нижней части шва
Рис. 3 контроль нижней части шва
;
;
-
Определение максимального и минимального расстояния для контроля верхней части шва
Рис. 4 Контроль верхней части шва
-
Схема контроля
Рис. 5 Схема сканирования контролируемого сварного шва
-
Расчет параметров рентгеновского контроля
Исходные данные:
| Материал | Толщина, мм |
| Титан | 30 |
-
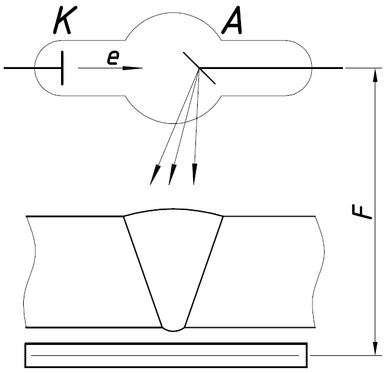
Выбор источника излучения
Для титана с толщиной стенки 30 мм выбираем установку РУП-120-5-1
с напряжением 50-120В.
Рис. 6 схема рентгеновского контроля
-
Определение экспозиции и времени съемки
при
; пленка РТ-1
Для
;
Для
-
Время просвечивания с применением пленки РТ-2 с флюоресцирующим экраном «стандарт»
-
Время просвечивания с применением пленки РТ-5 с металлическим усиливающим экраном
;
;
Характеристики
Тип файла документ
Документы такого типа открываются такими программами, как Microsoft Office Word на компьютерах Windows, Apple Pages на компьютерах Mac, Open Office - бесплатная альтернатива на различных платформах, в том числе Linux. Наиболее простым и современным решением будут Google документы, так как открываются онлайн без скачивания прямо в браузере на любой платформе. Существуют российские качественные аналоги, например от Яндекса.
Будьте внимательны на мобильных устройствах, так как там используются упрощённый функционал даже в официальном приложении от Microsoft, поэтому для просмотра скачивайте PDF-версию. А если нужно редактировать файл, то используйте оригинальный файл.
Файлы такого типа обычно разбиты на страницы, а текст может быть форматированным (жирный, курсив, выбор шрифта, таблицы и т.п.), а также в него можно добавлять изображения. Формат идеально подходит для рефератов, докладов и РПЗ курсовых проектов, которые необходимо распечатать. Кстати перед печатью также сохраняйте файл в PDF, так как принтер может начудить со шрифтами.
)
)















