Лаба по бомбе (1043409)
Текст из файла
Цель работы: изучение применяемых в промышленности современных лабораторных технологий определения удельной теплоты сгорания компонента ракетного топлива.
Теоретическая часть.
Определение теплоты сгорания топлива с помощью калориметрической установки
Калориметрическая установка предназначена для определения теплоты сгорания различных веществ (твердых, жидких, газообразных). Теплота сгорания определяется теплом сожжения образца в калориметрической бомбе.
Сущность метода заключается в том, что навеска вещества в специальной чашечке помещается в калориметрическую бомбу. На дно бомбы наливают 1 мл дистиллированной воды для насыщения бомбы парами и для растворения в ней окислов S и N. Бомба закрывается герметичной крышкой и наполняется кислородом до давления 2,94 МПа. Бомбу помещают в калориметрический сосуд с водой (4810 г). Сосуд помещают в защитную оболочку для уменьшения теплообмена с окружающей средой. Вода в сосуде подогревается до температуры 28 °С.
Опыт начинается через 20 минут после нагрева до начальной температуры, чтобы все части нагрелись равномерно. Навеску поджигают с помощью электрического тока (для зажигания навески применяется медная проволока). Специальным термометром замеряют подъем температуры. По измеренному подъему температуры и размеру навески определяют теплоту сгорания.
Опыт состоит из 3-х периодов:
-
начальный период при калориметрическом определении теплоты сгорания предшествует сжиганию навески и служит для учета теплообмена калориметрической системы с окружающей средой в условиях начальной температуры опыта;
-
главный период учитывает время, в течение которого происходит сгорание навески, передача выделившейся теплоты калориметрической системе и выравнивание температуры всех ее частей.
-
конечный период служит для учета теплообмена калориметрической системы с окружающей средой в условиях конечной температуры опыта.
Устройство калориметра для определения теплоты сгорания
Калориметрическая установка состоит из калориметра, включающего калориметрический сосуд и калориметрическую оболочку, калориметрической бомбы, пресса для брикетирования, устройства для регистрации температуры (в зависимости от типа калориметра могут применяться метастатический термометр или цифровой вольтметр).
Калориметр представляет собой прибор настольного типа. В верхней части калориметра расположена вертикальная стойка с двумя держателями метастатического термометра, предназначенного для измерения температуры воды в калориметрическом сосуде (термометр Бекмана). На этой стойке расположен кронштейн, перемещающийся по стойке и самофиксирующийся в любом положении по высоте. На кронштейне расположены: оптическая система и электромеханический вибратор. Оптическая система представляет полый цилиндр с вмонтированными в него лупой шестикратного увеличения и лампой для подсветки шкалы термометра. Электромеханический вибратор обеспечивает через равные промежутки времени постукивание ударником по метастатическому термометру для устранения влияния капиллярных сил при перемещении мениска ртути.
На верхней крышке калориметра смонтирован термометр для измерения температуры воды в калориметрической оболочке. Для становления необходимой температуры воды в калориметрической оболочке и термостатирования с высокой точностью используется электронный термометр.
На передней части калориметра расположена лицевая панель с элементами управления и сигнализации.
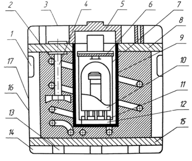
Внутреннее устройство калориметра представлено на рис. 1.
Рис. 1. Устройство калориметра. Общий вид (в разрезе):
1 – ручка откидная, 2- змеевик, 3- крышка, 4 – мешалка оболочки, 5- крышка эбонитовая, 6 – крышка, 7 – калориметрический сосуд, 8 – плита текстолитовая верхняя, 9 – гнездо сосуда, 10 – калориметрическая бомба, 11 – металлическая опора, 12 – подставка, 13 – ножки, 14 – поддон, 15 – плита текстолитовая нижняя, 16 – кожух, 17 - оболочка
Калориметрическая оболочка представляет собой тонкостенный цилиндрический латунный бак, на внутренней поверхности которого расположен медный змеевик для прокачивания водопроводной воды (при необходимости охлаждение воды в калориметрической оболочке). Внутренний объем калориметрической оболочки ограничен латунным гнездом, в которое помещаются калориметрический сосуд. На крышке имеется два отверстия для установки платиновых термометров сопротивления. Если температуру измеряют метастатическим термометром, то его помещают в одно из отверстий, а другое закрывают специальной пробкой. К верхней текстолитовой плитке крепятся корпус оболочки, мешалка и гнездо сосуда, а также плата с трубчатым нагревателем для подогрева воды в оболочке. В калориметрический сосуд на металлическую опору устанавливают калориметрическую бомбу. Крышка содержит токопроводы цепи зажигания и закрывает горловину калориметрического сосуда.
Для сжигания жидкого и твердого горючего применяют калориметрическую бомбу. Бомба состоит из корпуса, накидной гайки, крышки, контргайки, металлического кольца и резиновой прокладки, служащей для уплотнения между корпусом и крышкой. Накидные гайки завинчиваются рукой, а окончательное уплотнение осуществляется за счет давления кислорода внутри бомбы, после чего контр гайку подтягивают до упора. Через входной клапан бомбу заполняют кислородом. Через выходной клапан дренируются газообразные продукты сгорания после сжигания.
Для сжигания газообразного топлива используют бомбу несколько другой конструкции, но при сохранении схемы самоуправления.
Для изготовления брикетов из порошкообразных веществ применяют специальный пресс. Если для регистрации изменения температуры используют метастатический термометр (термометр Бекмана), то его настраивают так, чтобы мениск ртути в измерительном капилляре находился при температуре опыта близи делений шкалы 1..2. Метастатический термометр является термометром переменного наполнения и служит лишь для измерения разницы температур Он состоит из двух резервуаров с ртутью, соединенных тонким измерительным капилляром. Нижний основной резервуар имеет относительно большой объем, поэтому даже незначительное изменение температуры вызывает заметное перемещения мениска ртути по тонкому капилляру. Длина капилляра (шкала термометра) рассчитана на изменение разности температур не более 5 градусов, цена деления шкалы составляет 0.01 градуса. С помощью лупы отсчет температур производится с точностью до 0.001 градуса.
Если регистрация изменения температуры производится цифровым вольтметром, в калориметрический сосуд устанавливают прецизионные термометры сопротивления.
Проведение калориметрического опыта.
Определение теплоты сгорания проводится в две стадии: определяют суммарную теплоемкость калориметрической системы и ее содержимого по стандартному веществу с точно известной теплотой сгорания (им является бензойная кислота С6Н5СООН), а затем сжигают навеску горючего и рассчитывают его удельную теплоту сгорания. При этом важно учитывать любую массу, принимающую участие в опыте, а также ее удельную теплоту сгорания.
Для сжигания высококипящих видов жидкого горючего используется калориметрическая чашка (тигель) или чашка с бортиком (чашка Зубова), которая покрывается кинопленкой, растворенной в ацетоне для обеспечения герметичности используемого нефтепродукта до момента поджигания.
Отчет температуры в течение опыта проводят за три периода: начальный (11 показаний по шкале метастатического термометра через каждые 30 секунд), главный (12-ый отсчет показаний, или первый отсчет главного периода), конечный (10 отсчетов по шкале термометра, за первый отсчет конечного периода принимается наступление равномерного изменения температуры). Главный период характеризуется резким повышением температуры и считается завершенным при наступлении равномерного изменения температуры, обусловленного теплообменом калориметра с окружающей средой (продолжительность главного периода - 7...9 минут).
Вес отсчеты производят с помощью лупы с погрешностью не более 0,001 градуса.
Характеристики
Тип файла документ
Документы такого типа открываются такими программами, как Microsoft Office Word на компьютерах Windows, Apple Pages на компьютерах Mac, Open Office - бесплатная альтернатива на различных платформах, в том числе Linux. Наиболее простым и современным решением будут Google документы, так как открываются онлайн без скачивания прямо в браузере на любой платформе. Существуют российские качественные аналоги, например от Яндекса.
Будьте внимательны на мобильных устройствах, так как там используются упрощённый функционал даже в официальном приложении от Microsoft, поэтому для просмотра скачивайте PDF-версию. А если нужно редактировать файл, то используйте оригинальный файл.
Файлы такого типа обычно разбиты на страницы, а текст может быть форматированным (жирный, курсив, выбор шрифта, таблицы и т.п.), а также в него можно добавлять изображения. Формат идеально подходит для рефератов, докладов и РПЗ курсовых проектов, которые необходимо распечатать. Кстати перед печатью также сохраняйте файл в PDF, так как принтер может начудить со шрифтами.
















