Оформленное ДЗ (1041498)
Текст из файла
МГТУ им. Н.Э. Баумана
ДЗ2
Выполнил
студент 4 курса
группы МТ11-81
Бойнов М.А.
Москва 2015
Вариант 4.
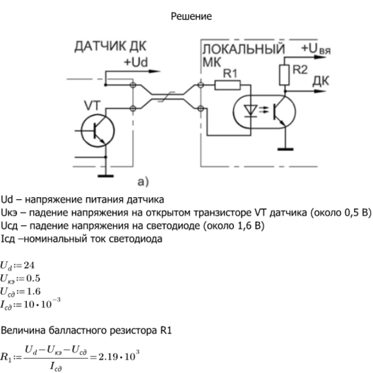
1.Подключить активный датчик с выходом «Открытый коллектор n-p-n» и питанием 24 В к контроллеру со входом «Открытый анод СД». Рассчитать балластный резистор светодиода, если катод подключен к 0 В номинальный ток светодиода – 10 мА.
3. Подключить к МК 8 схем ОЗУ по 4 кБ. Зарисовать карту памяти. Дать примеры обращения к младшей и старшей ячейке памяти.
Обращение к младшей ячейке ОЗУ:
MOV DPTR,#00000h ;записываем адрес младшей ячейки в указатель данных
MOV A,#01010101 ;задаём значение, записываемое в ячейку
MOVX @DPTR,A ;записываем значение в ячейку
Обращение к старшей ячейке ОЗУ:
MOV DPTR,#0FFFFh ;записываем адрес младшей ячейки в указатель данных
MOV A,#01010101 ;задаём значение, записываемое в ячейку
MOVX @DPTR,A ;записываем значение в ячейку
2. Обеспечить подключение датчика температуры с диапазоном 0..100°С, потенциальным выходом 0..10 В и питанием +24 В к входу АК контроллера 0..10 В. Выводы датчика +V, -V, Out, AGND. Рассчитать и построить характеристику Т(U). Сколько градусов приходится на дискрету, если преобразование 12-и разрядное.
На дискрету-0.024град
Характеристики
Тип файла документ
Документы такого типа открываются такими программами, как Microsoft Office Word на компьютерах Windows, Apple Pages на компьютерах Mac, Open Office - бесплатная альтернатива на различных платформах, в том числе Linux. Наиболее простым и современным решением будут Google документы, так как открываются онлайн без скачивания прямо в браузере на любой платформе. Существуют российские качественные аналоги, например от Яндекса.
Будьте внимательны на мобильных устройствах, так как там используются упрощённый функционал даже в официальном приложении от Microsoft, поэтому для просмотра скачивайте PDF-версию. А если нужно редактировать файл, то используйте оригинальный файл.
Файлы такого типа обычно разбиты на страницы, а текст может быть форматированным (жирный, курсив, выбор шрифта, таблицы и т.п.), а также в него можно добавлять изображения. Формат идеально подходит для рефератов, докладов и РПЗ курсовых проектов, которые необходимо распечатать. Кстати перед печатью также сохраняйте файл в PDF, так как принтер может начудить со шрифтами.
















