Гл6-7-8_07 (1032021), страница 3
Текст из файла (страница 3)
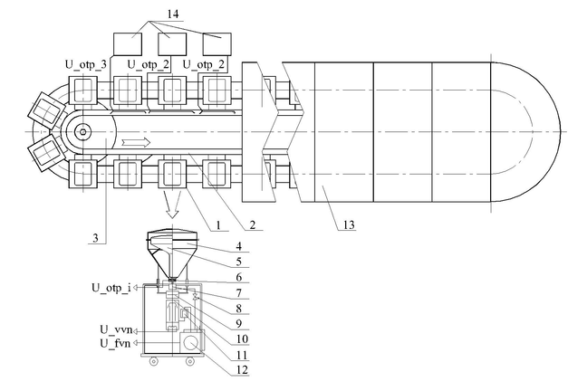
Рис. 7.2. Линия вакуумной обработки
кинескопов
Термообработка оболочки проводится в секциях туннельной печи 13. Температура по секциям сначала возрастает, затем поддерживается постоянной и охлаждается в соответствии с заданным графиком. Инструмент для обезгаживания распределен по ряду стационарных позиций, а заготовка перемещается относительно них - это типовое последовательное агрегатирование.
Рассмотрим теперь агрегатирование процесса отпая штенгеля после проведения процессов откачки и термообработки. Для отпая штенгель сначала необходимо сравнительно медленно нагреть до температуры размягчения стекла, затем быстро повысить температуру, чтобы разогретый участок штенгеля был пережат внешним атмосферным давлением. Одновременно стеклооболочка поднимается вместе с защитным кожухом с помощью путевых кулаков. При этом штенгель разрывается и герметизируется. Затем производится отжиг отпаянного штенгеля.
С одной стороны, каждая позиция оснащена индивидуальной катушкой электроотпая, локально нагревающей необходимый участок штенгеля, это признак параллельного агрегатирования. С другой стороны, процесс отпая разбит на три участка:
-
медленный предварительный нагрев;
-
интенсивный нагрев, вытяжка и разрыв штенгеля;
-
медленный нагрев и отжиг.
На каждом из участков питание катушек электроотпая осуществляется от своих источников питания 14 с помощью локальных шин. Это признак последовательного агрегатирования.
А если эти шины окажутся подлиннее, чтобы на них одновременно разместилась не одна, как показано на рисунке, а несколько позиций, агрегатирование с точки зрения процесса энергопитания отпая будет уже последовательно-параллельным.
-
Основным признаком вида агрегатирования технологических операций является полнота комплекта инструмента, необходимого для реализации рассматриваемой технологии. Если имеется один комплект инструмента, распределенный по ряду технологических позиций, а изделие при обработке передается из позиции в позицию, агрегатирование последовательное. Если каждая технологическая позиция снабжена полным комплектом инструмента – это параллельное агрегатирование. При последовательно-параллельном агрегатировании передача изделия идет по ряду потоков, по каждому из которых распределен один комплект инструмента.
-
На начальных этапах разработки структуры машины все внимание следует сосредоточить на маршруте движения заготовки по технологической цепочке, на основном материальном потоке и только потом уточнять структурно-компоновочное решение с учетом возможностей энергоснабжения целевых механизмов и возможностей управления ими.
-
Проводить дифференциацию и концентрацию операций можно и нужно для каждого относительно автономного процесса технологии индивидуально, более того, могут быть дифференцированы и процессы энергоснабжения и управления на отдельных операциях.
Вопросы к экзамену.
1. Обобщенная структура технологической машины. Основные признаки вида агрегатирования. Агрегатирование ресурсов по процессам технологии.
7.2. Взаимодействия элементов структуры технологической
машины
Любая технологическая машина обрабатывает материальные, энергетические и информационные потоки. По тому, для обработки какого из потоков целевым образом предназначен элемент или подсистема машины, все их можно разделить на систему целевых механизмов машины, систему энергообеспечения или энергопитания и систему управления (рис. 7.3).
В развитом исполнительном механизме также можно выделить свою подсистему энергообеспечения и управления. Такое деление целесообразно ввести еще и потому, что в разработке современной технологической машины принимают участие три группы специалистов: инженеры механики, разрабатывающие машину в целом и ее целевые механизмы, инженеры электрики и электронщики, разрабатывающие систему энергообеспечения и аппаратную часть системы управления и инженеры программисты, разрабатывающие программное обеспечение. Структура должна определять технические задания для каждого из коллективов разработчиков.
Механические, электронные и программные компоненты сообща достигают поставленной цели, реализуя предписанный набор процессов в каждом из трех видов ресурсов (система исполнительных механизмов, система их энергообеспечения и система управления). На фоне общего технического прогресса явно выражена тенденция интенсификации применения и усложнения программного обеспечения, затем аппаратного оснащения (ресурсов) систем управления, систем энергообеспечения и, наконец, целевых механизмов. Важно еще на ранних стадиях проектирования рационально распределить функции между ресурсами различного рода и сформулировать четкие технические задания на них, чтобы повысить качество, распараллелить работу и ускорить ее окончание. Это концепция параллельной проработки компонентов машины в противовес еще распространенной до настоящего времени концепции последовательной проработки, когда сначала разрабатывается система целевых механизмов, затем система их энергообеспечения, ресурсы системы управления и лишь на последней стадии, когда машина практически готова, разрабатывается ее программное обеспечение. Ожидать здесь влияния программиста на структуру машины не приходится, поэтому нет смысла и говорить о рациональном распределении функций.
Ресурсы во многом, но не целиком, определяют протекающие в системе процессы. Потому графическое отображение взаимосвязи элементов системы через материальные, энергетические и информационные потоки (ресурсная модель системы, ее структура) должно дополняться описанием не только процессов, протекающих в каждом из ее элементов, но и описанием взаимодействия этих элементов внутри структуры (процессная модель системы). Причем, чем сложнее структура, тем большее значение в ее описании приобретает процессная модель. Например, в вычислительной машине используется шинная архитектура ресурсов, связи являются гибкими и микропроцессор может взаимодействовать с каждым элементом структуры.
Соединены между собой и взаимодействуют подсистемы и элементы машины через материальные, энергетические и информационные потоки. Для каждого элемента или подсистемы можно выделить: целевой интерфейс, определяющий его назначение и способ взаимодействия в системе; механический интерфейс, определяющий расположение, крепление и подключение элемента к материальным потокам; энергетический интерфейс, определяющий виды и характеристики и правила взаимодействия питающих его потоков энергии; информационный интерфейс, определяющий виды, характеристики и правила обмена информацией.
Определить элемент или подсистему технологической машины и сформулировать четкое техническое задание на его дальнейшую проработку - значит полностью определить его целевой, механический, энергетический и информационный интерфейсы.
Описание целевого интерфейса, определяющего функции элемента в системе может быть различной степени детализации. Важно остановиться на том уровне, когда определены основные функции элемента, что он делает. И совсем не обязательно определять, как он это делает. Структура технологической системы должна быть построена так, чтобы это было безразлично, точнее должна допускать любые способы реализации требуемых функций. Важнейшее требование к элементам технологической структуры – их автономность, минимизация и унификация интерфейсов.
Например, при описании нагревательного элемента важна температура полуфабрикатов в начале и конце процесса нагрева, либо способность обеспечивать требуемую зависимость температуры во времени. Как нагревательный элемент проводит нагрев, за счет конвективного теплообмена, инфракрасным излучением или токами высокой частоты – вторично, структура системы должна быть построена так, чтобы допускать реализацию различных методов. Естественно, при этом структура претерпит некоторые изменения, но они не должны быть радикальными, а касаться только непосредственного окружения этого элемента. Более подробно описание целевого интерфейса будет рассмотрено в разделе 7.4. «Процессная модель технологической машины».
Н
а рис. 7.4. представлены различные варианты формирования некоторого нагревателя внутри технологической структуры. Его целевой функцией, в конечном итоге, является нагрев полуфабриката во времени, т.е. реализация зависимости температуры полуфабриката от времени Т(t).
Механический интерфейс (внешние габариты и способ крепления) для всех трех вариантов един. Элемент представляет из себя печь с теплоизоляцией, снабженную двумя нагревателями, например ТЭНами, в верхней части печи размещен вентилятор, повышающий интенсивность конвективного теплообмена. Нагреватели питаются двумя энергетическими потоками UN1 и UN2, определяющими электрическую мощность, выделяемую на ТЭНах. Скорее всего, это будет сетевое переменное напряжение с широтно-импульсной модуляцией. Вентилятор имеет электропривод М, питаемый напряжением U_V. Температуру на изделии фиксируют две термопары, выдающие информационные сигналы UT1 и UT2.
По варианту 7.4 а), энергетический интерфейс элемента в системе представляет из себя три потока напряжений UN1, UN2 и U_V. Потоки UN1 и UN2 должны формироваться централизованной системой автоматического управления (САУ) таким образом, чтобы фактическая температура, фиксируемая двумя термопарами, соответствовала требуемой.
Сигналы информационного интерфейса UT1 и UT2 зависят от типа примененных термопар. Централизованная САУ должна фиксировать температуру на изделии, по пропорционально дифференциально интегральному (ПИД) закону рассчитывать управляющее воздействие и выдавать его семисторный регулятор мощности. Управляющее воздействие может представлять из себя, например, число сетевых полупериодов, когда нагреватель подключен в интервале регулирования в 256 сетевых периодов.
Сформулируем целевой интерфейс варианта 7.4, а), какую функцию он выполняет в системе. Этот элемент преобразует энергетические потоки UN1 и UN2 в процесс нагрева полуфабриката и возвращает сигналы UT1 и UT2 о его температуре. Т.е., здесь целевой интерфейс не совпадает с исходным: нагрев полуфабриката во времени, т.е. реализация зависимости температуры полуфабриката от времени Т(t).
Любая, даже незначительная, модернизация внутри элемента может потребовать существенной переработки всей системы. В простейшем случае, изменения констант ПИД-закона и модернизации программного обеспечения, а возможно, и аппаратной части централизованных систем управления и энергообеспечения.
В варианте по рис. 7.4, б) блок энергоавтоматики и управления BEU включен в состав элемента. Энергетический интерфейс стал стандартным - простое сетевое напряжение питания U_P требуемой мощности. Информационный интерфейс – сигнал аналогового управления AU_T, сообщающий блоку BEU требуемую температуру. Локальная САУ, входящая в состав блока энергоавтоматики и управления, должна выполнять то, что раньше делала централизованная САУ: считывать сигнал о фактической температуре с термопар, сравнивать его с требуемой температурой AU_T, по рассогласованию рассчитывать управляющее воздействие и выдавать его семисторный регулятор мощности блока BEU.
Целевой интерфейс варианта 7.4, б) - реализация зависимости температуры полуфабриката от времени Т(t) в соответствии с уставкой AU_T, формируемой централизованной САУ. При этом централизованная САУ разгружена от непосредственного управления нагревателем, она в соответствии с его новым целевым интерфейсом обязана лишь формировать график требуемой температуры во времени AU_T.















