Отчет по преддипломой практике (пример) (1027144), страница 2
Текст из файла (страница 2)
Движение стола с заготовкой одновременно по координатам Х и У
(вариант 4) также нежелательно, так как это сильно усложнит конструкцию.
Варианты 2 и 3 практически идентичны. Оставшиеся 2 варианта компоновки были рассмотрены при анализе прототипов.
Так как было решено использовать ЛШД для привода перемещения, то следует обратить особое внимание на динамические характеристики установки из-за высоких ускорений развиваемых ЛШД. Согласно этому критерию выбираем вариант 2
(или 3, что практически одно и то же), так как масса стола меньше чем механизм перемещения по оси Х.
В результате окончательно выбран вариант Хи Ус Zи , как в установке Ruchwest.
Также при этом автоматически решается вопрос с направляющими, так как ЛШД такой конструкции сами по себе являются направляющими.
4.2.3 Выбор шпинделя.
Выбор шпинделя сводится к поиску готовых изделий доступных для заказа. Рассмотрим несколько вариантов различных фирм.
Шпиндель должен обладать следующими свойствами:
-
возможность автоматической смены инструмента;
-
возможность изменения частоты вращения шпинделя;
-
надежность;
-
небольшие габариты;
Автоматическая смена инструмента позволит поднять производительность установки, так как она будет производиться без вмешательства оператора по установленной программе.
Регулирование частоты вращения шпинделя также является объективно необходимым свойством, так как оптимальная частота вращения будет изменяться в зависимости от материала заготовки, скорости вертикальной подачи, условий резания.
| Модель | Kavo 4010 | Kavo 4025 | Kavo 4052 | Precise SC40 |
| Авт. смена инструмента | нет | нет | есть | нет |
| Диапазон частот вращения | 500-60000 об/мин | 500-60000 об/мин | 500-50000 об/мин | 30000-90000 об/мин |
| Мощность | 0,15 | 0,15 | 0,14 | 0,17кВт |
Выбираем Kavo 4052.
4.2.4 Выбор способа фиксации заготовок.
Жесткая, надежная, простая, удобная фиксация заготовки на столе определяет в некоторой степени качество изделия. Для нашей установки необходимо выбрать способ крепления приспособления, к которому будет крепиться заготовка. Рассмотрим существующие варианты крепления.
В установке фирмы Bungard стол представляет собой плиту из органического наполнителя, заполненного эпоксидной смолой. В плите сделан ряд отверстий, в которых нарезана резьба. Большим недостатком такого крепления является то, что резьба ненадежна и часто выходит из строя по разным причинам. Так как плита является цельной, то возможность ремонта практически отсутствует.
Во всех остальных установках использованы металлические столы или плиты со стандартными Т-образными пазами. Т-образные пазы являются надежным, универсальным решением для установки приспособлений. Поэтому для проектируемой установки выбираем именно этот способ.
Схемы базирования печатной платы со сравнительными характеристиками приведены в таблице.
| Схема базирования | Критерии выбора | ||||
| 1 | 2 | 3 | 4 | 5 | |
| Каждое отверстие пробивается отдельно вручную | + | + | |||
| + | + | + | + | ||
| + | +* | + | + | ||
| + | + | + | |||
| + | + | + | + | ||
* - только в направлении перпендикулярном линии соединяющей базовые отверстия.
1 - обеспечение требуемой точности пробивания базовых отверстий относительно рисунка топологии печатной платы;
2 - возможность равномерного распределения масштабных искажений возникающих в печатной плате в процессе ее обработки;
3 - возможность пробивки отверстий в различных по размеру заготовках фотошаблонов без перенастройки системы;
4 - отсутствие деформаций печатной платы при ее установке на стол станка;
5 - отсутствие на рабочем поле фотошаблона каких-либо реперных знаков, технологических полей;
В результат выбираем схему базирования с перекрестным расположением базовых отверстий как наиболее точную и универсальную из всех предложенных.
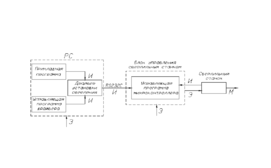
4.2.5 Выбор структуры САУ, локального микроконтроллера и интерфейса с управляющим оборудованием.
Выше было отмечено, что результирующая точность проектируемой установки на основе линейных шаговых двигателей зависит во многом от САУ. Поэтому необходимо четко представлять, какие требования предъявляются к ней со стороны проектировщиков и пользователей.
Во-первых, она должна обеспечивать выполнение основных (целевых) функций, а также выполнять сервисные функции и функции коррекции цели. Во-вторых, САУ должна быть дружественный интерфейс с пользователем.
Рассмотрим коротко часть процесса проектирования печатной платы. Проектирование сейчас ведется в специализированных системах проектирования печатных плат, которые работают под управлением различных операционных систем. Причем сейчас очень часто такой операционной системой становится Windows. На выходе такой системы обычно мы имеем файл в одном из стандартных форматов (HPGL, Excellon и др.). Этот файл потом может обрабатываться специальной управляющей программой, которая обеспечивает интерфейс с установкой и преобразование из формата данных файла в формат установки. Недостаток таких программ часто заключается в том, что они напрямую работают с каналом передачи данных (например RS232C) между управляющим компьютером и блоком управления установкой. Из-за этого они не могут работать под управлением современных операционных систем, которые не позволяют программам работать напрямую с устройствами компьютера (например семейство операционных систем Windows). Выходом из этого положения является разделение функций САУ.
Таким образом, САУ функционально разделяется на два блока – блок управления и персональный компьютер. Однако программных модулей оказывается больше. Сюда добавляется драйвер установки сверления, который отвечает за работу с последовательным интерфейсом, обмен информацией и выполнение срочных действий не терпящих отлагательства. Таким образом, прикладная программа может напрямую посылать программу сверления на сверлильный станок, программа передается драйверу и по необходимости в управляющую программу драйвера. Программа сверления может преобразовываться, контролироваться, сохраняться, и это будет прозрачно как для пользователя, так и для прикладной программы. Таким образом значительно упрощается работа оператора.
В качестве управляющего локального микроконтроллера предлагается использовать микроконтроллер из семейства MCS51. Этот тип микроконтроллеров широко распространен, разработано множество систем программирования, выпускается множество вариантов этого микроконтроллера удовлетворяющих самым разным потребностям.
В качестве интерфейса между PC и блоком управления микроконтроллером предлагается использовать RS232. Он является широко распространенным, простым для программирования и использования, разработано множество устройств сопряжения. Пропускная способность его невелика, но ее вполне достаточно для передачи команд управления станком.
5. Принципиальная схема установки сверления.
5.1 Результат выбора вариационных параметров:
1. Выбор компоновки установки.
1.1 система координат инструмента – декартова;
1.2 тип перемещений стола с изделием и инструмента - Хи Ус Zи ;
2. Выбор отдельных механизмов установки.
2.1 Выбор механизмов перемещения – ЛШД;
2.2 Выбор шпинделя – высокооборотный, с регулируемой частотой вращения. Например, Kavo 4052;
2.3 Выбор способа фиксации заготовок – перекрестная конфигурация базовых отверстий, Т-образные пазы в столе станка;
2.4 Выбор типа направляющих – статор ЛШД;
3. Выбор САУ.
3.1 Выбор структуры САУ - модульная;
3.2 Выбор локального микроконтроллера – из семейства MSC51;
3.3 Выбор интерфейса с управляющим оборудованием – RS232;
5.2 Описание работы установки сверления.
Установка после включения готова к приему команд по последовательному интерфейсу. При приеме команды локальный контроллер записывает ее в буфер. После того, как буфер заполняется, начинается выполнение команд. Такая схема необходима для того, чтобы предупредить сбой в работе установки при ошибке передачи команды или при медленном обмене.
Управление шпинделем осуществляется программно. На его обмотки подаются импульсы напряжения со скважностью 2 и разностью фаз 120 градусов. Меняя частоту подаваемых импульсов, мы меняем частоту вращения шпинделя.
Управление ЛШД осуществляется также программно. На обмотки ЛШД подаются синусоидальные сигналы с разностью фаз 90 градусов. Регулируя программно частоту этих сигналов, мы регулируем скорость перемещения электромагнитного модуля. Программное обеспечение локального микроконтроллера должно обеспечить разгон и торможение ЛШД.
Заключение.
Проведенная работа позволяет сделать следующие выводы:
-
Применение ЛШД в установках электронной промышленности может иметь гораздо более широкое применение, чем на сегодняшний день.
-
Неоспоримые преимущества ЛШД такие как
-
Высокая точность позиционирования и повторяемость;
-
Высокая скорость;
-
Надежность;
-
Компактный и модульный дизайн;
-
В ЛШД используется воздушно-магнитная подвеска, они работают без осей, реек, зубчатых или цепных (ременных) передач и поэтому им не присущи ограничения связанные с нежесткостью, вибрацией, трением или изнашиванием;
-
Из-за отсутствия элементов трансмиссии и преобразования механической энергии ЛШД обладают высокими динамическими характеристиками;
-
ЛШД обладают малым временем позиционирования при возможности изменения скорости от очень высокой до очень малой без использования редукторов;
-
Параметры ЛШД мало зависят от продолжительности работы.
являются несомненно весомым доводом в пользу использования ЛШД при проектировании оборудования самого разного технологического назначени.
-
Высокая цена модулей ЛШД требует тщательной технико-экономической проработки проекта.
-
В условиях постоянного стремления к улучшению точности, надежности, производительности ЛШД позволяют сделать значительный шаг вперед по сравнению с традиционными типами приводов.
















