ГОСТ 2.309-73 (1024375)
Текст из файла
ГОСТ 2.309-73
Устанавливает обозначения, входящие в Единую систему конструкторской документации, для шероховатости поверхностей, а также правила нанесения их на чертежах изделий всех отраслей промышленности. Этот стандарт полностью соответствует стандарту ИСО.
Изменением N 3, принятым Межгосударственным советом по стандартизации, метрологии и сертификации протокол N 21 от 28 мая 2002 г., в настоящий ГОСТ внесены изменения
См. текст ГОСТа в предыдущей редакции
Межгосударственный стандарт ГОСТ 2.309-73
"Единая система конструкторской документации.
Обозначения шероховатости поверхностей"
(утв. постановлением Госстандарта СССР от 9 ноября 1973 г. N 2604)
(с изменениями от 28 мая 2002 г.)
Designations system for design documentation.of surface finish
Срок введения с 1 января 1975 г.
Взамен ГОСТ 2.309-68
1. Обозначение шероховатости поверхностей
2. Правила нанесения обозначений шероховатости поверхностей на
чертежах
Настоящий стандарт устанавливает обозначения шероховатости поверхностей и правила нанесения их на чертежах изделий всех отраслей промышленности.
Стандарт полностью соответствует стандарту ИСО 1302.
1. Обозначение шероховатости поверхностей
1.1. Шероховатость поверхностей обозначают на чертеже для всех выполняемых по данному чертежу поверхностей изделия, независимо от методов их образования, кроме поверхностей, шероховатость которых не обусловлена требованиями конструкции.
1.2. Структура обозначения шероховатости поверхности приведена на черт.1.
При применении знака без указания параметра и способа обработки его изображают без полки.
"Черт. 1 Структура обозначения шероховатости поверхности"
1.3. В обозначении шероховатости поверхности применяют один из знаков, изображенных на черт.2.
"Черт. 2. Знаки для обозначения шероховатости поверхности"
Высота h должна быть приблизительно равна применяемой на чертеже высоте цифр размерных чисел. Высота H равна (1,5...5) h. Толщина линий знаков должна быть приблизительно равна половине толщины сплошной основной линии, применяемой на чертеже.
В обозначении шероховатости поверхности, способ обработки которой конструктором не устанавливается, применяют знак \/ (черт.2а).
В обозначении шероховатости поверхности, которая должна быть образована только удалением слоя материала, применяют знак \-/ (черт.2б).
В обозначении шероховатости поверхности, которая должна быть образована без удаления слоя материала, применяют знак \о/ (черт.2в) с указанием значения параметра шероховатости.
1.4. Поверхности детали, изготовляемой из материала определенного профиля и размера, не подлежащие по данному чертежу дополнительной обработке, должны быть отмечены знаком \о/ без указания параметра шероховатости.
Состояние поверхности, обозначенной знаком \о/, должно соответствовать требованиям, установленным соответствующим стандартом или техническими условиями, или другим документом, причем на этот документ должна быть приведена ссылка, например, в виде указания сортамента материала в графе 3 основной надписи чертежа по ГОСТ 2.104-68.
1.5. Значение параметра шероховатости по ГОСТ 2789-73 указывают в обозначении шероховатости:
после соответствующего символа, например: Ra 0,4; Rmax 6,3; Sm 0,63; t 50 70; S 0,032; Rz 50.
Примечание. В примере t_50 70 указана относительная опорная длина профиля t_p = 70 % при уровне сечения профиля р=50 %.
1.2-1.5. Измененная редакция, Изм. N 2
Пункты 1.5а, 1.5б введены дополнительно, Изм. N 2
1.5а. При указании наибольшего значения параметра шероховатости в обозначении приводят параметр шероховатости без предельных отклонений, например:
______ _____
\/Ra 0,4; \/Rz 50 .
1.5б. При указании наименьшего значения параметра шероховатости после обозначения параметра следует указывать "min",например:
_________ ________
\/Ra 3,2min; \/Rz 50min .
1.6. При указании диапазона значений параметра шероховатости поверхности в обозначении шероховатости приводят пределы значений параметра, размещая их в две строки, например:
0,8
Ra 0,4.
В верхней строке приводят значение параметра, соответствующее более грубой шероховатости.
1.7. При указании номинального значения параметра шероховатости поверхности в обозначении приводят это значение с предельными отклонениями по ГОСТ 2789-73, например:
+20%
Ra 1 + 20%; Rz 100 ; Sm 0,63 ; t 70+-40 % и т.п.
-10% 50
1.6, 1.7. (Измененная редакция, Изм. N 2)
1.8. При указании двух и более параметров шероховатости поверхности в обозначении шероховатости значения параметров записывают сверху вниз в следующем порядке (см. черт.3):
параметр высоты неровностей профиля,
параметр шага неровностей профиля,
относительная опорная длина профиля.
1.9. При нормировании требований к шероховатости поверхности параметрами Ra, Rz, Rmax базовую длину в обозначении шероховатости не приводят, если она соответствует указанной в приложении 1 ГОСТ 2789-73 для выбранного значения параметра шероховатости.
(Измененная редакция, Изм. N 2)
"Черт. 3 Запись значений параметров при указании двух и более параметров шероховатости поверхности в обозначении шероховатости"
1.10. Условные обозначения направления неровностей должны соответствовать приведенным в таблице. Условные обозначения направления неровностей приводят на чертеже при необходимости.
"Рис. Условные обозначения направления неровностей"
"Рис. Условные обозначения направления неровностей (дополнения)"
Высота знака условного обозначения направления неровностей должна быть приблизительно равна h. Толщина линий знака должна быть приблизительно равна половине толщины сплошной основной линии.
1.11. Вид обработки поверхности указывают в обозначении шероховатости только в случаях, когда он является единственным, применимым для получения требуемого качества поверхности (черт.4).
"Черт. 4 Обозначение вида обработки поверхности"
1.12. Допускается применять упрощенное обозначение шероховатости поверхностей с разъяснением его в технических требованиях чертежа по примеру, указанному на черт.5.
"Черт. 5 Упрощенное обозначение шероховатости поверхностей с его разъяснением"
В упрощенном обозначении используют знак \/ и строчные буквы русского алфавита в алфавитном порядке, без повторений и, как правило, без пропусков. (Измененная редакция, Изм, N 2)
1.13. Если направление измерения шероховатости должно отличаться от предусмотренного ГОСТ 2789-73, его указывают на чертеже по примеру, приведенному на черт.6.
"Черт. 6. Случай отличия направления измерения шероховатости от предусмотренного ГОСТ 2789-73"
2. Правила нанесения обозначений шероховатости поверхностей на чертежах
2.1. Обозначения шероховатости поверхностей на изображении изделия располагают на линиях контура, выносных линиях (по возможности ближе к размерной линии) или на полках линий-выносок.
Допускается при недостатке места располагать обозначение шероховатости на размерных линиях или на их продолжениях, на рамке допуска формы, а также разрывать выносную линию (черт.7)
"Черт. 7 Расположение обозначений шероховатости поверхностей на изображении изделия"
2.2. На линии невидимого контура допускается наносить обозначение шероховатости только в случаях, когда от этой линии нанесен размер.
2.3. Обозначения шероховатости поверхности, в которых знак имеет полку, располагают относительно основной надписи чертежа так, как показано на черт.8 и 9.
"Черт. 8. Обозначения шероховатости поверхности, в которых знак имеет полку"
"Черт. 9. Обозначения шероховатости поверхности, в которых знак имеет полку"
2.4. Обозначения шероховатости поверхности, в которых знак не имеет полки, располагают относительно основной надписи чертежа так, как показано на черт.10.
"Черт. 10 Обозначения шероховатости поверхности, в которых знак не имеет полки"
2.5. При изображении изделия с разрывом обозначение шероховатости наносят только на одной части изображения, по возможности ближе к месту указания размеров (черт.11).
"Черт. 11. Обозначение шероховатости при изображении изделия с разрывом"
2.6. При указании одинаковой шероховатости для всех поверхностей изделия обозначение шероховатости помещают в правом верхнем углу чертежа и на изображении не наносят (черт.12).
"Черт. 12 Обозначение шероховатости при указании одинаковой шероховатости для всех поверхностей изделия"
Размеры и толщина линий знака в обозначении шероховатости, вынесенном в правый верхний угол чертежа, должны быть приблизительно в 1,5 раза больше, чем в обозначениях, нанесенных на изображении.
Примечание. При расположении поверхности в заштрихованной зоне обозначение наносят только на полке линии-выноски.
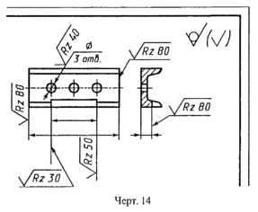
2.7. Обозначение шероховатости, одинаковой для части поверхностей изделия, может быть помещено в правом верхнем углу чертежа (черт.13, 14) вместе с условным обозначением (\/). Это означает, что все поверхности, на которых на изображении не нанесены обозначения шероховатости или знак \о/ , должны иметь шероховатость, указанную перед условным обозначением (\/) .
Размеры знака, взятого в скобки, должны быть одинаковыми с размерами знаков, нанесенных на изображении.
Примечание. Не допускается обозначение шероховатости или знак \о/ выносить в правый верхний угол чертежа при наличии в изделии поверхностей, шероховатость которых не нормируется.
"Черт. 13. Обозначение шероховатости, одинаковой для части поверхностей изделия"
Характеристики
Тип файла документ
Документы такого типа открываются такими программами, как Microsoft Office Word на компьютерах Windows, Apple Pages на компьютерах Mac, Open Office - бесплатная альтернатива на различных платформах, в том числе Linux. Наиболее простым и современным решением будут Google документы, так как открываются онлайн без скачивания прямо в браузере на любой платформе. Существуют российские качественные аналоги, например от Яндекса.
Будьте внимательны на мобильных устройствах, так как там используются упрощённый функционал даже в официальном приложении от Microsoft, поэтому для просмотра скачивайте PDF-версию. А если нужно редактировать файл, то используйте оригинальный файл.
Файлы такого типа обычно разбиты на страницы, а текст может быть форматированным (жирный, курсив, выбор шрифта, таблицы и т.п.), а также в него можно добавлять изображения. Формат идеально подходит для рефератов, докладов и РПЗ курсовых проектов, которые необходимо распечатать. Кстати перед печатью также сохраняйте файл в PDF, так как принтер может начудить со шрифтами.
















