шпоры общ. тактика (1021132), страница 2
Текст из файла (страница 2)
2) К противопехотным невзрывным заграждениям относятся проволочные сети, заборы, спирали, проволока «внаброс», засеки, рогатки и ежи.
Проволочная сеть на высоких кольях устраивается из трех–пяти рядов кольев длиной 1,0–1,75 м, забитых в шахматном порядке и оплетенных колючей проволокой. Наружные ряды кольев оплетаются пятью нитями: две по диагоналям и три горизонтально. Внутренние ряды кольев и промежутки между рядами оплетаются тремя нитями. На устройство 100 погонных метров проволочной сети на высоких кольях требуется 120 человека часа.
Рогатки, ежи, проволочные спирали и малозаметные проволочные сети (МЗП) применяются для установки на дорогах, в траншеях, для закрытия проходов и повреждений в заграждениях, а также на болотистой местности и зимой.
Проволочные заборы устраиваются из одного ряда кольев, оплетенных пятью нитями колючей проволоки.
Проволочная сеть на низких кольях. Колья длиной 70 см в шахматном порядке с возвышением над поверхностью земли на 25–30 см. Каждый ряд кольев и промежутки между рядами оплетаются проволокой в две нити.
Засека устраивается из деревьев, сваливаемых (причем деревья не отделяются полностью от пней) в сторону противника. Она может усиливаться минами и оплеткой деревьев колючей проволокой.
11. Минно-взрывные инженерные заграждения, их назначение, тактико-технические характеристики, устройство и установка.
Инженерные заграждения – это искусственно созданные препятствия, имеющие целью задержать продвижение противника, затруднить его маневр, нанести ему потери в живой силе и технике.
Минно-взрывные заграждения – основа инженерных заграждений, которые устанавливаются из различных мин и подрывных зарядов, с помощью заградителей, дистанционных систем минирования и вручную с целью поражения живой силы и техники противника и разрушения вражеских объектов.
Минно-взрывные заграждения:
-
Управляемые – после установки могут содержаться в боевом или безопасном состоянии
-
Неуправляемые – после боевого взвода не могут быть переведены в безопасное состояние
Инженерная мина – это боеприпас, предназначенный для поражения личного состава, техники и других объектов противника.
Противотанковые мины:
-
Противогусеничные (Т-57, ТМ-62)
-
Противоднищевые (ТМ-72)
-
Противокрышевые(Темп-30)
-
Противобортовые(ТМ-83)
ТМ –57 Принцип действия мины со взрывателем МВЗ-57: при наезде на установленную мину ее крышка деформируется; ударный механизм взрывателя, опускаясь вниз, упирается втулкой с капсюлем-детонатором в диафрагму мины; при дальнейшем нажатии срезается чека, шарики освобождают ударник; под воздействием боевой пружины ударник накалывает капсюль-детонатор, вызывая его взрыв и взрыв мины. ТМ –62 Отличия от ТМ-57: 1) датчик цели находится непосредственно не взрывателе 2) для того, чтобы обеспечить перевод в дежурное или предбоевое положение нет необходимости снимать взрыватель.
Противопехотные мины:
-
Фугасные (1 человечу поражают) (ПМН-1)
-
Осколочные кругового(ОЗМ-72) и направленного (МОН-50) поражения
-
Пулевые (1 человечу поражают)
МОН-50 взрывается от электродетонатора или механич. способом. Уст-ют на грунт (снег) на ножках или крепят на местные предметы. ОЗМ-72 (выпрыгивает) срабатывает в тот момент, когда солдат, зацепившись ногой за проволочную растяжку невольно выдернет боевую чеку взрывателя. ПМН-1Поражение наносится стопе при взрыве заряда мины в момент наступания на нажимную крышку мины.
12. Действия личного состава при нахождении на заминированной местности и при обнаружении взрывоопасных предметов
-
При обнаружении мин или при подозрении на минирование нельзя самостоятельно пытаться извлечь мину с места установки или обезвредить ее. Хороший профессионал всегда позаботится. чтобы установленная им мина имела устройство необезвреживаемости или неизвлекаемости. Эту работу должны производить саперы. До их прибытия необходимо оградить или хотя бы обозначить опасный участок специальными знаками с надписями «мины», а личный состав должен находиться на безопасном расстоянии от мин.
-
Как правило, на минных полях устанавливаются смешанные (противотанковые и противопехотные) мины. При нахождении в опасной близости от мин личный состав может пострадать от взрыва (по истечении срока самоликвидации, при срабатывании от упавших веток, при сильном ветре и т.д.). Некоторые боеприпасы могут быть опасны на удалении до 300 метров.
-
Мины снимаются с места и обезвреживаются только если подрыв их на месте невозможен. При этом извлечение мины с места установки необходимо производить при помощи саперной «кошки» с безопасного расстояния.
-
Разминирование должно производиться в специальном снаряжении. Но такого снаряжения, как правило, нет, поэтому обходятся только бронежилетом.
-
Установленные мины искусно маскируются. Для затруднения их поиска миноискателями рассыпается большое количество осколков, гильз. Для притупления чувствительности собак минно-розыскной службы мины могут поливать горюче-смазочными материалами, рассылать вокруг дробленое взрывчатое вещество.
-
В случае обнаружения предмета неизвестного назначения, запрещается брать его в руки, необходимо прекратить работы и вызвать специалиста.
-
Категорически запрещается приносить в расположение войск и хранить взрывоопасные предметы.
-
Категорически запрещается разряжать, бросать или ударять по обнаруженным взрывоопасным предметам.
-
Запрещается разбирать руками проволочные заграждения, выдергивать проволоку` обнаруженную на земле, в траве или кустарнике, т.к. возле них могут быть установлены мины-сюрпризы натяжного действия. Проволоку необходимо стаскивать с помощью «кошки» с веревкой длиной 50 м, находясь в укрытии.
-
Места для разведения костров должны быть перекопаны на глубину 40-60 см и проверены на отсутствие взрывоопасных предметов щупом или металлоискателем.
-
Движение гусеничной и колесной техники через передний край обороны противника разрешается только по проходам, предварительно обследованным саперами. Отклонение техники от обозначенных маршрутов запрещается.
-
Категорически запрещается уничтожение взрывоопасные предметы лицам, не имеющим специального на то разрешения-допуска.
13. Назначение, классификация фортификационных сооружений, шанцевый инструмент, используемый для устройства фортификационных сооружений.
(Шанцевый инструмент — ручной инструмент, предусмотренный по штату в воинских подразделениях и предназначенный для выполнения инженерных работ)
Позиция-участок местности, оборудованный в фортификационном отношении для ведения боевых действий подразделением.
Фортификация - наука об искусственных закрытиях и преградах, усиливающих расположение войск во время боя.
Фортификационное сооружение - постройка, предназначенная для укрытого размещения и наиболее эффективного применения оружия, военной технике, пунктов управления, а также для защиты войск, населения и объектов тыла страны от воздействия средств поражения противника.
Фортификационные сооружения:
-
Полевые
-
Долговременные
Примеры полевых: окопы, траншеи, ходы сообщения, котлованные укрытия, блиндажи, рвы, лесные завалы, баррикады, проволочные заграждения.
Долговременные – как полевые, только более серьезно оборудованы (ж/б конструкции)
Для отрывки окопа используется:
-
Малая пехотная лопата
-
Кирка
-
Большая сапёрная лопата
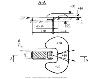
14. Одиночные окопы для стрелков, их элементы и размеры.
Одиночный окоп представляет собой выемку с насыпью впереди и с боков, обеспечивающую удобное размещение оружия и солдата при ведении огня и защиту от средств поражения противника.
О
диночный окоп для стрельбы лежа.
В одиночном окопе для стрельбы лежа выемка делается шириной 60 см, длиной 170 см и глубиной 30 см, чтобы солдат в ней был полностью скрыт. Для удобства стрельбы в передней части выемки оставляется порожек шириной 25-30 см на 10 см выше дна окопа, обеспечивающий опору для локтей. Вынутая при отрывке земля выбрасывается вперед (в сторону противника) и образует насыпь, которая называется бруствером.
При ведении огня из окопа в сторону одного из флангов, высота бруствера окопа со стороны противника (с фронта) делается на 20 см больше, чем в секторе обстрела. Объем вынутого грунта 0,3 м3. На устройство требуется 0,5 чел. час.
Одиночный окоп для стрельбы с колена и стоя.
Одиночный окоп для стрельбы с колена и стоя устраивается путем доотрывки в глубину одиночного окопа для стрельбы лежа соответственно до 60 см и 110 см. При отрывке окопа грунт выбрасывается вперед и в стороны, создавая бруствер высотой 40–60 см. В секторе обстрела высота бруствера уменьшается до 30 см, образуя выемку с пологими скатами – открытую бойницу.
Объем вынутого грунта при оборудовании одиночного окопа для стрельбы из автомата с колена 0,8м3; на устройство требуется 1,2 чел. час. Объем вынутого грунта при оборудовании одиночного окопа для стрельбы из автомата стоя 1,4 м3; на устройство этого окопа требуется 1,5 чел. час.
Одиночный окоп для стрельбы стоя на дне рва в полтора раза снижает радиус зоны поражения при воздействии атомного оружия по сравнению с размещением на открытой местности.
15. Порядок отрывки одиночного окопа.
Порядок отрывки одиночного окопа для стрельбы лежа под огнем противника:
-
Лежа на выбранном месте, солдат кладет автомат справа от себя на расстояние вытянутой руки дулом к противнику;
-
Повернувшись на левый бок, вытягивает левой рукой за лоток лопату из чехла, обхватывает черенок двумя руками и ударами на себя подрезает дерн или верхний уплотненный слой земли, обозначая спереди и с боков границы выемки;
-
После этого перехватывает лопату и ударами от себя отворачивает дерн, кладет его спереди и приступает к отрывке.
Во время работы следует:
-
лопату врезать в землю углом лотка не отвесно, а наискось;
-
тонкие корни перерубать острым краем лопаты;
-
для образования бруствера дерн и землю выбрасывать вперед в сторону противника, оставляя между краем выемки и бруствером небольшую площадку, называемую бермой, шириной 20–40 см;
-
голову держать ближе к земле, не прекращая наблюдения за противником.
Одиночный окоп для стрельбы лежа: L=170 см, глубина 30 см, ширина 70-80 см. Слева и справа насыпь.
Одиночный окоп для стрельбы с колена и стоя устраивается путем доотрывки в глубину одиночного окопа для стрельбы лежа соответственно до 60 см и 110 см
16. Окопы для БМП, БТР и танков.
Окопы - это земляные сооружения для ведения огня из боевой техники и защиты от огня противника.
Окоп для техники:
-
Сквозной (позволяющим въезд и выезд техники в обоих направлениях). Как правило, при отрывке сооружения машинным способом
-
Тупиковый (въезд и выезд только в одну сторону). Как правило, при отрывке вручную большими саперными лопатами
Особенности:
В обязательном порядке в наиболее низком месте дна окопа (укрытия) устраивается водосборный колодец, а при возможности водосливный колодец. В слабых грунтах на дно сооружения и аппарель укладываются жерди, фашины. бревна, щиты с тем, чтобы машина не увязла в окопе и могла выехать из него без посторонней помощи.
Конструкция:
Для танка, БМП, БТР глубина окопа зависит от выбранного способа ведения огня. Окоп с круговым обстрелом обеспечивает круговое наблюдение и ведение огня в любом направлении, но снижает защищенность машины. Окоп с ограниченным сектором обстрела ограничивает огневые возможности машины, но делает ее практически неуязвимой от огня противника (передняя часть башни танка имеет наилучшую бронезащиту, и кроме того, противнику очень трудно обнаружить и поразить столь малоразмерную цель). Во всех случаях танк в окопе успешно противостоит трем - четырем танкам противника, находящимся на открытой местности.
















