Введение в программирование (1017128), страница 2
Текст из файла (страница 2)
Циклический алгоритм позволяет существенно сократить объем программы.
Для организации цикла необходимо предусмотреть:
- задание начального значения параметра цикла – переменной, которая будет изменяться при повторениях цикла;
- изменение значения этой переменной перед каждым новым повторением цикла;
- проверку условия окончания повторений по значению параметра и переход к началу цикла, если повторения не закончены.
Пример 1. Вычислить сумму: S=12+22+32+…+n2=∑i2 ,
где n – заданное число.
Предлагается следующий алгоритм решения задачи.
Шаг 1. Ввести n.
Шаг 2. Положить S=0 (обнуление ячейки суммы).
Шаг 3. Положить i = 1.
Шаг 4. Вычислить i2 и прибавит к текущему значению S: обозначение: S=S+i2 .
Шаг 5. Увеличить i на 1; обозначение: i = i + 1.
Шаг 6. Сравнить i с n; если i < n, вернуться к шагу 4, иначе перейти к шагу 7.
Шаг 7. Вывести S.
Шаг 8. Останов.
Основная повторяющаяся операция: S=S+i2 выполняется при различных значениях i. Величина i называется параметром цикла. В рассмотренном примере параметр цикла изменяется от начального значения i = 1 до конечного i = n с шагом 1.
Варианты: 1) S=12+32+52+…
2) S=1*2*3*…*n
Задача. Задача табулирование функции. Требуется построить таблицу значений функции y=f(x) на отрезке [a, b] с шагом h, т.е. вычислить значения функции в точках x=a, a+h, a+2h, … , b вывести их на печать.
Задача. Составить схему алгоритма вычисления 100 значений функции y=sin(ax)/x при xi=1,2,3,…,100. Очевидно, что для определения всех значений функции y необходимо 100 раз вычислять по этой формуле значения y и печатать их, изменяя каждый раз аргумент x на единицу. Цикл должен повторяться, пока x<100. Если х станет больше 100, то будет осуществлен выход из цикла, т.е. переход к следующему по порядку действию. Если какие-либо операторы необходимо выполнить несколько раз, то их не переписывают каждый раз заново, а организуют цикл.
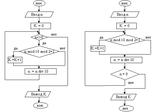
Пример 2. Подсчитать количество нечетных цифр в записи натурального числа n.
Идея решения. Из заданного числа выбирать из младшего разряда цифру за цифрой до тех пор, пока оно не исчерпается, т.е. станет равным нулю. Каждую нечётную цифру учитывать.
|
|
| 1. Ввести число n 2. K := 0 {подготавливаем счётчик} 3. Если n = 0, переход к п. 4. Если n mod 10 mod 2 = 1, то K := K +1 5. n := n div 10 6. Переход к п. 3 7. Вывод K 8. Конец |
Задача решена двумя способами. Слева решение оформлено с использованием цикла с предусловием, справа — с постусловием.
Пример 3. Дана последовательность, общий член которой определяется формулой
Вычислить при n>2 сумму тех ее членов, которые больше заданного числа .
При решении задачи находится очередной член последовательно и, если он больше , добавляется к сумме.
|
| 1. Ввести 2. S := 0 3. A := 1/4 4. n := 3 5. Сравнить А с . Если A>=, переход к п. 10 6. S := S + A 7. A := (n-1)/(n*n) 8. n := n + 1 9. Переход к п. 5 10. Вывод S 11. Конец |
В рассмотренных выше примерах количество повторений заранее неизвестно. В первом оно зависит от количества цифр в записи натурального числа, во втором — от числа .
В тех же случая, когда количество шагов известно из условия задачи, проще и предпочтительней использовать цикл с параметром.
Пример 4. Найти произведение первых k натуральных чисел, кратных трём.
При составлении алгоритма учтем, что первое натуральное число, кратное 3, есть тройка, а все последующие больше предыдущего на 3.
|
| 1. Ввод k 2. P := 1 {здесь накапливаем произведение} 3. T := 0 {здесь будут числа, кратные 3} 4. I := 1 5. Если I > k, переход к п. 10 6. T := T + 3 7. P := P * T 8. I := I + 1 9. Перейти к п. 5 10. Вывод P 11. Конец |
Пример алгоритма.
Другие примеры будут записаны уже на ЯПВУ. В настоящем же разделе предпринята попытка продемонстрировать, что изучение программирования разумно начинать собственно с разработки алгоритмов, не акцентируя первоначально внимания на записи алгоритма на том или ином языке программирования. В то же время сторонники структурного подхода к программированию предлагают придерживаться этого подхода и при программировании на уровне блок-схем.















