2.5 Лаб работа 5 (1013945), страница 2
Текст из файла (страница 2)
Bisect – вектор, являющийся биссектрисой угла, образованного двумя другими векторами
Normal – вектор, перпендикулярный плоскости, определяемой двумя другими векторами
Axis – направление вектора совпадает с направлением какой-либо оси указанной системы координат
Global Axis – то же, что и Axis, но позволяет указывать направления осей только глобальной декартовой системы координат
Tangent – вектор, касательный к кривой
Normal to Surface – вектор, перпендикулярный поверхности
Normal to View – вектор перпендикулярный плоскости изображения
П
осле этого отступления вновь вернемся к команде Model – Load – Nodal. Но теперь при выборе нагружаемых узлов выберем не один узел, а все узлы на правой границе пластины. В окне Create Loads on Nodes задайте силу с компонентой 10 по оси X и с нулевыми компонентами по осям Y и Z.
Результат, который вы видите в графическом окне:
1) вы можете задать одинаковые силы сразу на нескольких узлах;
2) если в узле, в котором вы задаете нагрузку, ранее уже была задана другая нагрузка, то результатом будет их суммарное воздействие.
Но и это еще не все, что вы должны знать о команде Model – Load – Nodal. До сих пор мы обходили молчанием рамку Methods. А между тем именно ее опции дают большие возможности по ускорению и автоматизации задания нагрузок.
До сих пор мы оставляли в этой рамке включенную по умолчанию опцию Constant. В этом случае ко всем выбранным узлам прикладывается одна и та же нагрузка, определенная в окошках рамки Load. Теперь давайте выберем узлы на верхней границе пластины, как показано на рисунке.
В
рамке Methods теперь включим опцию Variable (переменная), а в окошко FY рамки Load занесем следующий текст:
0.1*xnd(!i)
Что этот текст означает? xnd() – это встроенная функция FEMAP, которая возвращает абсциссу узла с номером, указанным в качестве аргумента. А !i (буква i с восклицательным знаком впереди) – это встроенная переменная FEMAP, которая равна номеру текущего узла. Что произойдет, когда мы нажмем кнопку OK в боксе Create Loads on Nodes? FEMAP начнет последовательно обрабатывать выбранные узлы. Сначала он рассмотрит первый выбранный узел и вычислит значение нагрузки, подставив вместо xnd(!i) значение абсциссы этого узла. Затем он повторит эти же действия для второго узла, и вместо xnd(!i) будет использоваться абсцисса уже этого второго узла. Далее таким же образом обрабатывается третий, четвертый и все остальные выбранные узлы.
Таким образом, всего одним обращением
к команде Model – Load – Nodal вам удалось для целой группы узлов создать нагрузки, линейно изменяющиеся в зависимости от их абсциссы.
Этот результат вы видите в графическом окне. Правда можно высказать сожаление по поводу того, что FEMAP все нагрузки, независимо от их величины, изображает отрезками одинаковой длины. Однако цифровые значения, написанные рядом с этими стрелками, показывают, что вы добились именно того результата, к которому стремились. Созданные силы линейно зависят от координаты X.
3.2. Объемные нагрузки (Load - Body)
Объемные нагрузки (body loads) действуют на все элементы вашей модели и представляют собой общие движения, ускорения или температуры. Прежде чем задавать значения нагрузок, вы должны поставить флажок в опции Active, нужной вам категории нагрузок. Объемные нагрузки могут быть разделены на вызванные ускорениями (Acceleration), вызванные скоростями (Velocity) и тепловые (Thermal).
Acceleration
Эти объемные нагрузки обусловлены постоянными поступательными и/или вращательными ускорениями. Вводимые значения определяются в глобальных направлениях. Поступательные ускорения часто используются для представления гравитационных нагрузок.
Velocity
Этот тип объемной нагрузки обусловлен вращением с постоянной скоростью, и получающиеся нагрузки вызываются центростремительным ускорением.
Origin
Здесь указывается положение центра вращения для объемных нагрузок вращения (скорость вращения и ускорение вращения).
Thermal
Температура по умолчанию – это температура всех узлов/элементов, для которых в этом Load Set температура не задается посредством узловых или элементных тепловых нагрузок (Nodal Temperature или Elemental Temperature). Эта опция может быть использована для быстрого присваивания температуры всей модели.
Для нашей пластины введите учет силы тяжести, введя ускорение 9.81м/сек2, направленное вверх. Обратите внимание, что такое определение будет иметь смысл только в том случае, если вы не забыли определить плотность материала. Если же забыли, исправьте оплошность с помощью команды Modify – Edit – Material.
3.3. Нагрузки на элемент (Load Elemental)
Команда используется для создания элементных нагрузок (Elemental Loads). Процесс очень похож на Model Load Nodal. Вы должны сначала выбрать элементы, к которым будут приложены нагрузки, используя стандартный диалоговый бокс выбора объектов. Затем другой диалоговый бокс позволит вам определить тип нагрузки и значения, подобно диалоговому боксу Model Load Nodal. Главное отличие состоит в том, что вы не будете иметь возможности указать направление. Все элементные нагрузки имеют некоторое установленное направление (обычно нормальное к грани элемента).
В FEMAP’е имеется семь типов элементных нагрузок: Distributed Loads on Line Elements (распределенные нагрузки на одномерных элементах), Pressure (давление), Temperature (температура) и четыре нагрузки теплопередачи – Heat Generation (генерация тепла), Heat Flux (тепловой поток), Convection (конвекция) и Radiation (излучение). Вновь так же, как и для узловых нагрузок, вы должны сначала выбрать тип нагрузки.
Т
акже как и для узловых нагрузок, вы можете использовать метод Variable, чтобы задавать нагрузки в зависимости от положения элементов. При этом удобно использовать встроенные функции FEMAP ‑ XEL(), YEL(), ZEL(), которые возвращают координаты центра тяжести элемента.
Creating Distributed Loads – создание распределенных нагрузок
Распределенные нагрузки – это силы, приложенные вдоль длины одномерных элементов (Bars, Beams…). Значения этих нагрузок указываются как сила, приходящаяся на единицу длины.
Вы можете указать разные значения на каждом конце элемента. Если вам нужна постоянная вдоль длины нагрузка, вы должны указать одни и те же значения на конце А (End A) и на конце B (End B). Если в End B вы оставите пробел, на этом конце будет приложена нулевая нагрузка.
Distributed Load Direction – Направление распределенных нагрузок
П
осле того как вы укажете величину нагрузки, нажмите OK. Вам будет предложен диалоговый бокс для определения направления нагрузки. Вы можете указать направление вдоль какой-либо оси элемента, либо глобальной оси. Произвольное направление или направление оси любой другой системы координат указать невозможно.
Creating Pressure Loads – создание нагрузок давления
Элементные нагрузки давления всегда действуют нормально грани элемента или границе. Поэтому вы можете приложить давление только к плоским или трехмерным элементам.
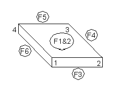
При задании давления необходимо указать грань, на которую действует давление. Нумерация граней для плоского элемента показана на рисунке
З
десь цифры 1, 2, 3, 4 указывают порядок перечисления узлов элемента, а F1, F2 и так далее указывают принятую нумерацию граней.
Для пластины задайте давление 1 кГ/см2, действующую на обращенную к вам поверхность.
5. Резюме
Файл, который должен был у вас получиться в результате сегодняшнего занятия, обязательно сохраните. Его необходимо будет использовать на следующем занятии, где будет продолжено изучение нагрузок и граничных условий.
По результатам сегодняшнего занятия вы должны:
-
Задавать узловые силы и перемещения. Уметь использовать, как метод Constant, так и метод Variable.
-
Определять объемные силы – на примере сил тяготения и сил инерции.
-
Уметь прикладывать нагрузки давления к плоским элементам и распределенные нагрузки к линейным элементам
-
Уверенно использовать стандартный диалоговый бокс задания вектора.
3.4. Задание нагрузок на геометрических объектах. Нагрузка на линию (Load – On Curve)
Н
адо сразу отметить, что с помощью этих команд нагрузки на самом деле создаются в узлах и элементах. FEMAP просто освобождает нас от необходимости вручную рассчитывать силу, приходящуюся на один узел. Рассмотрим сначала процедуру задания нагрузки на линии на простом примере, а затем подвергнем ее детальному рассмотрению. Откройте файл, созданный в ходе прошлого занятия.
Прежде всего, создадим новый набор нагрузок. Для этого выполним команду Model – Load – Set. Появляется диалоговый бокс создания или активизации набора нагрузок (Create or Activate Load Set). Для создания нового набора в окошке ID надо указать такой номер набора, какого нет среди уже имеющихся. Список имеющихся наборов приводится в окне под ID. В окошке Title, как всегда, следует задать название, которое поможет нам в будущем быстро вспомнить о том, какие нагрузки задавались в этом наборе.
О
свежите изображение (Ctrl-D или View-Redraw). Надеюсь, что вы не удивитесь тому, что после этого с картинки исчезнут все стрелочки, которые изобра-жают нагрузки, созданные на прошлом занятии. Для непонятливых все-таки поясню, что произошло. Если вы еще не забыли, с помощью команды View Select и кнопки Model Data вы дали указание FEMAP’у изображать нагрузки активного набора. Сейчас вы создали новый набор нагрузок, и он автоматически становится активным. А поскольку в этом новом наборе пока не описано ни одной нагрузки, то и в графическом окне нет ни одной зеленой стрелки.
Теперь давайте попробуем приложить к правой границе нашей пластины продольную распределенную нагрузку интенсивностью 10 кГ/мм. Выполните команду Model - Load – On Curve, в боксе выбора объекта укажите ту сторону прямоугольной пластины, к которой хотите приложить нагрузку. После этого вы увидите бокс Create Loads on Curves (создание нагрузок на кривых). С этим боксом мы уже кратко знакомились на первом занятии. Выбираем в окне типов нагрузки Force Per Length (погонная сила), величину нагрузки, направленной вдоль оси X, как и собирались, установим равной 10 кГ/мм.
Р
езультат вашей работы будет отражен в графическом окне следующим образом.
Н
а первом занятии мы приняли этот результат как должное. Теперь пришло время разобраться, что же именно мы сделали, и как это будут понимать FEMAP, а затем и NASTRAN. Надеюсь, вы помните, что в методе конечных элементов все внешние силы должны прикладываться в узлах. Поэтому хотя нам самим понятно, что мы хотели заказать – погонную силу, равномерно распределенную по границе пластины, не совсем понятно, как это наше пожелание будет трактоваться с точки зрения метода конечных элементов.
Перечислю самые важные моменты:
-
На самом деле FEMAP преобразуют заданную погонную нагрузку в узловые силы, умножая погонную силу, на длину границы, приходящуюся на узел.
-
Нагрузка прикладывается к тем узлам, которые были сгенерированы на этой линии с помощью команды Mesh – Geometry. При выполнении команды Mesh - Geometry программа FEMAP запоминает, что узлы были созданы в результате построения на данном геометрическом объекте – линии. Эти узлы считаются присоединенными к данной линии. Если бы вы построили конечно-элементную сетку негеометрическими средствами, например, с помощью команд копирования, а затем провели бы линию, проходящую через нужные вам узлы, то выполнение команды Model - Load – On Curve не даст эффекта. Точнее FEMAP запомнит, что к данной линии вы попросили приложить нагрузку и даже нарисует стрелки, изображающие эту нагрузку. Однако поскольку он не сможет найти узлов, присоединенных к этой линии (присоединение осуществляется в результате команды Mesh - Geometry), то эта нагрузка в действительности ни к чему не будет приложена.
-
Перерасчет распределенной нагрузки в соответствующие узловые FEMAP выполняет в последний момент – при трансляции файла MOD в формат NASTRAN’а (команда File – Export – Analysis Model). Это позволяет, если возникнет необходимость в изменении значения или направления нагрузки исправить только нагрузку на линии, а не возиться с каждым узлом в отдельности.
Т
еперь, когда механизм распределения «геометрических» нагрузок кратко изложен, рассмотрим подробнее возможности, предоставляемые окном Create Loads on Curves. Вновь выполните команду Model – Load – On Curve, выберите какую-нибудь другую линию, например верхнюю горизонтальную границу. Отметим еще раз, что под синей титульной линейкой находится полезная подсказка (Load Set 2 Load on Curve), напоминающая о том, с каким набором нагрузки вы работаете в данный момент.
В левой части бокса находится список типов нагрузок, которые вы можете задавать на кривой. Первые три типа приводят фактически к одному и тому же результату – нагрузка прикладывается к узлам, присоединенным к выбранной кривой. Вам просто предоставляется возможность по-разному задать величину этой нагрузки:
Force (сила) – задается вся сила, приложенная к линии;
















