Курсовая работа - Определение социально-экономической эффективности осуществления мероприятий по защите атмосферы (1006493), страница 2
Текст из файла (страница 2)
Как пример рассмотрим коагулятор-осветлитель для доочистки сточных вод от взвешенных частиц с dч = 2;10;60 мкм; краски 5 мкм и масел. Эффективность очистки составляет 90-92%.
Коагуляция - это процесс укрупнения дисперсных частиц в результате их взаимодействия и объединения в агрегаты. В очистке сточных вод ее применяют для ускорения процесса осаждение тонкодисперсных примесей и эмульгированных веществ.
Коагуляция наиболее эффективна для удаления из воды коллоидно-дисперсных частиц, т. е. частиц размером 1-100 мкм. В процессах очистки сточных вод коагуляция происходит под влиянием добавляемых к ним специальных веществ - коагулянтов. Коагулянты в воде образуют хлопья гидроксидов металлов, которые быстро оседают под действием силы тяжести.
Х
лопья обладают способностью улавливать коллоидные и взвешенные частицы и агрегировать их. Так как коллоидные частицы имеют слабый отрицательный заряд, а хлопья коагулянтов слабый положительный заряд, то между ними возникает взаимное притяжение.
Д
ля коллоидных частиц характерно образование на поверхности частиц двойного электрического слоя. Одна часть двойного слоя фиксирована на поверхности раздела фаз, а другая создает облако ионов, т. е. одна часть двойного слоя является неподвижной, а другая подвижной (диффузный слой). Малый размер коллоидных частиц загрязнений и отрицательный заряд, распределенный на поверхности этих частиц, обусловливает высокую стабильность коллоидной системы.
Сточная вода по трубе поступает в воздухоотделитель. Затем вода движется по центральной трубе к распределительным трубам, которые заканчиваются соплами для распределения и вращения воды в кольцевой зоне, куда вводят коагулянт. Хлопья коагулянта образуются в кольцевой зоне. Частицы масла с хлопьями оседают на дно и их удалят из аппарата. Осветленная вода через отверстие попадает в желоб, откуда ее направляют на использование.
При коагуляции происходит дестабилизация коллоидных частиц вследствие нейтрализации их электрического заряда. Эффект коагуляции зависит от валентности иона коагулянта, несущего заряд, противоположный знаку заряда частицы. Чем выше валентность, тем более эффективно коагулирующее действие.
Для начала коагуляции частицы должны приблизиться друг к другу на расстояние, при котором между ними действуют силы притяжения и химического сродства. Сближение частиц происходит в результате броуновского движения, а также при ламинарном или турбулентном движении потока воды. Коагулирующее действие солей есть результат гидролиза, который проходит вслед за растворением.
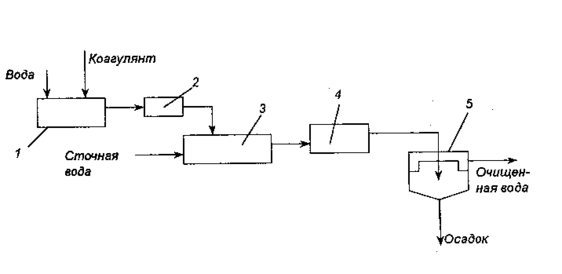
Схема установки для очистки вод коагуляцией.1-емкость для приготовления раствора; 2-дозатор; 3-смеситель; 4-камера хлопья образования; 5-отстойник.
Процесс гидролиза коагулянтов и образования хлопьев происходит по следующим стадиям:
Me3+ + HOH = Ме(ОН)2- + Н+
Me(OH)2- + НОН = Ме(ОН)2+ + Н+
М
е(ОН)2+ + HOH = Me(OН)3 + Н+
Me3+ + НОН = Ме(ОН)3 + 3Н+
В действительности процесс гидролиза протекает значительно сложнее. Ион металла образует ряд промежуточных соединений в результате реакций с гидроксид-ионами и полимеризации. Образующиеся соединения имеют положительный заряд и легко адсорбируются отрицательно заряженными коллоидными частицами.
В качестве коагулянтов обычно используют соли алюминия, железа или их смеси. Также могут быть использованы различные глины, алюминийсодержащие отходы производства, травильные растворы, пасты, смеси, шлаки, содержащие диоксид кремния. Выбор коагулянта зависит от его состава, физико-химических свойств и стоимости, концентрации примесей в воде, от рН и солевого состава воды.
Входящая концентрация взвешенных частиц с dч = 2;5;10;60 мкм – 117 мг/л (ПДК = 0,75 мг/л), масла – 94 мг/л (ПДК = 0,1 мг/л). Очищаем воды от взвешенных частиц и краски до концентрации 0,117 мг/л за 3 ступени., и от масел - до 0,094 мг/л также за 3 ступени.
4. Источники финансирования природоохранных мероприятий
Основным источником финансирования природоохранных мероприятий являются собственные средства предприятий и организаций – в Московской области в 2004 г. они составили 479,3 млн. рублей (89 %). Из местного бюджета за 2004 г. на эти цели профинансировано 9 % всех затрат, 76 % которых положены на охрану и рациональное использование водных ресурсов, 24 % - на охрану земель. Из федерального бюджета использовано 11,0 млн. рублей (2 % всех затрат), две трети которых направлены на охрану земель
Финансирование природоохранных мероприятий за счет средств бюджета г. Москвы осуществляется за счет следующих источников:
- текущие расходы (раздел 0900 «Охрана окружающей природной среды и природных ресурсов») – финансирование мероприятий по текущему содержанию, капитальному ремонту и восстановлению зеленых насаждений, на которые направляется около 80% всех средств по указанному разделу, а также по цветочному оформлению, экологическому мониторингу, развитию ООПТ, содержанию приютов для бездомных животных;
- капитальные вложения (Адресная инвестиционная программа, раздел «Охрана окружающей среды») – финансирование нового строительства капитальных гидро- и газоочистных сооружений, комплексов по переработке ТБО, реконструкции капитальных очистных сооружений, мусоросжигательных заводов, работ по рекультивации полигонов ТБО;
- ЦБТЭФ (Целевой бюджетный территориальный экологический фонд) – финансирование работ по компенсационному озеленению, на которые выделяется около 90% всех средств ЦБТЭФ, а также по восстановлению и экологической реабилитации городских водоемов (в т.ч. родников), экологическому мониторингу, НИОКР, экологическому образованию населения.
Расходование средств ЦБТЭФ на природоохранные мероприятия осуществляется по следующим направлениям:
По статье «Сохранение и восстановление природных комплексов» осуществляется финансирование мероприятий по компенсационному озеленению (восстановлению утраченных зеленых насаждений), а также развитию территорий природного комплекса (в том числе восстановление естественных растительных сообществ и биологического разнообразия).
По статье «Экологический мониторинг» финансируются мероприятия по:
- замене измерительного оборудования с истекшим сроком службы и дооснащению станций контроля качества атмосферного воздуха;
- созданию банка данных по выбросам от антропогенных источников (промышленность и автотранспорт);
- разработке программного обеспечения для оперативного получения данных со станций контроля качества окружающей среды и передаче указанных данных;
- созданию баз данных по компонентам природной среды (воздух, вода, почва);
-ведению экологической карты г. Москвы.
За счет средств по статье «Финансирование НИОКР в области охраны окружающей среды» осуществляется финансирование проведения исследований по:
- улучшению экологических характеристик моторного топлива;
- переводу городского автотранспорта на газообразное топливо и диметиловый эфир и пр.
- диагностике состояния водных объектов и прибрежных территорий долин рек (Яуза, Сетунь, Городня, Сходня и пр.);
- исследованию биоразнообразия;
- ведению Красной книги г. Москвы;
- сбору данных для государственного кадастра ООПТ и пр.
По статье «Экологическое образование и просвещение» - осуществляется переподготовка учителей – организаторов экологического образования для общеобразовательных учреждений г. Москвы; подготовка и опубликование ряда периодических изданий экологической направленности, которые направляются в детские дошкольные и школьные учреждения (6 наименований).
Большое внимание уделяется экологическому просвещению москвичей через средства массовой информации, размещение информационных стендов и аншлагов, распространение информационных листовок, буклетов, плакатов. Кроме того, ежегодно проводятся природоохранные акции «Весенний день птиц», «Соловьиные вечера в Москве», «Аллея первоклассника» и пр.
За счет средств по статье «Восстановление и охрана водных объектов» в 2003-2004 гг. проведено экологическое восстановление прудов в Кузьминках, Свиблово, Ясенево, Курьяново, Гольяново, Дегунино, Зюзино, в г. Зеленограде. В результате были приведены в порядок прибрежные территории данных водных объектов, улучшено состояние водоемов, созданы условия для восстановления их природных и рекреационных функций
Реализация всего комплекса мероприятий по улучшению экологической обстановки в г. Москве и восстановлению нарушенных компонентов окружающей среды предусматривает большие финансовые затраты.
Ниже (таблица) приведена структура расходов бюджета г. Москвы на финансирование природоохранных мероприятий за период с 2000 г. по 2004 г.
Структура расходов бюджета на финансирование природоохранных мероприятий за период с 2000 по 2004 годы
| Годы | Расходы бюджета всего, млн. руб. | Расходы бюджета на экологию, млн. руб. | |||||||
| Всего и по бюджетным источникам: | В % от общих расходов бюджета | ||||||||
| Всего | Текущие расходы | Капитальные вложения | ЦБТЭФ | ||||||
| Руб. | в % от гр. 3 | Руб. | в % от гр. 3 | Руб. | в % от гр. 3 | ||||
| 1 | 2 | 3 | 4 | 5 | 6 | 7 | 8 | 9 | 10 |
| 2000 | 173 216,9 | 921,8 | 556,3 | 60,3 | - | - | 363,8 | 39,5 | 0,53 |
| 2001 | 219 721,3 | 4 771,5 | 820,3 | 17,2 | 3 495,7 | 73,3 | 455,0 | 9,5 | 2,17 |
| 2002 | 253 114,4 | 2 806,9 | 972,5 | 34,6 | 1 309,4 | 46,6 | 525,0 | 18,7 | 1,11 |
| 2003 | 284 125,0 | 5 682,5 | 1 107,6 | 19,5 | 3 317,4 | 58,4 | 1 257,6 | 22,1 | 2,0 |
| 2004 | 370 715,2 | 7 163,5 | 1 720,6 | 24,0 | 3 329,3 | 46,5 | 2 113,6 | 29,5 | 1,9 |
Как следует из таблицы, начиная с 2000г., расходы городского бюджета на экологию ежегодно увеличиваются в среднем на 2,5 миллиарда рублей. Вместе с тем, доля общих расходов на экологию по-прежнему остается крайне низкой. Более того, отмечается тенденция к сокращению доли расходов бюджета на проведение экологических мероприятий (с 2,17% в 2001г. до 1,9% в 2004г.).
Следует отметить, что основную часть расходов на мероприятия по охране окружающей среды составляют капитальные вложения (около 50% всех расходов бюджета на экологию). Отмечается также стабильное увеличение расходов ЦБТЭФ на реализацию природоохранных мероприятий.
Вместе с тем, анализ динамики расходования бюджетных средств за данный период показывает наличие нестабильности в выделении средств на текущие расходы по разделу бюджета 0900 «Охрана окружающей природной среды и природных ресурсов».
















