4 (1005704), страница 3
Текст из файла (страница 3)
№14
Модельный комплект - это комплект формовочных приспособлений, необходимый для образования при формовке рабочей полости литейной формы. В его состав входят:
Литейная модель(рис.10, а) - приспособление для получения в литейной форме отпечатка, соответствующего конфигурации и размерам отливки. В зависимости от сложности изготовляемой отливки модели делают цельными и разъемными из двух и более частей.
Стержневой ящик (рис.10, б) - приспособление, имеющее рабочую полость для получения в ней стержня Рис.10
нужных размеров и очертаний из стержневой смеси.
Литейный стержень (рис.10, в) является элементом литейной формы и служит для образования отверстия, полости или иного сложного контура в отливке.
Литниковая система- это система каналов и элементов литейной формы для подвода расплавленного металла в полость формы, обеспечения ее заполнения и питания отливки при затвердевании. В её состав входят чаша, стояк, шлакоуловитель, питатель и выпор.
№15-16
Формовочные смеси. В настоящее время в литейных цехах применяют большое количество разнообразных формовочных смесей. Выбор состава смесей обусловливается характером (весом, размерами, формой, родом сплава) изготовляемых отливок, а также видом применяемых форм (сырые, сухие, поверхностно подсушенные, химически твердеющие).
В зависимости от назначения смеси разделяются на облицовочные, наполнительные и единые.
Облицовочная смесь имеет наиболее высокое качество и употребляется для покрытия рабочей поверхности формы, непосредственно соприкасающейся с расплавленным металлом. Толщина слоя облицовочной смеси зависит от рода и характера отливки (15—50 мм).
Наполнительная смесь насыпается поверх облицовочной, обладает меньшей прочностью и газопроницаемостью и дешевле. Приготавливается наполнительная смесь путем переработки бывшей в употреблении формовочной смеси с добавлением (3—5%) свежих материалов (песка и глины).
Единая смесь составляет весь объем формы и применяется при машинной формовке, на автоматах в условиях массового производства мелких и тонкостенных отливок. От наполнительной смеси она отличается большим содержанием свежих материалов и лучшими физико-механическими свойствами.
Стержневые смеси. Состав и свойства стержневых смесей обусловливаются главным образом классом изготавливаемых стержней.
Ответственные стержни первого класса изготавливаются из стержневых смесей, состоящих целиком из кварцевого песка с добавлением крепителей. Крупные стержни изготавливают из более дешевых стержневых смесей, в них очень часто входит бывшая в употреблении смесь (20—35%), а связующим является формовочная глина, сульфитная барда, а в качестве органической добавки — древесные опилки.
Стержневые смеси должны обладать теми же свойствами, что и формовочные. Но учитывая, что большая часть стержня (кроме знаков) подвергается воздействию высокой температуры и давлению заливаемого металла в форму, их делают с более высоким показателями прочности, газопроницаемости, податливости и огне упорности.
№17
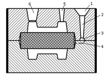
Назначение литниковой системы
Литниковая система – это система каналов и резервуаров для подвода расплавленного металла в полость литейной формы, её заполнения и питания отливки при затвердевании. Литниковая система должна обеспечивать заполнение литейной формы с необходимой скоростью, задержку шлака и других неметаллических включений, выход паров и газов из полости формы, непрерывную подачу металла к твердеющей отливке. После окончания литья избыточный металл, заполняющий литниковую систему, застывает, сохраняя форму её каналов и образуя отход, подлежащий отделению от самой отливки.
Рис. 33Л. Литниковая система
1 – литниковая чаша; 2 – стояк; 3 – шлакоуловитель; 4 – питатель; 5 – выпор; 6 – прибыль.
Основными элементами литниковой системы (рис. 33Л) являются: 1 – литниковая чаша (воронка), которая предназначена для приёма струи расплава, вытекающей из разливочного ковша, и частичного задержания попадающего вместе с расплавом шлака; 2 – стояк – вертикальный или наклонный канал, передающий расплав из литниковой чаши внутрь литниковой системы; 3 – шлакоуловитель – горизонтальный канал, расположенный, как правило, в верхней полуформе и служащий для задержания шлака и передачи расплава из стояка к питателям; 4 – питатель – канал, подающий расплав непосредственно в полость литейной формы (питатель может быть как один, так и несколько, и они обычно располагаются в нижней полуформе); 5 – выпор – вертикальный канал для вывода газов из полости формы, сигнализации об окончании заливки, питания отливки расплавом при затвердевании; 6 – прибыль – резервуар с расплавленным металлом, обеспечивающий его непрерывный подвод к массивной части отливки, застывающей последней (при наличии нескольких массивных частей прибылей также может быть несколько).















