Ответ на вопрос №300068: Установите соответствие между названиями элементов колпаковой печи сопротивления периодического действия, изображенной на рисунке, и цифрами, которые их обозначают. A. 1 B. 2 C. 3 D. 4 E. 5 F. Стенд G. Камера печи H. Жаропрочный муфель I. Нагревательные элементы J. Нагреваемое изделие Установите соответствие между названиями элементов колпаковой печи - Ответ на вопрос №300068Установите соответствие между названиями элементов колпаковой печи - Ответ на вопрос №300068
2025-03-062025-03-06СтудИзба
Установите соответствие между названиями элементов колпаковой печи - Ответ на вопрос №300068
-47%
Вопрос
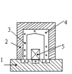
Установите соответствие между названиями элементов колпаковой печи сопротивления периодического действия, изображенной на рисунке, и цифрами, которые их обозначают.
- A. 1
- B. 2
- C. 3
- D. 4
- E. 5
- F. Стенд
- G. Камера печи
- H. Жаропрочный муфель
- I. Нагревательные элементы
- J. Нагреваемое изделие
Ответ

Анастасия Жукова




















