Ответ на вопрос №299989: Торможение тележки осуществляется колодочным тормозом с электрогидравлическим толкателем. На принципиальной схеме электропривода шлейфовой тележки электрогидравлический толкатель – это … МТ. КВВ. АД КВН. Торможение тележки осуществляется колодочным тормозом с - Ответ на вопрос №299989Торможение тележки осуществляется колодочным тормозом с - Ответ на вопрос №299989
2025-03-062025-03-06СтудИзба
Торможение тележки осуществляется колодочным тормозом с - Ответ на вопрос №299989
-47%
Вопрос
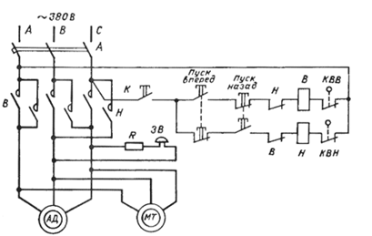
Торможение тележки осуществляется колодочным тормозом с электрогидравлическим толкателем. На принципиальной схеме электропривода шлейфовой тележки электрогидравлический толкатель – это …
- МТ.
- КВВ.
- АД
- КВН.
Ответ

Анастасия Жукова























