Ответ на вопрос №299976: Схема, изображенная на рисунке, – это ... импульсная схема включения люминесцентной лампы в сеть. схема мгновенного зажигания люминесцентной лампы. схема быстрого зажигания люминесцентной лампы. схема включения ламп типа ДРЛ через дроссель. Схема, изображенная на рисунке, – это ... импульсная схема - Ответ на вопрос №299976Схема, изображенная на рисунке, – это ... импульсная схема - Ответ на вопрос №299976
2025-03-062025-03-06СтудИзба
Схема, изображенная на рисунке, – это ... импульсная схема - Ответ на вопрос №299976
-47%
Вопрос
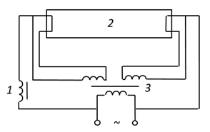
Схема, изображенная на рисунке, – это ...
- импульсная схема включения люминесцентной лампы в сеть.
- схема мгновенного зажигания люминесцентной лампы.
- схема быстрого зажигания люминесцентной лампы.
- схема включения ламп типа ДРЛ через дроссель.
Ответ

Анастасия Жукова






















