Электропривод типа СП-3
Электропривод типа СП-3
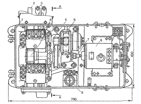
Кинематическая схема электропривода типа СП-3 показана на рис.1. Конструкция электропривода типа СП-3 (рис.2) включает в себя такие основные части: / — корпус; 2 — рабочий шибер; 3 —контрольные линейки; 4 — блок главного вала с автопереключателем; 5 — зубчатое колесо с упором; 6 — редуктор с фрикционным сцеплением; 7 — соединительную муфту; 8 — электродвигатель; 9 — обогревательный элемент.

Электродвигатель через соединительную муфту и редуктор с фрикционным сцеплением находится в зацеплении с зубчатым колесом, имеющим упор.
Свободно вращающееся на главном валу зубчатое колесо своим упором заходит в вырез диска главного вала. Шиберная шестерня выполнена как одно целое с главным валом и находится в зацеплении с рабочим шибером. По обе стороны главного вала расположены автопереключатели, которые имеют по две пары неподвижных колодок с контактами и по одному переключающему рычагу с ножами. Стрелка в конце перевода запирается запорными зубьями специального профиля, расположенными на рабочем шибере и шиберной шистерне. Перевод стрелки и ее запирание контролируется двумя контрольными линейками с вырезами, в которые западают концы переключающих рычагов.
Электрические характеристики электропривода типа СП-3 при нормальной работе приведены в таблице.
Ток при работе электродвигателя на фрикцию должен быть на 25—30% выше тока, потребляемого при нормальном переводе. Электропривод без нагрузки на шибере разрешается включать кратковременно не более чем для пяти переводов.
Сопротивление изоляции между контактными зажимами электродвигателя, контактами колодок и корпусом привода при температуре (+25±10)°С и относительной влажности окружающего воздуха до 80% должно быть не менее 25 МОм, свыше 80% — не менее 10 МОм.
Рекомендуемые материалы
Механические характеристики
Максимальное усилие для перевода рабочего шибера, кН (кгс), развиваемое электроприводом типа СП-3:
с электродвигателем постоянного тока типа МСП-0,25 при номинальном напряжении 100 и 160 В 6 (600) при номинальном напряжении 30 В 3,5 (350)


Рис.2.
Таблица электрических характеристик.
|
Тип и напряжение на Электродвигателе | Характеристика1 при нагрузке на шибере, кН (кгс) | ||||||||
|
0 | 1 (100) | 2 (200) | 3 (300) | 3.5 (350) | 4 (400) | 5 (500) | 6 (600) | ||
| Постоянного тока МСП-0.1 | 30В | 4,4 2,4 | 7,3 3,2 | 10,1 4,4 | 14,6 6,2 | ||||
| 100В | 1,4 1,8 | 2,4 2,5 | 3,4 3,2 | 4,7 4,5 | |||||
| 160В | 1,1 2,0 | 1,9 2,6 | 2,5 3,3 | 3,5 4,3 | |||||
| Постоянного тока МСП-0.15 | 30В | 4,0 2,6 | 7,0 4,0 | 9,5 5,5 | |||||
| 110В | 1,1 2,3 | 1,9 3,3 | 2,6 4,2 | 3,3 4,8 | 4,0 5,5 | 4,6 6,5 | 5,5 7,4 | ||
| 160В | 0,7 2,2 | 1,3 3,2 | 1,8 4,0 | 2,3 4,5 | 2,7 5,3 | 3,3 6,0 | 3,7 7,0 | ||
| Постоянного тока МСП-0.25 | 30В | 6,5 1,8 | 10,3 2,3 | 14,2 2,7 | 20,0 3,7 | ||||
| 100В | 1,7 15 | 2,8 2,1 | 4,1 2,5 | 5,2 2,8 | 6,3 3,1 | 7,4 3,3 | 8,3 3,7 | ||
| 160В | 1,4 1,4 | 2,0 1,8 | 2,8 2,2 | 3,5 2,4 | 4,2 2,8 | 5,0 3,2 | 5,5 3,5 | ||
| Переменного тока МСТ-0.25 | 127В | 2,1 2,7 | 2,3 2,9 | 2,6 3,1 | 3,7 3,8 | ||||
| 220В | 1,2 2,7 | 1,3 2,8 | 1,5 3,1 | 2,2 3,8 |
! В числителе указан потребляемый ток (не более. А), в знаменателе — время перевода (не более, с). Характеристики приведены при предельном отклонении нагрузки на шибере
(+2; -10)% и предельном отклонении напряжения на электродвигателе +10% от указанных в таблице.
с электродвигателем постоянного тока типа МСП-0,1 при номинальном напряжении 30, 100 и160 В 3,5 (350)
с электродвигателем постоянного тока типа МСП-0,15 при номинальном
напряжении 30 В 2 (200)
электродвигателем постоянного тока типа
МСП-015 при номинальном напряжении 110 и 160 В 6 (600) с
с электродвигателем переменного тока типа МСТ-0,25 при номинальном
напряжении 127 В и соединении обмоток треугольником, а также при 220 В
и соединении обмоток звездой 3,5 (350)
Глубина врубания ножей автопереключателя между контактными пружинами, мм 9—11
Фрикционная муфта должна обеспечивать плавную регулировку усилий при нагрузке на шибере до 7 кН (700 кгс).
Назначенный ресурс электропривода типа СП-3 составляет 1-106 переводов при нагрузке на шибере 3,5 кН (350 кгс) и 5-105 переводов при нагрузке на шибере 6 кН (600 кгс). Для обеспечения безотказной работы электропривода в пределах назначенного ресурса необходимо производить замену пружин, колодок с ножами и колодок контактных через 500 тыс. переводов.
Все трущиеся поверхности деталей привода смазывают, а редуктор заливают индустриальными маслами ИС-12, ИС-20 или ИС-45. Диски фрикции смазывают смазкой ЦИАТИМ-201.
Контактная система электропривода СП-3 показана на рисунке. При любом крайнем положении шибера после его нормального перевода должны быть замкнуты по три пары контактов на контактных колодках, расположенных по обе стороны на основании переключателя.
Рекомендация для Вас - Пастереллез.

В начале перевода стрелки контрольные контакты электропривода 31-32, 33-34, 35-36 размыкаются, а рабочие контакты 41-42, 43-44, 45-46 замыкаются; тем самым подготовляется рабочая цепь электродвигателя для обратного перевода стрелки.
В конце перевода стрелки рабочие контакты 11-12, 13-14, 15-16 размыкаются, а контрольные контакты 21-22, 23-24, 25-26 замыкаются; тем самым дается контроль нового положения стрелки.
При взрезе стрелки рычаги с ножевыми контактными колодками автопереключателя должны занять вертикальное положение, при этом ножи размыкают пластины контактов автопереключателя, в результате чего контрольная цепь стрелки размыкается. В невзрезных электроприводах серии СП при взрезе стрелки происходит поломка частей привода.
Условия эксплуатации. Электроприводы надежно работают при температуре от —40 до +50°С.
Габаритные размеры электроприводов 780х940х245 мм; масса — 160кг.






















