Внутренний водопровод и водоотведение
4. Внутренний водопровод и водоотведение.
4.1. Общие сведения
Необходимым условием обеспечения комфортной среды в зданиях различного назначения является оснащение их системами внутреннего водопровода и водоотведения.
В зданиях вода используется для хозяйственно-питьевых нужд, пожаротушения и поливки прилегающей территории, на промышленных или сельскохозяйственных объектах – дополнительно на технологические нужды – производственные или сельскохозяйственные.
Объединение внутреннего водопровода и водоотведения в единый комплекс объясняется тем, что два этих вида инженерного оборудования решают сопряженные задачи – внутренний водопровод обеспечивает подачу воды в точки водоразбора, а системы водоотведения удаляют использованную воду из здания.
Конечным элементом внутреннего водопровода, предназначенным для разбора воды потребителями, является водоразборная арматура, (краны, смесители, смывные бачки унитазов и т.д.). Прием использованной воды (сточных вод) осуществляется санитарными приборами, являющимися элементами системы водоотведения. Очевидно, что места размещения водоразборной арматуры и санитарных приборов, их стилевые и конструктивные решения должны быть взаимно увязаны, что может быть выполнено только при совместном решении вопросов проектирования и устройства внутреннего водопровода и водоотведения.
Очевидно также, что требуемые характеристики внутреннего водопровода и водоотведения, а также конструктивные решения их элементов определяются функциональным назначением здания, условиями его безопасной эксплуатации, необходимым уровнем комфортности и дизайнерскими решениями интерьеров помещений. Поэтому разработку внутреннего водопровода и водоотведения можно рассматривать как часть комплексной задачи проектирования здания, решение которой неразрывно связано с его архитектурой.
4.2. Классификация внутренних водопроводов зданий.
Под внутренним водопроводом понимают систему трубопроводов и устройств, обеспечивающих подачу воды к санитарно-техническим приборам, пожарным кранам и водоиспользующему технологическому оборудованию.
Рекомендуемые материалы
В зависимости от назначения внутренние водопроводы подразделяют на хозяйственно-питьевые, противопожарные и производственные, или совмещенные. Например, хозяйственно-питьевые – противопожарные, производственные – противопожарные, хозяйственно-питьевые – производственные. Возможность совмещения различных по назначению водопроводов определяется требованиями к качеству воды, потребляемой на различные нужды и экономическими обоснованиями.
По способу подачи воды потребителям внутренние водопроводы выполняются:
- без повысительных установок;
- с повысительными установками;
- с напорно-запасными баками;
- с повысительными установками и напорно-запасными баками.
4.3. Схемы и оборудование хозяйственно-питьевого водопровода.
Принципиальная схема внутреннего водопровода без повысительных установок приведена на рис. 4.3.1.

Рис. 4.3.1. Схема внутреннего водопровода жилого дома.
1 – ввод; 2 – водомерный узел; 3 – разводящая магистраль; 4 - стояк; 5 – подводка к водоразборной арматуре; 6 – водоразборная арматура; 7 – запорная арматура.
Подключение внутреннего водопровода к наружной системе водоснабжения осуществляется посредством ввода 1, после которого по ходу движения воды установлен водомерный узел 2, предназначенный для измерения расхода воды. Под потолком подвала прокладывается разводящая магистраль 3, по которой вода подается к стоякам 4. Для обеспечения возможности отключения отдельных участков магистрали на ней устанавливается запорная арматура 7. Стояки размещаются в помещениях, в которых установлены санитарные приборы – ванных комнатах, кухнях и санитарных узлах. По стоякам вода распределяется по этажам дома, подается через кран 7 во внутриквартирную сеть, которая включает подводки 5 к водоразборной арматуре 6.
Для нормального водоснабжения дома, внутренний водопровод которого устроен по схеме, приведенной на рис. 4.3.1, необходимо, чтобы в месте присоединения здания свободный гарантийный напор в наружной водопроводной сети, Нг, превышал требуемый напор, Нтр, необходимый для подачи воды к наиболее высокорасположенному и удаленному от ввода водоразборному устройству в любое время суток:
Нг > Нтр (4.3.1)
Величина свободного гарантийного напора в месте присоединения внутреннего водопровода к наружной водопроводной сети устанавливается водоснабжающей организацией, а требуемый напор определяется по формуле:
. (4.3.2)
где п – число этажей здания.
Дадим краткую характеристику отдельных элементов внутреннего водопровода.
Вводом называется трубопровод от наружной водопроводной сети до первой по ходу движения воды запорной арматуры или водомерного узла внутри здания. Выполняется ввод из стальных оцинкованных, чугунных или пластмассовых труб.
Ввод в здание рекомендуется выполнять перпендикулярно обрезу фундамента по кратчайшему расстоянию от врезки в городскую водопроводную сеть. При трассировке ввода необходимо учитывать, что расстояние по горизонтали между вводами хозяйственно-питьевого водопровода и выпусками системы водоотведения и водостоков должно быть не менее 1,5 м.
В здание устраивается один или два ввода. Два ввода предусматриваются для зданий, оборудованных совмещенным хозяйственно-питьевым - противопожарным водопроводом.
При устройстве двух и более вводов необходимо предусматривать присоединение их, как правило, к различным участкам наружной кольцевой сети водопровода.
Водомерный узел объединяет счетчик расхода воды, запорную арматуру, контрольно-измерительные устройства, фильтр для очистки воды и соединительные трубопроводы. Схема типового водомерного узла приведена на рис. 4.3.2.
Рис. 4.3.2. Схема водомерного узла.
1 – типовая водомерная вставка; 2 – обводная линия; 3 - задвижки; 4 – опломбированная задвижка; 5 – переход; 6 - счетчик расхода воды; 7 – манометр; 8 – трехходовой кран; 9 – фильтр для очистки воды; 10 – спускной кран.
Размещается водомерный узел на высоте около 0,5 метра от пола в теплых и сухих подвальных помещениях вблизи пересечения вводом наружной стены. Место размещения водомерного узла должно быть доступно для осмотра и выполнения ремонтных работ.
Разводящая магистраль внутреннего водопровода выполняется из оцинкованных стальных, пластмассовых труб или металлопластиковых труб. Ее конфигурация выбирается с учетом местоположения стояков и требований по минимизации протяженности трубопроводов и удобства их монтажа и ремонта. На рис. 4.3.1 приведена тупиковая схема разводящей магистрали, отличающаяся от кольцевой схемы меньшей протяженностью трубопроводов. Тупиковую схему применяют в зданиях, допускающих перерывы в подаче воды, а кольцевую – в совмещенных системах хозяйственно-питьевого - противопожарного водопровода, не допускающих перерывов в подаче воды. Запорную арматуру устанавливают на разводящей магистрали для отключения ее отдельных участков.
Стояки представляют собой вертикальные трубопроводы из стальных оцинкованных, пластмассовых или металлопластиковых труб. В жилых зданиях стояки прокладывают открыто — по стенам ванных комнат, уборных и кухонь. Скрытую прокладку трубопроводов предусматривают для помещений, к отделке которых предъявляются повышенные требования, и для всех систем из пластмассовых труб (кроме располагаемых в санитарных узлах). При этажности здания более трех в месте подключения стояков к разводящей магистрали устанавливают запорную арматуру. Количество стояков, обслуживающих квартиру зависит от ее планировочного решения. Если кухня, ванная комната и уборная расположены в смежных помещениях, то для водоснабжения квартиры предусматривается один стояк. В том случае, если два вспомогательных помещения, например, ванная комната и уборная расположены смежно, а кухня отделена от них коридором или другими помещениями квартиры, то предусматриваются два стояка – один используется для водоснабжения ванной комнаты и уборной, а второй – для подачи воды на кухню. Если кухня, ванная комната и уборная расположены не смежно и отделены друг от друга другими помещениями или коридорами, то для водоснабжения квартиры предусматриваются три стояка, по одному для кухни, ванной комнаты и уборной.
Внутриквартирная водопроводная разводка присоединяется к стояку через запорную арматуру (кран), для обеспечения возможности отключения внутриквартирной сети от стояка. Современные технические решения предусматривают установку в месте подключения к стояку фильтра для грубой очистки воды и счетчика ее расхода. Перечисленное оборудование объединяется в узел присоединения. В том случае, если для водоснабжения квартиры используются несколько стояков, фильтры и счетчики расхода воды устанавливаются в месте подключения внутриквартирной разводки к каждому стояку и в этом случае внутриквартирная сеть водопровода содержит узлы присоединения на каждом стояке. Подводки к водоразборной арматуре могут выполняться открыто из стальных оцинкованных, медных и других металлических труб. Пластмассовые трубы прокладываются скрыто в шахтах, бороздах или каналах для предотвращения разрушения материала труб от воздействия ультрафиолетовых лучей. Открытая прокладка пластмассовых труб допускается только в уборных без естественного освещения. Для предотвращения конденсации водяных паров из воздуха помещений на холодных поверхностях водопроводных труб они теплоизолируются.
Подключение водоразборной арматуры к узлам присоединения может выполняться по последовательной или параллельной схеме. Последовательная схема подключения показана на рис. 4.3.1. Ее характерной особенностью является подключение различной водоразборной арматуры к общей подводке, проложенной на высоте 0,35 м от пола. Такое присоединение требует минимальной протяженности труб и наиболее целесообразно при компактном размещении санитарных приборов и открытой прокладке труб. При присоединении водоразборной арматуры по параллельной схеме, рис.4.3.3, в состав узла присоединения включается коллектор-распределитель, к которому подключаются индивидуальные подводки к каждому санитарному прибору. Данная схема применяется при повышенных требованиях к уровню комфортности, например, при установке в совмещенном санитарном узле ванны, душевой кабины, умывальника, унитаза и биде и рассредоточенном размещении санитарных приборов. Данные схемы получили название коллекторных. Прокладка труб при коллекторном присоединении подводок к водоразборной арматуре производится скрыто в бороздах стен или под полом в специальных гильзах.
Водоразборная арматура отличается большим разнообразием как конструктивных и дизайнерских решений, так и принципом регулирования расхода воды. К основным видам водорозборной арматуры, устанавливаемой в жилых зданиях относятся: смесители моек, смесители умывальников, смесители с душевой сеткой для ванн и душей, смывные бачки унитазов, смесительные краны для бидэ, краны и смесители душевых кабин, а также краны для присоединения шлангов, используемых для тушения очага пожара в квартире.

Рис. 4.3.3. Коллекторная схема внутриквартирной водопроводной сети.
Современные высокотехнологичные конструкции водоразборной арматуры отличаются малыми зазорами между движущимися элементами и точной подгонкой деталей, поэтому попадание в водоразборную арматуру вместе с водой посторонних примесей может вызвать нарушение ее работы. Именно поэтому в узле присоединения внутриквартирной разводки к стояку необходимо устанавливать фильтр для очистки воды от взвесей.
Как указывалось выше, схема внутреннего водопровода, представленная на рис. 4.3.1, применяется в том случае, если в месте присоединения здания свободный гарантийный напор в наружной водопроводной сети, Нг, превышал требуемый напор, Нтр, необходимый для подачи воды к наиболее высокорасположенному и удаленному от ввода водоразборному устройству в любое время суток. Как правило, эти условия в условиях городской застройки соблюдаются для безлифтовых зданий.
В том случае, если в течение суток свободный гарантийный напор в наружной водопроводной сети периодически меняется, причем для одной части суток, например, ночью
Нг > Нтр , (4.3.3)
а для другой части суток, например днем
Нг < Нтр , (4.3.4)
то необходимо принимать дополнительные меры по стабилизации напора во внутреннем водопроводе и гарантированном водоснабжении потребителей. Выполнить это можно разными способами. Первый заключается в размещении в верхней части здания водонапорного бака, который заполняется водой из наружной водопроводной сети в период суток при Нг > Нтр, а при снижении напора в наружной водопроводной сети ниже значения Нтр, обеспечивается подача воды из бака с необходимым напором к водоразборной арматуре. Схема внутреннего водопровода с водонапорным баком приведена на рис. 4.3.4. Схема внутреннего водопровода с водонапорным баком содержит, по сравнению со схемой, представленной на рис. 4.3.1, дополнительные элементы – водонапорный бак 8, поплавковый клапан 9 и обратный клапан 10.

Рис. 4.3.4. Схема внутреннего водопровода с водонапорным баком.
1 – ввод; 2 – водомерный узел; 3 – разводящая магистраль; 4 - стояк; 5 – подводка к водоразборной арматуре; 6 – водоразборная арматура; 7 – запорная арматура; 8 – водонапорный бак; 9 - поплавковый клапан; 10 – обратный клапан.
В водонапорный бак вода поступает через поплавковый клапан в тот период суток, когда Нг > Нтр. При достижении максимально допустимого уровня воды в баре поплавковый клапан закрывается и поступление воды в бак прекращается.
В период суток, когда Нг < Нтр, напор воды, создаваемый водонапорным баком, превышает напор в наружной водопроводной сети, поэтому вода из бака поступает через обратный клапан в разводящую магистраль и далее к потребителям. Чтобы не происходила обратная утечка воды из внутреннего водопровода в наружную сеть, между водомерным узлом и разводящей магистралью устанавливают обратный клапан 10, пропускающий воду только в направлении от водомерного узла к разводящей магистрали.
К достоинствам стабилизации напора во внутреннем водопроводе с помощью водонапорного бака относится простота и независимость от электроэнергии. К недостаткам – необходимость размещения бака, имеющего значительные размеры и массу на перекрытии последнего этажа, необходимость контроля состояния бака и его периодического ремонта, а также возможное ухудшение качества воды и появление протечек при неправильной эксплуатации бака.
Второй способ обеспечения требуемого напора у потребителей заключается в применении повысительной (насосной) установки, создающей дополнительный напор воды во внутреннем водопроводе. Повысительные установки применяются как при периодическом, так и при постоянном превышении требуемого напора во внутреннем водопроводе над величиной свободного напора на вводе в здание. Повысительная установка размещается после водомерного узла и перед разводящей магистралью. Схема внутреннего водопровода с повысительной установкой приведена на рис. 4.3.5. Внутренний водопровод, схема которого представлена на рис. 4.3.5, является совмещенным хозяйственно-питьевым – противопожарным. Для обеспечения бесперебойного водоснабжения он оборудован двумя вводами 1, подключенными к разным участкам наружного водопровода. На каждом вводе установлен водомерный узел 2 и обратный клапан 10 для предотвращения обратного движения воды из внутреннего водопровода в наружную сеть. Оба ввода объединены общим трубопроводом и подключены к повысительной установке 3. На обводной линии повысительной установки установлен обратный клапан 10 и задвижка 11.

Рис. 4.3.5. Схема внутреннего водопровода жилого дома с повысительной установкой.
1 – ввод; 2 – водомерный узел; 3 – повысительная установка; 4 – разводящая магистраль; 5 – пожарный стояк; 6 - пожарный кран; 7 – стояк; 8 – кран на вводе в квартиру; 9 – кран для отключения стояка; 10 – обратный клапан;
11 – задвижка; 12 – поливочный кран; 13 – пробка для спуска воды.
После повысительной установки вода поступает в разводящую магистраль 4, которая выполнена по кольцевой схеме для повышения надежности подачи воды. Для обеспечения возможности отключения отдельных участков разводящей магистрали на ней установлены задвижки 11. К разводящей магистрали подключены пожарные стояки 5, на которых установлены пожарные краны 6, и стояки хозяйственно-питьевого водопровода 7, имеющие краны 8 на ответвлениях в квартиры. Для отключения стояков в их нижней части установлены краны 9. Полив прилегающей к дому территории осуществляется при помощи поливочного крана 12. Для слива воды из трубы, подводящей воду к поливочному крану, установлена пробка 13.
Применение повысительных установок позволяет обеспечить требуемый напор воды у потребителей при любой этажности здания, однако использование насосов приводит к дополнительному потреблению электроэнергии и необходимости выделения площадей для размещения насосов.
При размещении повысительных установок необходимо учитывать требования по предотвращению повышения уровня шума в помещениях зданий. Так, насосные установки запрещается размещать непосредственно под жилыми квартирами, детскими или групповыми комнатами детских садов и яслей, классами общеобразовательных школ, больничными помещениями, рабочими комнатами административных зданий, аудиториями учебных заведений. Насосные установки с противопожарными насосами для внутреннего пожаротушения располагаются в первых и подвальных этажах зданий I и II степени огнестойкости из несгораемых материалов. При этом помещения насосных установок должны быть отапливаемыми, выгорожены противопожарными стенами (перегородками) и перекрытиями и иметь отдельный выход наружу или на лестничную клетку.
Современные насосные установки оснащаются системами автоматического управления, которые обеспечивают: включение и отключение насосов в зависимости от соотношения величин требуемого напора воды и его фактического значения на вводе в здание; подачу воды по обводной линии насосной установки при ее отключении; отключение насосной установки при отсутствии воды в наружном водопроводе.
В зданиях повышенной этажности применяются зонные системы внутреннего водопровода, при устройстве которых здание разбивается по высоте на зоны и в каждой зоне устраивается самостоятельный внутренний водопровод, гидравлически не связанный с водопроводами, обслуживающими другие зоны здания. Высота зоны определяется тем, что гидростатический напор на уровне самого низко расположенного санитарного прибора в каждой зоне не должен превышать 45 м.
Так, при высоте этажа равной 3 метрам в отдельную зону выделяется часть здания, содержащая 15 этажей. Это объясняется тем, что в этом случае разность отметок между наиболее низко и высоко расположенными санитарными приборами будет составлять 42 метра, а с учетом требуемой величины свободного напора перед водоразборной арматурой, равной 2 метрам водяного столба, гидростатический напор в водопроводе на уровне наиболее низко расположенного санитарного прибора составит 44 метра.
Однако это не значит, что при зонировании внутреннего водопровода здание всегда разбивается по высоте на части, имеющие высоту около 40 метров. Так, при устройстве хозяйственно-питьевого водопровода в 20-этажном жилом доме в первую зону можно выделить ту часть здания, которая может быть обеспечена водой за счет напора в наружной водопроводной сети, например, первые 5 этажей. Для обслуживания второй зоны, включающей с 6 по 20 этажи, необходимо предусмотреть систему хозяйственно-питьевого водоснабжения с применением повысительных установок, разместив их в подвале дома.
В высотных зданиях для размещения водопроводного оборудования зонных систем необходимо предусматривать технические этажи или помещения, расположенные по высоте через 40-45 метров друг от друга.
4.4. Определение расчетного расхода воды в хозяйственно-питьевом водопроводе здания
Для обеспечения требуемого уровня надежности водоснабжения здания его хозяйственно-питьевой водопровод должен обеспечивать подачу нормативных расходов воды к водоразборной арматуре, соответствующих числу водопотребителей и количеству установленных санитарных приборов.
В жилых и общественных зданиях секундный расход воды
, л/с, водоразборной арматурой санитарно-технических приборов, допускается принимать равным
л/с.
Максимальный секундный расход воды на вводе в здание qc , л/с, определяется по формуле
(4.4.5)
где a - коэффициент, определяемый по СНиП 2.04.01-85(2000) в зависимости от общего числа приборов, N, в здании и вероятности их действия, Р.
Коэффициент a может быть определен по упрощенной формуле:
. (4.4.6)
Необходимость учета вероятности действия санитарных приборов определяется тем, что водопотребители (применительно к жилым зданиям -жители) пользуются санитарными приборами периодически, поэтому простое суммирование расходов воды всеми санитарными приборами, установленными в здании, даст явно завышенную величину максимального расчетного расхода воды на вводе в здание.
Вероятность действия санитарно-технических приборов Р определяется по формуле:
; (4.4.7)
где
- норма расхода воды потребителем в час наибольшего водопотребления, принимаемая по СНиП 2.04.01-85(2000), л/час·чел;
U – количество водопотребителей в здании;
В том случае, если здание присоединяется к источникам централизованного горячего водоснабжения, в качестве величины
принимается норма расхода холодной воды
. Если здание не присоединяется к централизованным источникам горячего водоснабжения, а приготовление горячей воды осуществляется местными установками, расположенными в здании, тогда в качестве величины
принимается общая норма расхода воды
.
Величина максимального секундного расхода воды в здании, qc, определяет нагрузку здания на наружные водопроводные сети и позволяет водоснабжающей организации принимать решение о возможности присоединения проектируемого здания к существующим водопроводным сетям.
4.5. Противопожарные водопроводы зданий
Для обеспечения возможности тушения пожара внутри зданий в них устраивают противопожарные водопроводы. Тушение пожара водяными системами пожаротушения может выполняться вручную, с помощью специальных приспособлений размещаемых в пожарных шкафах, или автоматически, без участия человека.
Для ручного тушения пожара устраиваются противопожарные водопроводы с пожарными кранами. Они предназначены для тушения водой очагов возникновения пожара и защиты от огня путей эвакуации людей из здания. Нормами установлен перечень жилых и общественных зданий, а также административно-бытовых зданий промышленных предприятий, таблица 4.5.1, в которых обязательно устройство противопожарных водопроводов с пожарными кранами, а также минимальные расходы воды на пожаротушение.
Таблица 4.5.1.
Объекты, в которых требуется устраивать противопожарные водопроводы
| Жилые, общественные и административно-бытовые здания и помещения | Число струй | Минимальный расход воды на внутреннее пожаротушение, л/с, на одну струю |
| 1. Жилые здания: при числе этажей от 12 до 16 | 1 | 2,5 |
| то же, при общей длине коридора св. 10 м | 2 | 2,5 |
| при числе этажей св. 16 до 25 | 2 | 2,5 |
| то же, при общей длине коридора св. 10 м | 3 | 2,5 |
| 2. Здания управлений: высотой от 6 до 10 этажей и объемом до 25 000 м3 | 1 | 2,5 |
| то же, объемом св. 25 000 м3 | 2 | 2,5 |
| при числе этажей св. 10 и объемом до 25 000 м3 | 2 | 2,5 |
| то же, объемом 25 000 м3 | 3 | 2,5 |
| 3. Клубы с эстрадой, театры, кинотеатры, актовые и конференц-залы, оборудованные киноаппаратурой | Согласно СНиП 2.08.02-89* | |
| 4. Общежития и общественные здания, неуказанные в поз. 2: при числе этажей до 10 и объемом от 5000 до 25 000 м3 | 1 | 2,5 |
| то же, объемом св. 25 000 м3 | 2 | 2,5 |
| при числе этажей св. 10 и объемом до 25 000 м3 | 2 | 2,5 |
| то же, объемом св. 25 000 м3 | 3 | 2,5 |
| 5. Административно-бытовые здания промышленных предприятий объемом, м3: от 5000 до 25 000 | 1 | 2,5 |
| св. 25 000 | 2 | 2,5 |
Необходимость устройства противопожарного водопровода с пожарными кранами в производственных и складских зданиях устанавливается нормами в зависимости от степени огнестойкости здания, категории по пожарной опасности и объема здания.
Противопожарный водопровод с пожарными кранами может устраиваться совмещенным с хозяйственно-питьевым водопроводом или раздельным. Схема совмещенного хозяйственно – противопожарного водопровода приведена на рис. 4.3.5. Систему пожаротушения образуют пожарные стояки, присоединяемые к кольцевой разводящей магистрали, к которым на каждом этаже присоединяются пожарные краны, предназначенные для водоразбора при тушении пожара. Пожарные краны вместе с приспособлениями для тушения пожара – пожарными рукавами (шлангами) и стволами размещаются в пожарных шкафах, рис. 4.5.1.
Рис. 4.5.1. Пожарный шкаф.
1 – пожарный стояк; 2 – пожарный кран; 3 – быстросмыкающееся соединение; 4 – ствол; 5 – рукав (шланг).
Ствол оснащается наконечником (спрыском) диаметром от 13 до 22 мм, предназначенным для формирования струи. Длина рукава и диаметр спрыска определяются расчетом, исходя из необходимости орошения всех точек помещения и подачи расчетного объема воды на пожаротушение.
Минимальный радиус действия пожарного крана равен 16 м.
Свободные напоры у внутренних пожарных кранов должны обеспечивать получение компактных пожарных струй высотой, необходимой для тушения пожара в любое время суток в самой высокой и удаленной части здания. Наименьшую высоту и радиус действия компактной части пожарной струи следует принимать равными высоте помещения, считая от пола до наивысшей точки перекрытия (покрытия), но не менее:
6 м — в жилых, общественных, производственных и вспомогательных зданиях промышленных предприятий высотой до 50 м;
8 м — в жилых зданиях высотой свыше 50 м;
16 м — в общественных, производственных и вспомогательных зданиях промышленных предприятий высотой свыше 50 м.
Гидростатический напор в системе хозяйственно-противопожарного водопровода на отметке наиболее низко расположенного санитарно-технического прибора не должен превышать 45 м.
При расчетном напоре в сети противопожарного водопровода, превышающем 45 м, необходимо предусматривать устройство раздельной сети противопожарного водопровода.
Гидростатический напор в системе раздельного противопожарного водопровода на отметке наиболее низко расположенного пожарного крана не должен превышать 90 м.
При определении мест размещения и числа пожарных стояков и пожарных кранов в зданиях необходимо учитывать следующее:
в производственных и общественных зданиях при расчетном числе струй не менее трех, а в жилых зданиях — не менее двух на стояках допускается устанавливать спаренные пожарные краны;
в жилых зданиях с коридорами длиной свыше 10 м, а также в производственных и общественных зданиях при расчетном числе струй две и более каждую точку помещения следует орошать двумя струями — по одной струе из двух соседних стояков (разных пожарных шкафов).
Пожарные краны устанавливают на высоте 1,35 м над полом помещения и размещают в шкафчиках, имеющих отверстия для проветривания, приспособленных для их опломбирования и визуального осмотра без вскрытия. Спаренные пожарные краны допускается устанавливать один над другим, при этом второй кран устанавливается на высоте не менее 1 м от пола.
В пожарных шкафах производственных, вспомогательных и общественных зданий следует предусматривать возможность размещения двух ручных огнетушителей. Каждый пожарный кран должен быть снабжен пожарным рукавом одинакового с ним диаметра длиной 10, 15 или 20 м и пожарным стволом.
В здании или частях здания, разделенных противопожарными стенами, необходимо применять стволы, спрыски и пожарные краны одинакового диаметра и пожарные рукава одной длины.
Пожарные краны устанавливают преимущественно у входов, на площадках отапливаемых (за исключением незадымляемых) лестничных клеток, в вестибюлях, коридорах, проходах и других наиболее доступных местах, при этом их расположение не должно мешать эвакуации людей.
Системы автоматического пожаротушения не предусматривают участия человека в тушении пожара и включаются в работу автоматически по сигналам датчиков пожарной сигнализации. Различают спринклерные и дренчерные системы автоматического пожаротушения.
Спринклерные системы автоматического пожаротушения применяют для защиты помещений с повышенной пожарной опасностью – встроенные помещения для хранения автомобилей, а также здания многоуровневых стоянок; крупные торговые центры с общей площадью 3600 м2 и более; театры и культурно-зрелищные комплексы большой вместимости.
Схема спринклерной системы автоматического пожаротушения приведена на рис. 4.5.2. Принцип пожаротушения, используемый спринклерной системой, основан на орошении очага возгорания водой, разбрызгиваемой специальным устройством – спринклером 1. Спринклер представляет собой герметичную конструкцию, имеющую замок из легкоплавкого сплава, с температурой плавления от 70 до 95 ОС. При повышении температуры воздуха в очаге пожара до температуры плавления материала замка, он разрушается, и спринклер орошает очаг пожара водой. Устанавливаются спринклеры в верхней зоне помещения. Площадь поверхности пола, орошаемой одним спринклером, составляет около 10 м2.

Рис. 4.5.2. Схема спринклерной системы автоматического пожаротушения.
1 - спринклер; 2 – распределительные трубопроводы; 3 – главный питательный трубопровод; 4 – контрольно-сигнальный клапан; 5 – главная задвижка;
6 – магистральный трубопровод; 7 – насосная установка; 8 – водонапорный бак; 9 – аварийное выключение 10 – водомерный узел; 11 – наружная водопроводная сеть; 12 - водопроводный колодец.
Для подачи воды к спринклерам под потолком помещения прокладываются распределительные трубопроводы 2, в которые вода поступает из главного питательного трубопровода 3 через контрольно-сигнальный клапан 4 и главную задвижку 5. Контрольно-сигнальный клапан срабатывает при разрушении спринклера и соответствующем падении напора воды в главном питательном трубопроводе.
При срабатывании клапана включается сигнализация о пожаре и открывается доступ воде от водопитателей системы. В начальный период тушения пожара вода к спринклерам поступает от водонапорного бака 8, а затем включается насосная установка 7 и подает воду на тушение пожара с расходом от 30 до 50 л/с из наружной водопроводной сети 11. Минимальный объем водонапорного бака составляет 3 м3. После окончания тушения пожара и восстановления спринклеров водонапорный бак заполняется водой из наружной водопроводной сети.
Дренчерные установки пожаротушения отличаются от спринклерных отсутствием замков на разбрызгивателях (дренчерах). Подача воды к разбрызгивателям дренчерных систем может осуществляться автоматически, путем открытия клапана, срабатывающего по сигналу датчика пожарной сигнализации, или вручную, открыванием задвижки на подающем трубопроводе. В отличие от спринклеров, при включении дренчерной установки происходит истечение воды через все разбрызгиватели системы, при этом, в зависимости от назначения установки, может орошаться вся защищаемая площадь помещения, или создаваются водяные завесы, препятствующие распространению огня от очага возгорания.
Расстояние между дренчерами, защищающими отдельные участки или все помещение, принимают не более 3 м.
Дренчерные водяные завесы предусматривают в противопожарных зонах, свободных от технологического оборудования и материалов.
4.6. Водоснабжение плавательных бассейнов.
Бассейном называется сооружение, состоящее из одной или нескольких ванн, помещений и устройств для обслуживания занимающихся, зрителей, а также для технической эксплуатации. Открытыми бассейнами называют сооружения с ваннами для плавания, расположенными на открытом воздухе. Закрытые бассейны – это здания, в которых размещены ванны и вспомогательные помещения. Комплексные бассейны – сооружения, включающие открытые и закрытые ванны. Трансформирующийся бассейн представляет собой сооружение с трансформируемыми ограждающими конструкциями, позволяющими превращать бассейн попеременно в открытый или закрытый.
По назначению бассейны подразделяются на:
- учебно-тренировочные, предназначенные для обучения плаванию, проведения оздоровительных занятий, тренировок и соревнований при ограниченном числе зрителей;
- демонстрационные, рассчитанные на проведение крупных соревнований с числом зрителей более 600 для крытых и 1200 для закрытых бассейнов.
Бассейны подразделяются также на:
- плескательные, для приучения к воде детей дошкольного возраста;
- детские, для обучения плаванию детей младшего и среднего возраста;
- учебные, для обучения плаванию детей старшего возраста и взрослых;
По виду водных видов спорта различают бассейны для плавания, прыжков в воду и универсальные.
Комфортность и безопасность пользования бассейном во многом определяются качеством воды в его ваннах.
В большинстве случаев для водоснабжения бассейнов используется вода из городского водопровода. В некоторых случаях при недостаточной производительности местных водопроводов для заполнения ванн бассейнов допускается по согласованию с органами государственного надзора использовать воду открытых водоемов, разрешенных для купания.
Вода для хозяйственно-питьевых и технологических нужд спортивных и физкультурно-оздоровительных бассейнов должна удовлетворять требованиям ГОСТ «Вода питьевая». Кроме того, следует предусматривать меры, обеспечивающие воде, подаваемой в ванны бассейнов, следующие дополнительные качества:
а) цветность не более 5°;
б) содержание взвешенных веществ: в открытых ваннах - не более 2 мг/л, в закрытых - не более 1 мг/л;
в) прозрачность по кресту - на всю глубину ванны.
Прозрачность по кресту должна обеспечивать отчетливую видимость с расстояния не менее 10 м белого диска диаметром 150 мм с черным крестом (толщина линии 1 см), помещенного в самой глубокой точке дна ванны.
Расчетную температуру воды в ваннах бассейнов принимают в зависимости от вида бассейна (открытый или крытый) и назначения ванны, таблица 4.6.1.
Таблица 4.6.1
Расчетная температура воды в ваннах бассейнов
| Расчетная температура воды в ваннах, °С | |||
| Назначение ванны | открытых | крытых | |
| летом | зимой | ||
| Спортивное плавание, водное поло, купание и игры в воде, оздоровительное плавание | 27 | 28 | 26 |
| Прыжки в воду | 29 | - | 28 |
| Обучение неумеющих плавать | 29 | - | 29 |
Расход воды на технологические нужды зависит от схемы водоснабжения ванн бассейна. На практике применяют несколько схем водообмена в ваннах.
Проточный водообмен не предусматривает рециркуляцию воды ванны и может осуществляться путем:
- периодической полной замены воды в ванне, что требует больших расходов воды и увеличивает расходы на эксплуатацию бассейна;
- непрерывного проточного водообмена с непрерывной подачей воды в ванну из водоисточника и удалением излишков использованной воды в системы водоотведения или водостоков.
Проточный водообмен с полной заменой воды в ванне применяют только для лечебных и оздоровительных бассейнов, работающих на морской или минеральной воде.
Проточный водообмен с непрерывным протоком рекомендуется использовать только для небольших ванн с объемом воды не более 70 м3 и применять в этом случае предварительную дезинфекцию воды, поступающей из водоисточника.
Рециркуляционный водообмен осуществляется путем забора из ванны использованной воды, ее очистки, нагрева и последующей подачи в ванну. При рециркуляционном водообмене достигается сокращение расхода воды от водоисточника и обеспечение требуемых санитарно-гигиенических характеристик воды, поэтому данная схема получила наибольшее распространение в бассейнах спортивного профиля.
Отвод воды из ванн бассейнов на рециркуляцию может предусматриваться как через переливные желоба, так и через отверстия в дне, располагаемые в глубокой и мелкой частях ванн.
Подача воды в ванны бассейнов может осуществляться через отверстия в стенках и дне ванн, расположение которых должно обеспечивать равномерное распределение ее по всему объему для поддержания постоянства ее температуры и бактерицидных качеств.
Для подачи воды в ванны бассейнов допускается использование перфорированных труб, укладываемых в теле уступа для отдыха под облицовкой (без изменения отметки верха уступа).
Очистку технологической воды предусматривают фильтрами, так как в воде ванн бассейнов содержится в основном тонкодисперсная взвесь, коагуляция перед фильтрованием обязательна. Перед очистными сооружениями устанавливают сетчатые фильтры (волосоуловители).
Водоочистные сооружения в бассейнах устанавливают раздельно для каждой ванны или для группы ванн одинакового назначения и возраста занимающихся в них.
Дезинфекция воды, подаваемой в ванны, должна производиться препаратами хлора или брома, обладающими высоким бактерицидным эффектом и обеспечивающими остаточное бактерицидное последствие. Дезинфекция физическими методами допускается только в сочетании с химическими.
Суммарный расчетный расход воды в рециркуляционных системах водоснабжения бассейнов ориентировочно равен 1,0 м3/час на одного человека.
Схема рециркуляционного водообмена в ванне бассейна приведена на рис. 4.6.1.

Рис. 4.6.1. Принципиальная схема водоподготовки с рециркуляцию воды.
1 - ванна; 2 - переливной желоб (лоток); 3 - бак-аккумулятор; 4 - насосы циркуляционные; 5 - блок фильтров; 6 - теплообменник; 7 - блок приготовления и дозирования коагулянта; 8 - блок приготовления и дозирования дезинфектанта; 9 - водомер; 10 - датчик уровня; 11 - подача воды в ванну; 12 - подача воды к проходному ножному душу; 13 - подача воды к поливочным кранам на обходной дорожке и в душевых; 14 - подача воды на приготовление реагентов; 15 - заполнение системы; 16 - подпитка исходной водой; 17 - слив из желоба в бак; 18 - забор 50 % циркуляционного расхода из ванны; 19 - забор 100 % циркуляционного расхода из ванны при опорожнении бака; 20 - сброс в канализацию при мытье желоба и ванны; 21 - сброс в водосток при опорожнении.
4.7. Водоснабжение фонтанов
Фонтаны и декоративные водоемы подчеркивают индивидуальность архитектурной среды, а в ряде случаев способствуют улучшению ее микроклимата.
Фонтаны и декоративные водоемы подразделяют на шесть видов:
1. Родники и изливы, оформленные водометом или маскароном, устраиваются в нишах, углах зданий, оформляются в виде малых архитектурных форм;
2. Водоемы простых геометрических форм. Основой их архитектурной выразительности служит зеркальная поверхность водоема, в которой отражаются здания и деревья. Иногда, для подчеркивания масштабности поверхности водоема устраивается одна вертикальная фонтанная струя;
3. Фонтаны с большим количеством струй и их сложной композицией. Основным средством выразительности является игра водяных струй и их подсветка в ночное время. Эти фонтаны требуют сложного инженерного оборудования и наиболее затратны;
4. Фонтаны-чаши, располагаемые в центре небольшого водоема, в который по периметру чаш стекает вода;
5. Скульптурные фонтаны, основным выразительным средством которых является скульптурная пластика, а струи и водная поверхность играют вспомогательную роль.
6. Фонтаны-каскады в виде ступенчатых переливов на сильно выраженном рельефе.
Для водоснабжения фонтанов и декоративных бассейнов может быть использована вода из городского водопровода или условно чистые воды, не содержащие вредных загрязнений, в том числе вода, охлаждающая конденсаторы холодильных машин установок кондиционирования воздуха.
Для водоснабжения небольших фонтанов возможно использование прямоточной схемы, с присоединением фонтана непосредственно к городской водопроводной сети, при этом струи фонтана формируются за счет напора в городском водопроводе, рис. 4.7.1. Эту особенность прямоточной схемы необходимо учитывать при разработке художественного решения фонтана, так как при недостаточном напоре воды в городском водопроводе получить требуемую совокупность фонтанных струй будет невозможно.
Основным недостатком прямоточной схемы является нерациональное использование воды, которая после фонтана сбрасывается в водосточные сети или бытовую сеть водоотведения. Одним из вариантов повторного использования сбросной воды от фонтанов является орошение ею зеленых насаждений.

Рис. 4.7.1. Прямоточная схема водоснабжения фонтана.
1 – городской водопровод; 2 – колодец водосточной сети.
С целью экономии воды, рекомендуется использовать рециркуляционную схему водоснабжения, рис. 4.7.2.
Особенностью данной схемы является многократное использование в фонтане одной и той же воды. Первоначальное наполнение фонтана водой, подпитка для восполнения потерь на испарение и унос воды ветром производятся из городского водопровода, а движение воды в водоеме, формирование фонтанных струй создаются циркуляционными насосами.
Размещение насосов и запорной арматуры системы водоснабжения фонтана предусматривается в колодце.
Рис. 4.7.2. Рециркуляционная схема водоснабжения фонтана.
1 – циркуляционный насос; 2 – всасывающий трубопровод;
3 – напорный трубопровод; 4 – наружная водопроводная сеть.
Применение циркуляционных насосов усложняет систему водоснабжения фонтана и увеличивает потребление электроэнергии, но при этом обеспечивает экономию воды и позволяет реализовать художественное проектирование фонтана без ограничений, связанных с величиной свободного напора воды в городском водопроводе.
При каскадной схеме водоснабжения фонтана вода, использованная в вышерасположенном фонтане, самотеком поступает на нижерасположенный ярус, рис. 4.7.3. При каскадной схеме может быть использовано рецеркуляционное водоснабжение фонтанов. Для этого необходимо предусмотреть установку циркуляционного насоса, перекачивающего воду из ниже расположенного бассейна в выше расположенный.

Рис. 4.7.3. Каскадная схема водоснабжения фонтанов.
Для формирования восходящих струй фонтана применяются специальные насадки.
Высоту вертикальной струи фонтана, hструи, м, можно определить по формуле Люггера
, (4.7.1)
где Н – напор воды перед насадкой, м;
φ - коэффициент, зависящий от диаметра насадки, мм,
. (4.7.2)
Расход воды через насадку, Q, м3/с, определяют по формуле
, (4.7.3)
где μ – коэффициент расхода, принимается равным от 0,7 до 0,9;
F – площадь поперечного сечения насадки, м2.
Расчет наклонных струй выполняется по специальным номограммам.
Художественная выразительность фонтанов может быть усилена посредством их ночного освещения. Важным условием освещения фонтана является скрытая установка источников света. Подсветка воды затопленными источниками света создает эффект глубинного свечения воды и требует меньшего расхода электроэнергии по сравнению с наружным освещением.
Для усиления декоративного эффекта фонтана может быть использование подводного освещения и аэрирования водной среды путем подачи воздуха через дырчатые трубы, проложенные по дну фонтана. Поднимающиеся к водной поверхности мелкие пузырьки воздуха создают эффект переливающихся жемчужин.
Для получения эффекта самосветящейся струи применяют специальные насадки со встроенными светильниками, излучающими пучок света, направленный внутрь объема струи. За счет эффекта отражения света от наружных поверхностей струи создается эффект флюоресцирующей воды.
В последние годы оборудование для фонтанов совершенствуется в направлении создания погружных насосных установок и светильников, располагаемых непосредственно на дне бассейна фонтана. Внешний вид погружных комплектов фонтанного оборудования, включающих насосы, светильники и системы управления, приведен на рис. 4.7.4.

Рис. 4.7.4. Фонтанное оборудование
Важной особенностью современного фонтанного оборудования является создание динамичной картины фонтанных струй и возможность дистанционного управления параметрами работы оборудования. Возможности современной фонтанной техники характеризуются рис. 4.7.5. Как видно из этого рисунка посредством применения современного фонтанного оборудования можно получить самые разнообразные композиционные решения фонтанных струй и их светового оформления.


Рис. 4.7.5. Примеры художественного решения фонтанов и использованием погружных фонтанных насосов и светильников.
4.8. Устройство внутридомовой сети водоотведения.
Назначением внутридомовой сети водоотведения является прием сточных вод от санитарных приборов и их транспортировка за пределы здания.
Принцип устройства внутренних сетей водоотведения основан на децентрализации отвода сточных вод из здания и организации их самотечного движения.
Децентрализация предусматривает, что из здания, как правило, предусматривается несколько выпусков сточных вод, объединенных дворовой (внутриквартальной) сетью. Такое решение имеет своей целью уменьшить вероятность засорения трубопроводов и нарушения работы системы водоотведения.
Общее представление об устройстве внутренней сети водоотведения можно получить по рис. 4.8.1.
Организация самотечного движения сточных вод в системе внутреннего водоотведения обусловлена условиями эксплуатации системы: необходимостью обеспечения надежного сплава сточных вод, периодичностью поступления сточных вод, разнообразием видов и значительным количеством санитарных приборов в зданиях, загрязненностью сточных вод и рядом других факторов.
Бытовые сточные воды от санитарных приборов 1 (ванн, умывальников, унитазов, моек и др.) последовательно поступают в отводные трубы 2, стояк 3, выпуск 4 и в колодец дворовой канализации 5. Ревизии 6 и прочистки 7 предназначаются для устранения засоров в стояках, отводных трубах и выпусках. Для вентиляции сети предусмотрено устройство вытяжной части стояка 8, устье которой возвышается над кровлей на 0,5 м.
Так как исходными элементами системы водоотведения здания являются санитарные приборы, то их размещение в помещениях здания во многом определяет трассировку водоотводящих сетей, их диаметры, способы прокладки трубопроводов и их размещение, а также устройство системы водоотведения в целом.

Рис. 4.8.1. Внутренняя канализация жилого дома.
1 – санитарные приборы; 2 – отводные трубы; 3 – стояк; 4 – выпуск; 5 – колодец дворовой канализации; 6 – ревизия; 7 – прочистка; 8 - вытяжная часть стояка; 9 – отвод.
4.9. Санитарные приборы.
Типы, конструктивные решения и размеры санитарных приборов во многом определяются физиологическими особенностями человека, поэтому типология санитарных приборов достаточно устойчива и не претерпела существенных изменений за период устройства в зданиях внутренних сетей водоотведения.
К характерной особенности санитарного прибора можно отнести его универсальность, проявляющуюся в необходимости адаптации его конструкции для пользования людьми с различными антропометрическими характеристиками и разных возрастов. Именно это определяет традиционную консервативность форм, конструктивных решений санитарных приборов и их типологического ряда.
Консерватизм санитарных приборов во многом определяется также специфическими требованиями к ним, в частности:
- материалы, из которых изготавливаются приборы, должны быть гигиеничны, устойчивы к химическим воздействиям, выдерживать температуру до 90 ОС и механические нагрузки;
- форма санитарного прибора должна соответствовать антропометрическим характеристикам человека и не иметь мест, в которых возможно накопление загрязнений.
- конструкция санитарного прибора должна обеспечивать эффективный прием использованной воды, минимизировать ее разбрызгивание и загрязнение окружающего пространства.
К основным типам санитарных приборов относят унитазы, писсуары умывальники, ванны, души, душевые кабины, биде, раковины и мойки.
Унитазы в основном изготавливают из фаянса и полуфаянса, реже – из нержавеющей стали. По способу установки они могут быть напольными или консольными, которые крепятся к стене. Традиционные конструкции унитазов имеют косой выпуск сточных вод (под углом 30 О к плоскости пола) или прямой – перпендикулярно плоскости пола. В последнее время получили распространение унитазы с выпуском, параллельным плоскости пола. Унитазы с косым выпуском или с выпуском, параллельным плоскости пола присоединяются непосредственно к стояку, рис. 4.9.1, или к отводной трубе, проложенной над перекрытием, на котором установлен унитаз, рис. 4.9.2. Минимальный диаметр труб, к которым присоединяется унитаз, равен 100 мм.

Рис. 4.9.1. Присоединение унитаза с косым выпуском к стояку.
1 – унитаз; 2 – стояк.

Рис. 4.9.2. Присоединение унитаза с косым выпуском к отводной трубе.
1 - смывной бачок; 2 – подводка водопровода; 3 – стояк; 4 - отводная труба.
Применение унитазов с косыми или параллельными выпусками имеет то преимущество, что их монтаж и демонтаж не требует вскрытия конструкции перекрытия или проведения работ на нижележащем этаже. Унитазы с параллельными выпусками допускают их консольную установку.
Отличительной конструктивной особенностью унитазов является наличие в них встроенных гидравлических затворов, препятствующих проникновению газов и запахов из водоотводящей сети в помещения здания.
Унитаз с прямым выпуском присоединяется к отводной трубе, проложенной в перекрытии на котором установлен унитаз, рис. 4.9.3, или расположенной под перекрытием.

Рис. 4.9.3. Присоединение унитаза с прямым выпуском к отводной трубе, проложенной в перекрытии.
1 – унитаз; 2 – смывной бачок; 3 – отводная труба.
Унитаз с прямым выпуском удобен при групповой установке унитазов в общественных уборных.
Унитаз с параллельным выпуском может присоединяться к стояку или отводной трубе аналогично унитазу с косым выпуском.
В качестве промывных устройств унитазов используют смывные бачки и смывные краны. Смывные бачки относятся в водоаккумулирующим устройствам и имеют расчетный секундный расход воды равный 0,1 л/с, поэтому для их работы не требуется водопроводов, рассчитанных на большой расход воды. Смывные краны не имеют водоаккумулирующих устройств, поэтому для из работы необходим значительно больший секундный расход воды, чем для смывных бачков, ориентировочно около 2 л/с. Поэтому при применении смывных кранов необходим внутренний водопровод, рассчитанный на подачу значительно большего секундного расхода воды, чем при использовании смывных бачков. Применение смывных кранов оправдано в тех зданиях, где по условиям технологии или противопожарной безопасности требуется устройство внутреннего водопровода с большими секундными расходами воды.
Бидэ, или женский восходящий гигиенический душ, устанавливается в комнатах личной гигиены женщин на производственных предприятиях, в лечебных учреждениях, общественных зданиях и в санитарных узлах жилых домов повышенной комфортности. Изготавливают бидэ из фаянса или полуфарфора. Присоединяются бидэ к отводным трубам диаметром 50 мм.
Отличительной особенностью унитаза и бидэ является наличие в их конструкции гидравлического затвора, препятствующего проникновению газов из трубопроводов внутренней сети водоотведения в помещения.
В санитарных узлах жилых домов повышенной комфортности унитазы и бидэ размещаются в одной зоне помещения.
Примеры установки унитазов и биде в санитарных узлах жилья повышенной комфортности приведены на рис. 4.9.4 и рис. 4.9.5.

Рис. 4.9.4. Установка унитаза и биде напольного крепления.

Рис. 4.9.5. Установка унитаза и бидэ настенного крепления.
Писсуары устанавливают в мужских уборных общественных и промышленных зданий. На рис. 4.9.6 показана установка писуаров настенного и напольного типов.

Рис. 4.9.6. Установка писсуаров: а) настенного типа; б) напольного типа.
Писсуары присоединяются к отводным трубам диаметром 50 мм и снабжаются промывающими устройствами. Писсуары могут иметь встроенные гидравлические затворы. В том случае, если писсуар не имеет встроенного гидравлического затвора, он присоединяется к отводной трубе через внешний гидравлический затвор (сифон).
Изготавливаются писсуары из фаянса или полуфарфора.
Умывальники отличаются большим разнообразием форм, размеров. Традиционными материалами для их изготовления являются фаянс и полуфарфор. В последнее время, в связи с появлением новых стилевых решений оформления ванных комнат, получили распространение умывальники из нержавеющей стали, стекла и других материалов.
Схема установки умывальника приведена на рис. 4.9.7.

Рис. 4.9.7. Схема установки умывальника.
1 – умывальник; 2 – сифон; 3 – отводная труба от сифона.
При выборе места для установки умывальника необходимо учитывать зону пользования данным санитарным прибором, которая составляет не менее 0,75 м по ширине и не менее 1,15 м по длине, считая от стены, к которой крепится умывальник.
Умывальники подсоединяются к отводным трубам диаметром 50 мм через сифоны. Варианты установки умывальников в ванных комнатах жилого дома повышенной комфортности приведены на рис. 4.9.8 и 4.9.9, 4.9.10.

Рис. 4.9.8. Установка умывальника с открытым сифоном.

Рис. 4.9.9. Напольная установка умывальника с постаментом.

Рис. 4.9.10. Вариант настенной установки умывальника.
Умывальник с постаментом, приведенный на рис.4.9.9, выполнен в едином стилевом решении с унитазом и бидэ на рис. 4.9.4, а умывальник, представленный на рис. 4.9.10 – с унитазом и бидэ на рис. 4.9.5.
Ванны также отличаются большим конструктивным и стилевым разнообразием. В ванных комнатах жилых зданий массовых серий устанавливаются ванны прямоугольной формы, рис.4.9.11, чугунные или стальные эмалированные. В последние годы большое распространение получили пластмассовые ванны, например, акриловые, выгодно отличающиеся от металлических долговечностью, малой массой и способностью долго удерживать тепло.
Рис. 4.9.11. Прямоугольные ванны. 1 – сифон с переливом.
Ванны присоединяются к отводным трубам диаметром 50 мм. Сифон ванны конструктивно объединен с переливом, отводящим воду из верхнего переливного отверстия ванны. Общий вид сифона с переливом приведен на рис. 4.9.12.
Рис. 4.9.12. Общий вид сифона с переливом для ванны.
Ванны для ванных комнат жилых домов повышенной комфортности отличаются как многообразием форм и материалов, так и расширенным набором дополнительных функций – подводным массажем, подводным восходящим душем, автоматической регулировкой температуры воды в ванне, устройствами для дополнительной очистки и обеззараживания воды и др.
В последние годы значительное распространение получили душевые кабины, представляющие собой полнокомплектное оборудование для приема водных процедур. Душевые кабины с расширенными функциональными возможностями позволяют принимать обычный или циркуляционный душ, задавать программу водных процедур и многое другое.
Полным набором водных процедур обладает душевая кабина, совмещенная с ванной.
Размещение санитарных приборов.
Проблема размещения санитарных приборов приобретает особую остроту при минимальных размерах уборных и ванных в домах массовой застройки. Стремление уменьшить площадь вспомогательных помещений квартир приводит к необходимости компактного размещения санитарных приборов. Примеры компоновки уборных и ванных комнат в домах массовой застройки приведены ниже. На рис. 4.9.13 приведена планировка раздельного санитарного узла. Стояки систем водоотведения, хозяйственно-питьевого водопровода и системы горячего водоснабжения размещены в нише уборной. Глубина ниши равна 400 мм. Стояк системы водоотведения расположен на центральной оси унитаза непосредственно за ним. Такое решение сокращает до минимума протяженность отводных труб диаметром 100 мм.
Для ванны и умывальника используется один смеситель с длинным изливом и душевой сеткой. Компактное размещение санитарных приборов сводит до минимума протяженность подводок водопровода холодной и горячей воды и отводных труб водоотведения. В тоже время обеспечивается свободный доступ к стоякам и другим трубопроводам водоснабжения и водоотведения для проведения профилактических работ и ремонта.
Двери в ванную комнату и уборную открываются наружу.

Рис. 4.9.13. Схема раздельного санузла.
1 – унитаз; 2 – умывальник; 3 – ванна; 4 – стояк системы водоотведения;
5 – стояк хозяйственно-питьевого водопровода; 6 – стояк системы горячего водоснабжения
На рис. 4.9.14 приведена схема размещения санитарных приборов в санузле с установкой в уборной унитаза и раковины.

Рис. 4.9.14. Размещение унитаза и раковины в уборной.
1 – унитаз; 2 – раковина; 3 – стояк системы вооотведения; 4 – стояк водопровода холодной воды; 5 – стояк водопровода горячей воды.
Стояки системы водоотведения, водопроводов холодной и горячей воды размещаются в угловой нише размером 530 х 280 мм. Сточные воды от унитаза к стояку системы отведения отводятся по отводной трубе диаметром 100 мм, от раковины – по отводной трубе диаметром 50 мм.
План размещения ванны, умывальника, унитаза, стояков системы водоотведения, водопровода холодной и горячей воды в унифицированном совмещенном санузле жилых зданий массовой застройки приведен на рис. 4.9.15.

Рис. 4.9.15. План размещения санитарных приборов, стояков системы водоотведения, водопроводов холодной и горячей воды в санитарном узле совмещенного типа.
1 – ванна; 2 – умывальник; 3 – унитаз; 4 – стояк системы водоотведения;
5 – стояк водопровода холодной воды; 6 – стояк водопровода горячей воды; 7 – полотенцесушитель.
Стояки системы водоотведения, водопроводов холодной и горячей воды проложены в угловой нише. Компактная установка санитарных приборов вдоль стены, противоположной входу в санузел, облегчает прокладку отводных труб и подводок водопроводов холодной и горячей воды к санитарным приборам и водоразборной арматуре. Размещение полотенцесушителя вне зоны забрызгивания при пользовании ванной и умывальником создает дополнительные удобства при пользовании санузлом.
Основные требования по размещению санитарных приборов.
При размещении санитарных приборов в многоквартирных жилых и общественных зданиях необходимо учитывать ряд обязательных нормативных требований, важнейшие из которых:
- не допускается размещение уборной и ванной (или душевой) непосредственно над жилыми комнатами и кухнями. Размещение уборной и ванной (или душевой) в верхнем уровне над кухней допускается только в квартирах, расположенных в двух уровнях;
- для предотвращения повышения уровня шума не допускается крепление санитарных приборов и трубопроводов непосредственно к межквартирным стенам и перегородкам, ограждающим жилые комнаты;
- в общественных зданиях уборные с числом унитазов свыше трех следует оборудовать напольными унитазами или напольными чашами. Установка унитазов с сидениями в указанных зданиях рекомендуется только по согласованию с местными органами государственного надзора;
- в детских садах, а также в общеобразовательных школах и школах-интернатах для учащихся младших классов уборные необходимо оборудовать детскими унитазами.
В ряде помещений, в которых установлены санитарные приборы необходимо предусматривать трапы, предназначенные для отвода сточных вод с поверхности пола. Трапы необходимо устанавливать:
- в душевых коллективного пользования;
- в полу санузлов при номерах гостиниц, санаториев, кемпингов, турбаз, в уборных с тремя унитазами и более;
- в умывальных — с пятью умывальниками и более;
- в мусоросборных камерах жилых зданий.
В ванных комнатах жилых зданий трапы не устанавливаются.
4.10. Основные правила устройства систем водоотведения зданий.
Для надежной работы системы водоотведения здания необходимо соблюдать ряд требований по ее устройству. Рассмотрим основные элементы системы водоотведения здания.
Отводные трубы, к которым присоединяются унитазы, должны иметь диаметр не менее 100 мм, для других отводных труб минимальный диаметр составляет 50 мм. Для обеспечения самотечного движения сточных вод и самоочищения труб их уклон должен составлять 0,033 в направлении течения сточных вод. Не допускается присоединять санитарные приборы, расположенные в разных квартирах на одном этаже, к одному отводному трубопроводу. Прокладку отводных трубопроводов от санитарных приборов, устанавливаемых в уборных административных и жилых зданий, раковин и моек в кухнях, умывальников в лечебных кабинетах, больничных палатах и других подсобных помещениях необходимо предусматривать над полом с устройством гидроизоляции и облицовки. В начале участков отводных труб при числе присоединяемых приборов 3 и более устанавливаются прочистки, предназначенные для ликвидации засоров в отводных трубах. Прочистки устанавливаются в местах, удобных для их обслуживания.
Стояки – вертикальные трубопроводы системы водоотведения, прокладываются в помещениях, в которых установлены санитарные приборы. Диаметр стояка, к которому присоединены унитазы, принимается не менее 100 мм, в том случае, если к стояку унитазы не присоединяются, его минимальный диаметр принимается равным 50 мм. Для обеспечения возможности контроля состояния и прочистки стояка на нем устанавливаются ревизии. В жилых многоквартирных зданиях ревизии устанавливаются на первом, последнем этаже и через каждые 3 этажа. Ревизии размещаются на высоте, равной 1,0 м над уровнем пола. В верхней части стояка предусматривается вытяжная часть, которая выводится через кровлю или сборную вентиляционную шахту здания на высоту, не менее, м:
от плоской неэксплуатируемой кровли .......... 0,3
" скатной кровли ........................................... 0,5
" эксплуатируемой кровли ............................ 3
" обреза сборной вентиляционной шахты ..... 0,1
Выводимые выше кровли вытяжные части стояков водоотведения необходимо размещать от открываемых окон и балконов на расстоянии не менее 4 м по горизонтали.
Нижняя часть стояка переходит в выпуск – горизонтальный трубопровод, прокладываемый с уклоном 0,02 в направлении дворового колодца. По выпуску сточные воды отводятся из здания и поступают в дворовую сеть водоотведения. Выпуск может предусматриваться от каждого стояка или объединять несколько близко расположенных друг от друга стояков. Диаметр выпуска принимается равным диаметру стояка. Длина выпуска от стояка до оси смотрового колодца не должна превышать 8 м, 12 м и 12 м при диаметрах выпусков 50 мм, 100 и 150 мм соответственно. В том случае, если расстояние от стояка до смотрового колодца на дворовой сети водоотведения превышает данные значения, на выпусках необходимо устанавливать прочистки, при этом расстояния от прочисток до смотровых колодцев не должны превышать приведенных выше значений.
При выборе трассировки сетей водоотведения (отводных труб, стояков, выпусков) в жилых и общественных зданиях необходимо учитывать, что прокладка внутренних канализационных сетей не допускается: под потолком, в стенах и в полу жилых комнат, спальных помещений детских учреждений, больничных палат, лечебных кабинетов, обеденных залов, рабочих комнат, административных зданий, залов заседаний, зрительных залов, библиотек, учебных аудиторий, электрощитовых и трансформаторных, пультов управления автоматики; под потолком (открыто или скрыто) кухонь, помещений предприятий общественного питания, торговых залов, складов пищевых продуктов и ценных товаров, вестибюлей, помещений, имеющих ценное художественное оформление.
Для внутренних сетей водоотведения применяют в основном чугунные, пластмассовые и керамические трубы. Сеть конструируется из прямолинейных участков труб и фасонных частей, устанавливаемых в местах изменения направления сети, присоединения трубопроводов, санитарных приборов, ревизий, прочисток и т. д.
До последнего времени наиболее широко для внутренних сетей водоотведения применялись чугунные раструбные трубы, благодаря в основном устойчивости к воздействиям и большому сроку службы. Все раструбные соединения труб между собой и с фасонными частями уплотнялись просмоленной пенькой или цементом. В редких случаях при прокладке водоотводящих сетей над помещениями с ценной отделкой для зачеканивания (уплотнения) стыков применялся свинец.
В последнее время для монтажа внутренних сетей водоотведения стали широко применяться пластмассовые трубы из полиэтилена и полипропилена. Отличными характеристиками обладают трубы из модифицированного полипропилена. Они устойчивы к высокой температуре сточных вод, обладают гладкой внутренней поверхностью, что снижает вероятность засоров в них, химически стойки. Пластмассовые трубы должны прокладываться скрыто, так как они могут разрушаться под действием ультрафиолетовых лучей. Особо необходимо выделить возможность снижения уровня шума, создаваемого системой водоотведения, при использовании полипропиленовых труб и специальных креплений трубопроводов к конструкциям зданий.
4.11. Водосточные системы зданий.
Водостоки предназначены для отвода дождевых и талых вод с крыш зданий. Необходимость организации водостоков определяется тем, что замачивание ограждающих конструкций зданий отрицательно влияет на их теплотехнические и прочностные характеристики.
Различают наружные и внутренние организованные водостоки.
Наружные водостоки состоят из приемных воронок и вертикальных водостоков, расположенных снаружи здания. К недостаткам наружных водостоков относятся возможность образования наледей в приемных воронках и стояках при чередовании в холодный период года промежутков с положительными и отрицательными температурами наружного воздуха, затрудненность отвода вод с плоских крыш при большой ширине зданий, подверженность коррозии элементов водостоков. Серьезным недостатком наружных водостоков является то, что сточные воды с кровли отводятся на территорию, прилегающую к зданию. Это может вызывать насыщение влагой грунта около фундамента и замачивание основания здания, что особенно опасно при просадочных грунтах. Устранить данное явление возможно путем отвода атмосферных вод по лоткам, однако это не всегда возможно.
Внутренние водостоки
Внутренние водостоки включают восточные воронки, заделываемые в конструкцию крыши, стояки, расположенные внутри здания, и выпуски, по которым атмосферные воды отводятся из здания. Размещение стояков в отапливаемых помещениях предотвращает замерзание атмосферных вод и значительно повышает надежность работы внутренних водостоков по сравнению с наружными.
Схема устройства внутренних водостоков приведена на рис. 4.11.1.

Рис. 4.11.1. Схема внутренних водостоков здания.
1 – водосточная воронка; 2 – стояк; 3 – упор; 4 – выпуск; 5 – колодец на наружной водосточной или общесплавной сети.
Атмосферные воды с кровли здания поступают в водосточную воронку 1, затем в стояк 2, выводятся из здания по выпуску 4 и поступают в колодец дождевой или общесплавной системы водоотведения города.
При отсутствии в районе застройки сети дождевой канализации выпуск дождевых вод из внутренних водостоков выполняют открыто на отмостку, рис. 4.11.2, или в лотки около здания (открытый выпуск); при этом следует предусматривать мероприятия, исключающие размыв поверхности земли около здания.

Рис. 4.11.2. Схема выпуска дождевых вод на отмостку здания.
1 – водосточный стояк; 2 – ревизия; 3 – бетонный упор; 4 - тепловая изоляция; 5 – выпуск; 6 – отмостка.
Количество водосточных воронок, размещаемых на кровле здания определяется расчетом и учетом рельефа кровли, допускаемой площади водосбора на одну воронку и конструкции здания.
Максимальное расстояние между водосточными воронками при любых видах кровли не должно превышать 48 м.
На плоских кровлях жилых и общественных зданий допускается устанавливать по одной водосточной воронке на каждую секцию.
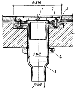
Водосточная воронка для неэксплуатируемой кровли показана на рис. 4.11.3, для эксплуатируемой – на рис. 4.11.4.

Рис. 4.11.3. Разрез водосточной воронки для неэксплуатируемой кровли.
Рекомендуем посмотреть лекцию "8 Библиографический список".
1 – колпак; 2 – гайка для крепления воронки; 3 – прижимное кольцо;
4 – хомут; 5 – сливной патрубок.

Рис. 4.11.4. Разрез водосточной воронки для эксплуатируемой кровли.
1 – приемная решетка; 2 – гайка; 3 – прижимное кольцо; 4 – хомут;
5 – сливной патрубок.






















