Водоотведение поселений
Раздел 3. Водоотведение поселений.
3.1. Назначение водоотведения, виды сточных вод.
Жизнь людей, их бытовая и производственная деятельность неразрывно связаны с образованием жидких отбросов (сточных вод), представляющих потенциальную опасность, как для человека, так и для всей экологической системы сферы его обитания. Сточные воды образуются также в результате атмосферных осадков.
В зависимости от вида образования сточных вод их разделяют на: бытовые, образующиеся в результате жизнедеятельности человека, производственные, являющиеся побочным результатом технологических процессов различных производств, и атмосферные (поверхностные), образующиеся вследствие выпадения атмосферных осадков.
Степень опасности сточных вод определяется содержащимися в них загрязнениями. Они по своему составу могут быть органическими и минеральными.
Органические загрязнения хорошая питательная среда для болезнетворных (патогенных) бактерий, способных вызывать инфекционные заболевания, что определяет их высокую опасность в санитарном отношении.
Уровень загрязнения сточных вод характеризуется концентрацией загрязнений, которая измеряется в мг/л, или г/м3.
Бытовые сточные воды содержат вещества различной природы, преимущественно органического происхождения, в них содержатся также минеральные вещества и бактерии, в том числе болезнетворные, что делает бытовые сточные воды наиболее опасными с санитарной точки зрения. Концентрация загрязнений в бытовых сточных водах зависит от объема воды, расходуемой одним жителем. Чем больше расход воды, тем ниже концентрация загрязнений в бытовых сточных водах.
Состав производственных сточных вод определяется особенностями технологических процессов производства. Они разделяются на загрязненные и незагрязненные (условно чистые). Загрязненные воды могут содержать органические и минеральные составляющие в опасных концентрациях.
Рекомендуемые материалы
Атмосферные (поверхностные) сточные воды содержат в основном минеральные примеси и характеризуются меньшей санитарной опасностью по сравнению с бытовыми сточными водами. Однако атмосферные воды, стекающие с загрязненных территорий промышленных предприятий и городов, могут быть значительно загрязнены органическими и минеральными веществами. Характерной особенностью атмосферных вод является их большая неравномерность. В сухую погоду они или полностью отсутствуют, или поступают в минимальном объеме, определяемом условиями поливки территории поселения. В периоды сильных ливней их объемы могут в десятки раз превышать объемы бытовых сточных вод, образующихся на данной территории застройки.
Для обеспечения нормальной жизнедеятельности поселений, предотвращения заболеваний, передающихся со сточными водами, защиты водоемов от негативного воздействия сбросов сточных вод необходимо обеспечить:
- организованный прием сточных вод в местах их образования;
- транспортировку сточных вод, их очистку и обеззараживание;
- утилизации веществ, уловленных из сточных вод при их очистке;
- безопасный сброс очищенных и обеззараженных сточных вод в водоем.
Для решения этих важных задач, определяющих саму возможность нормальной жизнедеятельности поселения, устраивается водоотведение – специальный вид инженерного оборудования, относящийся, наряду с водоснабжением, к системам жизнеобеспечения населенных мест.
3.2. Организация системы водоотведения.
Основным видом водоотведения поселений является сплавной, при котором сточные воды от приемников сточных вод (санитарных приборов, дождеприемников, водопотребляющих технологических установок) транспортируются по специальным коммуникациям (коллекторам) на очистные сооружения, где происходит очистка сточных вод и их обеззараживание. После этого очищенные и обеззараженные сточные воды выпускаются в водоем.
Для сплавного водоотведения необходимо наличие в зданиях внутреннего водопровода и обеспечение нормы водопотребления не менее 60 л/сут. на одного человека. Только при соблюдении этих условий можно обеспечить разбавление загрязнений и их транспортировку по трубопроводам.
Сплавное водоотведение поселения состоит из следующих, последовательно расположенных по ходу движения сточных вод, составных частей:
- внутридомовой сети;
- наружной дворовой или внутриквартальной сети;
- наружной уличной сети;
- насосных станций;
- очистных сооружений;
- устройств для выпуска очищенных сточных вод в водоем.
3.3. Внутридомовая сеть водоотведения.
Назначением внутридомовой сети является прием сточных вод от санитарных приборов и их транспортировка за пределы здания. Устройство внутридомовой сети подробно рассматривается в разделе «Внутренний водопровод и водоотведение зданий». Общее представление об устройстве внутренней сети водоотведения можно получить по рис. 3.3.1. Бытовые сточные воды от санитарных приборов 1 (ванн, умывальников, унитазов, моек и др.) последовательно поступают в отводные трубы 2, стояк 3, выпуск 4 и в колодец дворовой канализации 5. Ревизии 6 и прочистки 7 предназначаются для устранения засоров канализационной сети на стояках, отводных трубах и выпусках. Для вентиляции сети предусмотрено устройство вытяжной части стояка 8.

Рис. 3.3.1. Внутренняя канализация жилого дома.
1 – санитарные приборы; 2 – отводные трубы; 3 – стояк; 4 – выпуск; 5 – колодец дворовой канализации; 6 – ревизия; 7 – прочистка; 8 - вытяжная часть стояка; 9 – отвод.
3.4. Дворовая (внутриквартальная) сеть.
Дворовая (внутриквартальная) сеть водоотведения, рис. 3.4.1, предназначена для самотечной транспортировки сточных вод от здания до коллектора уличной сети.

Рис. 3.4.1. Схема дворовой сети водоотведения.
1 – жилой дом; 2 – ввод водопровода; 3 – дворовая сеть водоотведения. КК-1,КК-2 - колодцы дворовой сети; КК-3 – поворотный колодец; КК-4 - контрольный колодец; КК-5 – колодец уличной сети.
Все выпуски из здания присоединяются к колодцам дворовой сети, в местах ее поворотов устраиваются поворотные колодцы. На участке присоединения дворовой сети к уличной сети водоотведения на расстоянии около 1,5 м от красной линии предусматривается контрольный колодец. Дворовая сеть присоединяется к колодцу уличной сети водоотведения, которая является одним из основных элементов системы водоотведения поселения.
3.5. Классификация систем водоотведения поселений.
Наружная уличная сеть, насосные станции, очистные сооружения и устройства для выпуска очищенных вод в водоем образуют систему водоотведения поселения.
В зависимости от вида наружной сети водоотведения системы водоотведения подразделяются на:
- общесплавную;
- полную раздельную;
- полураздельную;
- неполную раздельную;
- комбинированную.
Схема общесплавной системы водоотведения представлена на рис. 3.5.1.

Рис. 3.5.1. Схема общесплавной системы водоотведения города.
1 – уличные коллекторы бытовой и дождевой сети; 2 – районные (бассейновые) коллекторы; 3 – главный городской коллектор; 4 – напорный районный коллектор; 5 – аварийный выпуск; 6 – напорный коллектор от главной насосной станции к очистным сооружениям; 7 – устройство для выпуска очищенных сточных вод; 8 – водоразделы. ПП – промышленное предприятие; РНС – районная насосная станция; ГНС – главная насосная станция; ОС – очистные сооружения.
В общесплавной системе водоотведения бытовые, атмосферные и условно чистые производственные сточные воды сплавляются по единой коллекторной сети.
Обеспечение самотечного движения сточных вод требует прокладки трубопроводов наружной сети с уклоном в сторону движения сточных вод. Поэтому территория города разбивается на районы водоотведения, границами которых являются линии водоразделов 8. Бытовые сточные воды от зданий и атмосферные сточные воды от ливнеприемников и систем ливневого отведения зданий поступают в уличные коллекторы 1, по которым самотеком поступают в районные коллекторы 2, проложенные на пониженных участках рельефа каждого района водоотведения. К уличным или районным коллекторам присоединяются также системы водоотведения условно чистых производственных сточных вод промышленных предприятий (ПП) и системы отвода атмосферных вод с их территории. Уличные и районные коллекторы прокладываются с уклоном в сторону движения сточных вод. При наличии в районе водоотведения пониженных участков, в нижних точках данных участков устраиваются районные насосные станции (РНС), к которым сточные воды поступают самотеком, а после которых подаются по напорным районным коллекторам 4 к вышерасположенным районным самотечным коллекторам. Все районные коллекторы объединяются в главный городской коллектор 3, по которому сточные воды самотеком поступают на главную насосную станцию (ГНС), после чего по напорному коллектору 6 подаются на очистные сооружения (ОС) системы водоотведения города. Очищенные сточные воды сбрасываются в водоем через устройство выпуска сточных вод 7. Для аварийного выпуска неочищенных сточных вод в водоем при авариях на ГНС или ОС предусматривается аварийный выпуск сточных вод 5.
Основным недостатком общесплавной системы водоотведения являются большие затраты на ее устройство, обусловленные тем, что все коллекторы системы, ее насосные станции и очистные сооружения предназначаются для пропуска суммарного объема бытовых, атмосферных и условно чистых производственных сточных вод.
Как было отмечено выше, расчетный расход сточных вод общесплавной системы наблюдается только в периоды интенсивных ливней, поэтому в остальное время общесплавная система работает только на часть своей пропускной способности. Кроме того, в периоды отсутствия дождей наблюдается низкий уровень заполнения коллекторов системы, что отрицательно сказывается на гидравлическом режиме работы сети.
При полной раздельной системе водоотведения, рис. 3.5.2, устраиваются разные коллекторы для транспортировки бытовых и атмосферных сточных вод. При этом, подземными устраивают как коллекторы бытовых, так и коллекторы атмосферных сточных вод.

Рис. 3.5.2. Схема раздельной системы водоотведения города.
1 – уличные коллекторы бытовой сети; 2 – районные (бассейновые) коллекторы бытовой сети; 3 – главный городской коллектор бытовой сети; 4 – выпуск атмосферных сточных вод в водоем; 5 – аварийный выпуск бытовых сточных вод; 6 – напорный коллектор от главной насосной станции к очистным сооружениям; 7 – устройство для выпуска очищенных сточных вод; 8 – водоразделы; 9 – уличные коллекторы дождевых сточных вод; 10 - районные коллекторы дождевых сточных вод.
Устройство раздельной системы водоотведения требует меньших затрат по сравнению с общесплавной системой, так как главный городской коллектор, главная насосная станция и очистные сооружения проектируются на расчетный расход бытовых сточных вод города, что значительно снижает стоимость системы по сравнению с общесплавной. Однако выпуск неочищенных атмосферных вод в водоем ухудшает санитарные и водоохранные характеристики данной системы.
Полураздельная система, рис. 3.5.3, отличается от полной раздельной тем, что в местах пересечения коллекторов дождевой сети с главным коллектором бытовых стоков устанавливают водосбросные камеры (ливнепропускные колодцы).

Рис. 3.5.3. Схема полураздельной системы водоотведения города.
1 – уличные коллекторы бытовой сети; 2 – районные (бассейновые) коллекторы бытовой сети; 3 – главный городской коллектор бытовой сети; 4 – выпуск очищенных атмосферных сточных вод в водоем; 5 – аварийный выпуск бытовых сточных вод; 6 – напорный коллектор от главной насосной станции к очистным сооружениям; 7 – устройство для выпуска очищенных сточных вод; 8 – водоразделы; 9 – уличные коллекторы дождевых сточных вод; 10 - районные коллекторы дождевых сточных вод; 11 – ливнепропускные колодцы.
Такое решение позволяет перепускать первые, наиболее загрязненные поступления дождевых или талых вод, в коллектор бытовых сточных вод с последующей их транспортировкой на очистные сооружения. Поэтому санитарные характеристики полураздельной системы лучше, чем полной раздельной.
Из всех разновидностей раздельных систем водоотведения, наиболее совершенной в санитарном и водоохранном отношении является полная раздельная система с очистными сооружениями атмосферных сточных вод, рис. 3.5.4, которая предусматривает очистку всех атмосферных и условно чистых производственных сточных вод перед их сбросом в водоем.

Рис. 3.5.4. Схема полной раздельной системы водоотведения города с установками очистки дождевых и условно чистых производственных сточных вод.
1 – уличные коллекторы бытовой сети; 2 – районные (бассейновые) коллекторы бытовой сети; 3 – главный городской коллектор бытовой сети; 4 – районный напорный коллектор бытовых сточных вод; 5 – аварийный выпуск бытовых сточных вод; 6 – напорный коллектор от главной насосной станции к очистным сооружениям; 7 – устройство для выпуска очищенных сточных вод; 8 – водоразделы; 9 – уличные коллекторы дождевых сточных вод; 10 - районные коллекторы дождевых сточных вод; 11 – выпуск очищенных дождевых сточных вод; 12 – установки очистки дождевых сточных вод.
Неполная раздельная система водоотведения отличается от полной раздельной системы тем, что дождевые и условно-чистые производственные сточные воды отводятся в водоем без очистки по открытым лоткам, кюветам или канавам. Как правило, устройство неполной раздельной системы является начальным этапом последующего строительства полной раздельной системы.
Данная система водоотведения сочетает экономические и эксплуатационные преимущества раздельной системы водоотведения с высокими санитарными и природоохранными характеристиками.
При комбинированной системе водоотведения различные районы города обслуживают разные системы водоотведения, например, общесплавная, полураздельная или раздельная.
Часто комбинированная система образуется при реконструкции общесплавной системы и выделении ее коллекторов только для транспортировки бытовых сточных вод, а для дождевых сточных вод предусматривается строительство самостоятельных коллекторов. Так как процесс реконструкции системы отведения весьма затратен и продолжителен по времени, то на территории города, в разных его частях, одновременно функционируют различные системы, совокупность которых называют комбинированной системой водоотведения.
3.6. Схемы сетей водоотведения.
При выборе схемы трассировки сетей водоотведения по территории населенных мест определяющую роль играет рельеф территории.
Если территория города имеет плавный рельеф с понижением к водоему, то применяется пересеченная схема, особенностью которой является трассирование коллекторов в направлении, перпендикулярном реке и их перехвате главным коллектором, проложенным вдоль реки. Системы, представленные на рис. 3.5.1 – 3.5.3, имеют пересеченную схему сетей водоотведения.
При круто падающем рельефе застройки в направлении реки применяют параллельную схему, рис. 3.6.1. В этом случае районные коллекторы 1 прокладываются в направлении, параллельном реке, а городской 2 – в перпендикулярном направлении. Целесообразность применения данной схемы заключается в предотвращении возрастания скоростей сточных вод в районных коллекторах выше критических значений, способных вызвать разрушения трубопроводов.

Рис. 3.6.1. Параллельная схема сетей водоотведения.
1 – районные коллекторы; 2 – городской коллектор.
I, II, III – бассейны водоотведения.
В том случае, если рельеф местности имеет ярко выраженный характер в направлении реки и затруднена организация самотечного движения сточных вод в пониженной части территории застройки, применяется зонная схема, рис. 3.6.2.

Рис. 3.6.2. Зонная схема сети водоотведения.
При этой схеме территория водоотведения разбивается на две зоны – верхнюю и нижнюю. В каждой зоне устраивается собственная сеть коллекторов, аналогичная пересеченной схеме. Сточные воды на очистные сооружения из перехватывающего коллектора верхней зоны поступают самотеком, а из перехватывающего коллектора нижней зоны подаются насосной станцией.
Радиальная схема, рис. 3.6.3, применяется при сложном рельефе, большой территории водоотведения и наличии двух и более очистных сооружений.

Рис. 3.6.3. Радиальная схема сети водоотведения.
I, II, III, IV, V – районы водоотведения.
При радиальной схеме осуществляется децентрализованное водоотведение и очистка сточных вод с различных территорий города.
3.7. Трассировка уличных сетей водоотведения
Правильный выбор схемы трассировки уличных сетей имеет определяющее значение для обеспечения надежности работы сетей водоотведения и экономии затрат на их устройство.
При плоском рельефе и кварталах большой площади применяют объемлющую схему трассировки, рис. 3.7.1.

Рис. 3.7.1. Объемлющая трассировка уличных сетей водоотведения
Схема трассировки по пониженной стороне квартала, рис. 3.7.2, применяется при выраженном рельефе территории застройки и при преобладающем влиянии экономических требований к трассировке сети. Данная схема трассировки отличается от предыдущей меньшей протяженностью уличных коллекторов, и, следовательно, меньшими затратами на устройство сетей. К достоинствам данной схемы можно отнести также меньшую загруженность подземных частей улиц коллекторами систем водоотведения, что облегчает условия прокладки других инженерных сетей, устройство подземных пешеходных переходов и других подземных пространств.

Рис. 3.7.2. Схема трассировки сети водоотведения по пониженной стороне квартала.
В отдельных случаях применяется внутриквартальная трассировка сети, отличительной особенностью которой является прокладка сетей внутри кварталов между зданиями. Для реализации данной схемы необходим подробный проект размещения зданий внутри кварталов. Применение данной схемы позволяет сократить общую протяженность сетей, однако при этом усложняется их эксплуатация.
Выбор схемы трассировки сетей водоотведения производится на основании технико-экономического сравнения различных вариантов с учетом очередности застройки территории города. Важную роль при выборе схемы трассировки сетей играют рельеф территории застройки и планировочные решения – вид и плотность застройки, ширина улиц, размеры кварталов и другие факторы.
Дополнительное удорожание сетей вызывает пересечение ими рек, оврагов, железных дорог и других естественных и искусственных препятствий. Поэтому при выборе трассировки сети необходимо стремиться избегать подобных пересечений.
3.8. Особенности сетей водоотведения и их прокладка.
Строительство сетей водоотведения связано с большими затратами, вызванными значительной протяженностью сетей, большим объемом земляных работ, значительными размерами поперечных сечений трубопроводов.
Для надежной работы сетей водоотведения необходимо предотвратить осаждение загрязнений в трубопроводах и их заиливание. Поэтому в трубопроводах должны обеспечиваться скорости движения сточных вод, гарантирующие самоочищение трубопроводов. Такие скорости стоков называются скоростями самоочищения. Рекомендуемое значение скорости самоочищения зависит от диаметра трубы и составляет от 0,7 до 1,5 м/с. Меньшее значение соответствует диаметру 150 мм, а максимальное – 1500 мм и более.
Так как в сетях водоотведения организуется преимущественно самотечное движение сточных вод, трубопроводы должны прокладываться с уклоном в сторону движения стоков. Чем больше уклон трубопроводов, тем больше скорость движения сточных вод. Для обеспечения в трубопроводах скоростей самоочищения трубы необходимо прокладывать с уклоном, не менее 0,008 для труб диаметром 150 мм и не менее 0,007 для труб диаметром 200 мм. Для труб бόльших диаметров минимальные уклоны определяются специальным расчетом. В тоже время необходимо иметь в виду, что увеличение уклонов трубопроводов сверх минимально допустимых приводит к дополнительному увеличению заглубления трубы по ходу движения сточных вод, что увеличивает затраты на устройство сети.
Для сетей водоотведения применяются керамические, асбестоцементные, бетонные, железобетонные, пластмассовые трубы. Использование чугунных и стальных труб допускается при пересечении естественных препятствий, железнодорожных путей, водопроводов и в других особых случаях. В последние годы широкое распространение получили пластмассовые трубы из поливенилхлорида и полипропилена. Незначительно превышая другие виды неметаллических труб в стоимости, пластмассовые трубы обеспечивают высокую стойкость к агрессивным воздействиям, низкое гидравлическое сопротивление и, что особенно важно, высокую степень механизации и автоматизации работ по прокладке трубопроводов.
Наименьшие диаметры труб самотечных сетей принимаются:
- для уличной сети – 200 мм., для небольших населенных пунктов - 150 мм.;
- для внутриквартальной сети бытовой и производственной канализации – 150 мм.;
- для дождевой и общесплавной уличной сети – 250 мм., внутриквартальной – 200 мм.
Глубина заложения трубопроводов определяется требованиями по предотвращению разрушения труб от внешних нагрузок и замерзания сточных вод. При выборе глубины заложения труб учитывается также необходимость сокращения объемов земляных работ и уменьшения общей стоимости сетей.
Начальная глубина заложения уличной сети, Н, м, определяется в зависимости от глубины заложения наиболее удаленного колодца дворовой сети, рис. 3.8.1, по формуле:
, (3.8.1)
где h – глубина наиболее удаленного колодца дворовой сети, м;
i – уклон дворовой сети;
L – расстояние от наиболее удаленного колодца дворовой сети до красной линии, м;
l – расстояние от красной линии до уличного коллектора, м;
z1, z2 – отметка поверхности земли над уличным коллектором и в месте расположения наиболее удаленного колодца дворовой сети соответственно, м;
Δ – разность отметок низа трубы дворовой канализации и лотка колодца уличной сети, м.

Рис. 3.8.1. Определение начальной глубины заложения уличной сети водоотведения. К1 – наиболее удаленный от уличной сети колодец дворовой или внутриквартальной сети; КК – контрольный колодец; ГК – колодец на уличной сети; ∆ - перепад высот трубы подключения и уличного коллектора.
Наименьшая глубина заложения труб принимается по условиям предотвращения:
· разрушения трубы от внешних нагрузок - не менее 0,7 м от поверхности земли до верха трубы;
· замерзания сточных вод – низ трубы не выше чем на 0,3 м отметки проникновения в грунт нулевой температуры (глубины промерзания грунта).
Наибольшая глубина заложения уличных труб зависит от их материала и вида грунта и находится в пределах от 4 до 8 метров.
Прокладка сетей водоотведения производится подземно в пределах проезжей части, под газонами или в полосе зеленых насаждений. При ширине улиц до 30 м уличная сеть прокладывается с одной стороны улицы, а при ширине более 30 м – с двух сторон.
Минимальные расстояния от трубопроводов сетей водоотведения до фундаментов зданий, других инженерных коммуникаций регламентируются СНиП 2.07.01-89 (2000).
Сети водоотведения размещаются, как правило, ниже других инженерных сетей, рис. 3.8.2.

Рис. 3.8.2. Размещение наружных подземных инженерных сетей.
Э – электрические кабели; Т – телефонный кабель; Г – газопровод; В - водопровод; ВС – водосточные сети; Д – дождеприемник; кабели контактной сети; К – сети водоотведения.
Допускается совместная прокладка водоотводящих сетей с другими инженерными сетями в проходных коллекторах.
Отличительной особенностью самотечных сетей водоотведения является то, что сточные воды при своем движении по трубам заполняют сечение трубопровода не полностью. Это предусмотрено для того, чтобы иметь некоторый запас для пропуска расхода сточных вод, превышающего расчетный, а также для обеспечения транспортировки легких загрязнений и необходимости вентиляции сети.
Расчетное наполнение трубопроводов и каналов с поперечным сечением любой формы принимается не более 0,7 диаметра (высоты).
3.9. Вентиляция сети водооведения.
В результате разложения органических загрязнений, а также в результате попадания в сточные воды летучих веществ из стоков выделяются различные газы – аммиак, сероводород, метан и др. Газы заполняют надводную часть трубопровода, откуда их необходимо удалять. Для этого предусматривают вентиляцию сети. Удаление газов из сети происходит через вентиляционную часть стояков водоотведения зданий, а приток воздуха в сеть – через отверстия и неплотности в канализационных колодцах или специальные приточные устройства.
На участках сети, к которым выпуски от зданий не присоединяются, вытяжные стояки предусматриваются не менее чем через 250 м. При отсутствии зданий следует предусматривать стояки диаметром 300 мм и высотой не менее 5 м.
3.10. Колодцы.
На самотечных участках сети устраивают смотровые колодцы. В пределах колодца сточные воды движутся по открытым лоткам, сечение которых выполнено в форме полуокружности. Колодцы размещают во всех местах соединения труб, изменения их диаметров, поворотов сети и ее перепадов.
Линейные колодцы, рис. 3.10.1, а, устраиваются на прямых участках сети, они предназначены для контроля состояния сети, ее осмотра и прочистки.
Поворотные колодцы, рис. 3.10.1, б, устанавливаются в местах поворота сети. Лоток в поворотном колодце выполнен по плавной кривой, угол поворота принимается не менее 90О.
Узловые колодцы, рис.3.10.1, в, предусматриваются во всех местах соединения труб. К основному коллектору боковые присоединения осуществляют плавным закруглением лотков.

Рис. 3.10.1. Смотровые колодцы уличной сети водоотведения.
а) – линейный; б) – поворотный; в) - узловой.
1 – колодец; 2 – лоток; 3 – коллекторы.
Кроме перечисленных колодцев на сетях водоотведения предусматривают перепадные колодцы, устанавливаемые в местах вынужденных перепадов сети и контрольные колодцы, устраиваемые в местах присоединения дворовой или внутриквартальной сети к уличной сети.
3.11. Переходы через препятствия.
При трассировке сети возникает необходимость прокладки трубопроводов сетей водоотведения через естественные или искусственные препятствия, к которым относятся реки, овраги, каналы, железные дороги, различные подземные сооружения и другие объекты. Для этого применяются специальные сооружения – дюкеры, эстакады и др.
Дюкер, рис. 3.11.1, представляет собой изогнутый в вертикальной плоскости напорный трубопровод, проложенный под дном реки.

Рис. 3.11.1. Схема дюкера.
1 – входная (верхняя) камера; 2 – выходная (нижняя) камера;
3 - аварийный выпуск.
Для обеспечения нормальных условий эксплуатации дюкера устраиваются входная 1 и выходная 2 камеры.
Дюкеры выполняются из стальных труб не менее чем в две линии, каждая из которых имеет диаметр не менее 150 мм.
Расстояние от дна реки до верха трубы дюкера – не менее 0,5 м, а на судоходных реках – 1,0 м.
Переходы коллекторов через железные дороги и автомагистрали осуществляются под дорогами, по путепроводам или эстакадам. Подземные переходы под железными дорогами и автомагистралями выполняют из стальных труб в футлярах или в туннелях.
3.12. Насосные станции.
Назначение насосных станций состоит в перекачке сточных вод. Различают следующие виды насосных станций:
- главная, перекачивающая основной объем сточных вод города;
- районная, перекачивающая сточные воды района водоотведения;
- станция перекачки, перекачивающая сточные воды из нижележащего коллектора в вышележащий.
На рис. 3.12.1 приведена схема насосной станции водоотведения.

Рис. 3.12.1. Насосная станция водоотведения.
1 – самотечный трубопровод; 2 – приемная камера станции; 3 – решетки;
4 – фекальные насосы; 5 – напорный трубопровод.
В канализационных насосных станциях применяются специальные фекальные насосы, конструкция которых позволяет перекачивать загрязненные сточные воды и при необходимости прочищать рабочие органы насосов.
Вокруг сооружений насосных станций предусматривается санитарно-защитная зона (СЗЗ). Ее размеры зависят от объемной производительности станции и назначаются в пределах от 15 до 30 м.
3.13. Водостоки.
Наружные водостоки предназначены для быстрого отвода атмосферных вод с территории поселения. Необходимость устройства водостоков вызвана тем, что устройство водонепроницаемых покрытий улиц может создавать условия для накопления атмосферных вод на пониженных участках территории застройки и, как следствие, приводить к затоплению улиц и подвалов зданий.
При устройстве в поселении неполной раздельной системы водоотведения водостоки устраиваются открытого типа – канавы, лотки.
При полураздельной или полной раздельной системе водоотведения дождевые воды отводятся по сети подземных трубопроводов.
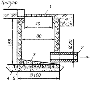
Дождевые воды поступают в водосточную сеть через дождеприемники, рис. 3.13.1.

Рис. 3.13.1. Схема дождеприемника.
1 – дождеприемная решетка; 2 - водоотводящая труба; 3 – лоток;
4 – песчаная подушка; 5 – основание.
Размещают дождеприемники во всех пониженных местах и на перекрестках до створа организованных пешеходных переходов. Расстояние между дождеприемниками зависит от уклона улиц и принимается от 50 до 80 метров, при условии, что в дождеприемники не поступают дождевые воды с территории кварталов.
Водосточные сети прокладывают по середине уличных проездов, рис. 3.8.2.
3.14. Очистные сооружения систем водоотведения.
Проблема предотвращения загрязнения водоемов сбросами бытовых, производственных и дождевых сточных вод приобрела в последние годы первостепенное значение. Сложность решения данной проблемы определяется как техническими трудностями очистки сточных вод от широкого спектра загрязнений минерального, органического и бактериального характера, так и значительными размерами инвестиций, необходимых для реализации природоохранных мероприятий.
В самом начале рассмотрения раздела «Водоотведение поселений» была дана характеристика основных загрязнений сточных вод и приведена их классификация. Выделим некоторые свойства загрязнений, непосредственно влияющих на процессы очистки сточных вод.
Загрязнения по своему физическому состоянию могут быть в нерастворенном (взвешенном), коллоидном и растворенном виде.
В бытовых сточных водах количество нерастворенных взвешенных веществ составляет примерно 65 г/сут. на одного жителя. Количество взвешенных веществ в производственных сточных водах зависит от вида технологического процесса и его экологических характеристик. В атмосферных сточных водах взвешенные вещества составляют основной вид загрязнений. Нерастворенные загрязнения имеют как органическую, так и минеральную природу.
Коллоидные загрязнения имеют размеры менее 0,1 мкм и состоят в основном из органических веществ.
Растворенные вещества, содержащиеся в бытовых сточных водах, имеют преимущественно органическую природу.
Сброс неочищенных сточных вод в водоемы представляет серьезную опасность в санитарном и природоохранном отношении, так как они содержат различные, в том числе патогенные, бактерии, а также вещества, оказывающие негативное воздействие на экосистемы водоемов.
Ухудшение качества воды в водоемах при сбросе в них неочищенных или недостаточно очищенных сточных вод объективно проявляется в:
- изменении физических свойств воды (прозрачности, цветности, запаха, вкуса и других характеристик);
- увеличении концентрации вредных веществ в воде;
- уменьшении концентрации растворенного в воде кислорода;
- изменении активной реакции воды;
- бактериальном загрязнении водоема.
Внешние проявления загрязнения водоема выражаются в появлении посторонних запахов, изменении цвета воды и ее вкуса, появлении пленок на поверхности воды и увеличении ее мутности.
Необходимо отметить, что в водоемах в естественных условиях происходит их самоочищение от растворенных и нерастворенных органических загрязнений. Действие этого механизма основано на минерализации органических веществ, содержащихся в воде, в результате жизнедеятельности аэробных микроорганизмов. Необходимым условием для этого является наличие в воде водоема достаточного количества растворенного свободного кислорода.
При сбросе в водоемы сточных вод, содержащих большое количество органических веществ, растворенный в воде кислород расходуется на их окисление, что приводит к уменьшению его концентрации. Это ухудшает как качество воды в целом, так и условия обитания в водоеме рыб, вызывает деградацию микроорганизмов, обитающих в водоеме и минерализующих органические вещества, что нарушает естественный механизм самоочищения водоема.
Степень загрязнения сточных вод органическими веществами характеризуется показателем, который называется биохимической потребностью в кислороде (БПК). Измеряется БПК в мг/л или мг/дм3. Чем выше БПК, тем больше требуется кислорода для окисления органических загрязнений сточных вод и тем больше их потенциальная опасность. Для городских сточных вод БПК находится в пределах от 100 до 400 мг/л, причем, чем больше удельное водопотребление на одного жителя в городе, тем меньше значение БПК сточных вод. Выпуск сточных вод с такими значениями БПК в водоемы может нанести им непоправимый вред, поэтому стоки необходимо очищать от органических загрязнений до такой степени, чтобы значение БПК уменьшилось до 6 – 15 мг/л.
В целях охраны водоемов и предотвращения их загрязнений установлены гигиенические нормативы состава и свойств воды в водоемах двух категорий водопользования.
К первой категории водопользования относится использование водных объектов в качестве источника хозяйственно-питьевого водопользования, а также для водоснабжения предприятий пищевой промышленности.
Ко второй категории водопользования относится использование водных объектов или их участков для рекреационного водопользования. Требования к качеству воды, установленные для второй категории водопользования, распространяются также на все участки водных объектов, находящихся в черте населенных мест.
Требуемое качество воды водоемов при сбросе в них сточных вод зависит от категории водопользования и должно соответствовать нормативным требованиям. В том числе:
- содержание взвешенных веществ не должно увеличиваться более чем на 0,25 мг/дм3 в водоемах первой категории и на 0,75 мг/дм3 в водоемах второй категории;
- на поверхности воды не должны обнаруживаться пленки нефтепродуктов, масел, жиров и скопление других примесей;
- водородный показатель рH не должен выходить за пределы 6,5—8,5;
- растворенный кислород не должен быть менее 4 мг/дм3;
- вода не должна содержать возбудителей кишечных инфекций и яиц гельминтов.
Для предотвращения загрязнения водоемов сточными водами их необходимо очищать и обеззараживать перед выпуском в водоем.
Нерастворенные и частично коллоидные загрязнения могут быть выделены из сточных вод механическим путем, например, их отстаиванием. Способ очистки, основанный на механических средствах выделения загрязнений из сточных вод, называется механической очисткой. Механическая очистка применяется для очистки бытовых, производственных и дождевых сточных вод.
Растворенные и многие коллоидные загрязнения не могут быть извлечены из сточных вод при их отстаивании, поэтому для очистки сточных вод от данных загрязнений применяют физико-химические способы очистки, основанные на сорбции, экстракции, электролизе и других процессах обработки сточных вод. Физико-химическая очистка применяется преимущественно для очистки производственных сточных вод.
Биологическую очистку, принцип которой заключается в окислении и минерализации коллоидных и растворенных органических веществ в результате процессов жизнедеятельности микроорганизмов, применяют для бытовых, некоторых видов производственных сточных вод, а в последнее время, используют также для очистки загрязненных атмосферных сточных вод с территорий городов. Результатом биологической очистки является снижение значения БПК сточных вод.
На очистных сооружениях систем водоотведения поселений используют механический и биологический способы очистки сточных вод. В зависимости от размеров города, условий его водоснабжения, характеристик водоема, в который сбрасываются очищенные сточные воды, применяют различные схемы их очистки. Одна из схем очистных сооружений сточных вод города в упрощенном виде приведена на рис. 3.14.1.
При организации очистки сточных вод по схеме, представленной на рис. 3.14.1, они последовательно проходят сооружения механической и биологической очистки.

Рис. 3.14.1. Упрощенная схема очистных сооружений системы отведения города.
Механическая очистка сточных вод производится на решетках, в песколовках и отстойниках (первичном и вторичном).
На решетках, состоящих из металлических прутьев с прозорами 16 мм, задерживаются крупные отбросы. Решетки устанавливаются на пути движения сточных вод вертикально или наклонно. Задержанные на решетках отбросы собираются и отправляются на дробилку для измельчения. Размещаются решетки в специальных зданиях или устанавливаются на открытом воздухе.
После прохождения решеток сточная жидкость поступает в песколовки, предназначенные для осаждения песка и других минеральных примесей крупностью от 0,2 мм и больше. Необходимость их применения обусловлена тем, что предварительное отделение минеральных примесей облегчает условия работы сооружений, предназначенных для последующей обработки сточных вод – отстойников, аэротенков и др.
Принцип работы песколовки состоит в гравитационном осаждении минеральных частиц из сточных вод, движущихся со скоростью от 0,15 до 0,3 м/с. Этот диапазон скоростей обеспечивает осаждение тяжелых минеральных примесей и прохождение через песколовку более легких органических взвесей. Среднее время прохождения сточных вод через песколовки составляет от 30 до 60 с.
Песколовки бывают горизонтальные, тангенциальные, вертикальные и других типов. Размеры песколовок в плане зависят от их типа и расхода сточных вод.
На крупных станциях очистки сточных вод осажденный в песколовке песок удаляется из нее в виде песчаной пульпы и направляется на песковые площадки. На станциях очистки производительностью до 80000 м3/сут. песок из песколовок направляется для обезвоживания в песковые бункеры, откуда периодически вывозится на утилизацию.
Отстойники предназначены для осветления сточных вод путем выделения из них взвешенных частиц минерального и органического происхождения. Выделить взвеси из водяного потока можно различными способами, например фильтрацией, однако, учитывая специфические свойства сточных вод, в частности, большое содержание в них взвесей различного характера и размеров, для этих целей используют только сооружения, принцип работы которых основан на действии гравитационных сил. Сам термин «отстойник » отражает принцип работы сооружения - под действием гравитационных сил происходит осаждение из сточных вод взвесей, имеющих плотность, больше чем плотность воды, и всплывание на поверхность взвесей, с плотностью меньше плотности воды.
Отстойники являются основными сооружениями механической очистки сточных вод.
Для эффективного осветления сточных вод в отстойнике необходимо обеспечить ряд условий, важнейшими из которых являются уменьшение скорости движения сточных вод в отстойнике и создание зоны выделения взвесей достаточных размеров.
По принципу организации зоны выделения взвесей и направлению движения в ней сточных вод различают отстойники горизонтального, вертикального и радиального типа.
Работа отстойника горизонтального типа поясняется рис. 3.14.2.

Рис. 3.14.2. Схема работы горизонтального отстойника.
1 – входной лоток; 2 – полупогружные перегородки; 3 – лоток для сбора жира и плавающих взвесей; 4 – труба для отвода жира и плавающих взвесей (жировая труба); 5 – приямки для сбора осадка; 6 – труба для удаления осадка; 7 – сборный лоток для отвода осветленной воды; 8 – днище отстойника.
Сточная жидкость поступает в отстойник через входной лоток 1, который равномерно распределяет поток по ширине отстойника. Сточная жидкость в зоне отстаивания движется вдоль отстойника в горизонтальном направлении со скоростью до 0,7 мм/с, при этом тяжелые взвеси оседают на дно, собираются в приямках для сбора осадка 5 и удаляются из отстойника через иловую трубу 6. Легкие взвеси (жир, масла, пленки углеводородов и др.) поднимаются к поверхности сточной жидкости, поступают в лоток для сбора жира и плавающих взвесей 3 и удаляются через жировую трубу 5. Осветленные сточные воды поступают в сборный лоток осветленной воды 7 и покидают отстойник. Полупогружные перегородки 2 у входного лотка и сборного лотка осветленной воды предназначены для локализации плавающих взвесей у поверхности сточной жидкости в отстойнике и предотвращения их попадания в лоток осветленной воды.
Поперечные размеры отстойника (ширина и высота) выбираются из расчета обеспечения скорости движения сточных вод около 0,7 мм/с, а его длина определяется протяженностью зоны осаждения.
Горизонтальные отстойники выполняют в виде прямоугольных в плане железобетонных сооружений и применяют на очистных сооружениях производительностью более 15000 м3/сут.
Принцип работы отстойника вертикального типа поясняется рис. 3.14.3. Сточная жидкость поступает в центральную трубу 2 отстойника по подводящему лотку 1. Выходя из нижнего отверстия центральной трубы, жидкость поднимается с малой скоростью, около 0,7 мм/с, в верхнюю часть отстойника, а взвеси под действием силы тяжести опускаются в его нижнюю часть. Осевший ил периодически удаляется из отстойника через иловую трубу 5 и задвижку 6. Плавающие взвеси локализуются полупогружными перегородками 3 и удаляются через жировую трубу 7. Очищенная жидкость переливается в сборные лотки 4 и отводится из отстойника.
Вертикальные отстойники применяют для очистных сооружений производительностью до 20000 м3/сут, при низком уровне грунтовых вод и плотных грунтах. Диаметр отстойника принимается от 4 до 10 м, а высота отстойной части – от 2,7 до 4,0 м.

Рис. 3.14.3. Схема осветления сточных вод в вертикальном отстойнике.
1 – водоподающий лоток; 2 – центральная труба; 3 – полупогружные перегородки; 4 – лоток для отвода осветленной воды; 5 – иловая труба;
6 – задвижка; 7 – жировая труба.
На очистных станциях производительностью более 20000 м3/сут применяют радиальные отстойники, в которых сточная жидкость осветляется при движении от центра отстойника к периферии. При радиальном движении жидкости происходит уменьшение ее скорости, что вызывает осаждение взвесей и осветление воды.
Сооружения для биологической очистки сточных вод предназначены для удаления из них органических загрязнений, находящихся в растворенном или коллоидном состоянии. Принцип работы сооружений биологической очистки основан на окислении органических веществ микроорганизмами в среде, обогащенной кислородом.
Биологическая очистка сточных вод осуществляется в специальных сооружениях – аэротенках, и биофильтрах.
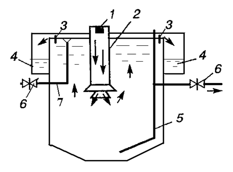
Термин аэротенк, образован от слов аэро – воздух и тенк – бак, резервуар. Конструктивно аэротенк представляет собой резервуар, глубиной 3 – 6 метров и шириной 6 – 10 метров, рис. 3.14.4, в котором медленно движется смесь сточной жидкости, предварительно осветленной в первичном отстойнике и активного ила. Общая длина аэротенка обычно составляет от 50 до 130 метров.

Рис. 3.14.4. Схема работы аэротенка.
1 – циркулирующий активный ил; 2 – избыточный активный ил; 3 – насос ная станция; 4 – вторичный отстойник; 5 – аэротенк; 6 – первичный отстойник.
Активный ил представляет собой биоценоз микроорганизмов-минерализаторов, которые способны сорбировать (выделять) на своей поверхности органические вещества и окислять их в присутствии кислорода. Активный ил имеет вид компактных хлопьев средней крупности.
По всей длине аэротенка смесь сточной жидкости и активного или продувается сжатым воздухом, подаваемым компрессорами в нижнюю часть резервуара, в результате чего в объеме аэротенка создается насыщенная воздухом среда. Время пребывания бытовых сточных вод в аэротенке составляет 6 – 8 часов.
Из аэротенка смесь сточной жидкости и активного ила поступает во вторичный отстойник, где активный ил осаждается вместе с минерализованными продуктами окисления органических веществ, после чего возвращается в аэротенк. Этот ил называется циркулирующим активным илом. Избыточная часть активного ила, образовавшаяся в результате роста его массы в аэротенке, направляется на утилизацию.
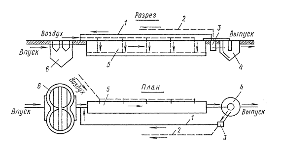
В биофильтрах процесс сорбции и окисления органических веществ происходит в биологических пленках, образованных сообществами микроорганизмов на поверхности материалов, используемых в качестве загрузки - щебня, шлака, керамзита, пластмассы и др.
По принципу работы различают капельные, с естественной подачей воздуха, и высоконагружаемые, с принудительной подачей воздуха. Капельные биофильтры используются на станциях очистки производительностью до 1000 м3/сут, а высоконагружаемые – до 50000 м3/сут.
Устройство высоконагружаемого биофильтра приведено на рис. 3.14.5.

Рис. 3.14.5. Схема работы биофильтра с принудительной подачей воздуха.
1 – труба, подающая сточную жидкость; 2 – водораспределительное устройство; 3 – загрузка; 4 – водоотводящий лоток; 5 – гидравлический затвор; 6 – воздухоподводящие трубы.
Сточная жидкость подается в биофильтр по трубе 1, равномерно распределяется по сечению биофильтра водораспределительным устройством 2 и фильтруется через слой загрузочного материала 3, на развитой поверхности которого образована биологическая пленка микроорганизмов, окисляющих органические вещества, растворенные в сточной жидкости. В нижнюю часть биофильтра подается воздух по воздухоподводящей трубе 6. Очищенная сточная жидкость поступает в нижнюю часть биофильтра, проходит гидрозатвор 5 и отводится из биофильтра через водоотводящий лоток 4.
Гидрозатвор необходим для предотвращения поступления воздуха из нижней части биофильтра в водоотводящий лоток.
Биологическая очистка может быть организована и в естественных условиях. Для этого используются фильтрационные свойства грунта и его способность образовывать биологическую пленку на поверхности частичек, составляющих грунт. Эта пленка абсорбирует и окисляет органические вещества в присутствии кислорода, проникающего в поры грунта в составе атмосферного воздуха.
Биологическая очистка сточных вод с использованием фильтрационных свойств грунта в естественных условиях проводится на полях орошения и полях фильтрации.
Очевидно, что биологическая очистка в естественных условиях требует значительных площадей под размещение полей орошения и полей фильтрации, поэтому в настоящее время она практически не применяется.
Возможна биологическая очистка сточных вод в биологических прудах и каналах, представляющих собой водоемы с глубиной от 0,5 до 1,0 метра, в которых происходит естественный процесс самоочищения за счет жизнедеятельности микроорганизмов, окисляющих органические вещества. Биологические пруды могут применяться как самостоятельные сооружения биологической очистки, так и в качестве сооружений доочистки, в которые поступают сточные воды после сооружений биологической очистки (аэротенков или биофильтров).
Обеззараживание сточных вод, прошедших биологическую очистку выполняется для предотвращения бактериального загрязнения водоема. В отстойниках и в сооружениях биологической очистки из сточных вод удаляется значительная часть патогенных микроорганизмов, однако для защиты водоемов от негативного воздействия сточных вод их необходимо обеззараживать. Для этого могут применяться различные способы – хлорирование, озонирование, обработка ультрафиолетовыми лучами, электролиз и др. На крупных очистных сооружениях обеззараживание стоков осуществляется преимущественно хлорированием, а на установках малой производительности – обработкой ультрафиолетовыми лучами. Озонирование отличается высоким бактерицидным эффектом, однако не получило широкого применения из-за высокой стоимости, технической сложности и затрудненности контроля процесса обеззараживания.
При хлорировании сточных вод используется хлораторная, смеситель и контактный резервуар. В хлораторной дозируется хлор и приготавливается хлорная вода, которая смешивается со сточной жидкостью в смесителе. Процесс обеззараживания протекает в контактном резервуаре, рассчитанном на получасовой контакт хлора с водой. Управляют процессом обеззараживания путем поддержания в контактном резервуаре требуемой концентрации свободного хлора.
После обеззараживания сточные воды выпускаются в водоем. Место выпуска согласуется с органами Государственного надзора и располагается, как правило, ниже по течению реки от территории поселения, мест водозабора, а также участков водоема, используемых для спортивных и оздоровительных целей, купания и отдыха. Необходимо учитывать также условия водопользования поселений, находящихся ниже по течению реки.
Обработка осадков и илов производится с целью их обеззараживания и последующей утилизации.
На обработку поступают отбросы, задержанные на решетках и измельченные в дробилках, осадки, илы или биопленки задержанные в первичных и вторичных отстойниках. Осадок, поступающий на переработку, чрезвычайно опасен в санитарном отношении и поэтому не может быть утилизирован, однако после его переработки возможно получение продукта, содержащего большое количество азота, фосфора, калия и других веществ, необходимых для питания растений.
Для обработки органического осадка используются процессы анаэробного (без доступа воздуха) сбраживания. Данные процессы происходят в несколько стадий и связаны с жизнедеятельностью дрожжевых и метановых бактерий.
Различают мезофильный процесс анаэробного сбраживания, протекающий при температуре 30 – 35 ОС, и термофильный процесс, протекающий при температуре 50 – 55 ОС.
В процессе анаэробного сбраживания выделяется горючий газ метан, который используется в качестве топлива в котельных, являющихся источником теплоснабжения очистных сооружений.
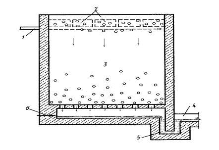
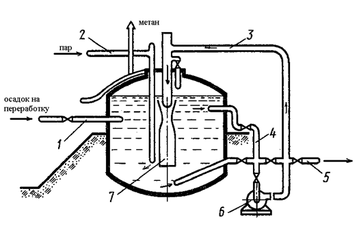
Обработка органического осадка производится в метантенках, получивших свое название от газа метана. Схема устройства метантенка приведена на рис. 3.14.6.
Внутренний объем метантенка представляет собой герметичный резервуар, в который через приемную трубу 1 поступает на переработку сырой осадок, а через трубу 2 подводится водяной пар для подогрева сбраживаемого осадка. Для интенсификации процесса сбраживания содержимое метантенка постоянно перемешивается, путем обеспечения циркуляции осадка и иловой воды посредством насоса 6 и использования гидроэлеватора 7. Сброженный осадок отводится из метантенка через трубу 5. Горючий газ метан, образующийся в процессе сбраживания осадка, собирается в верхней части метантенка, откуда отводится в котельную. Осадок, переработанный в метантенке, безопасен в санитарном отношении, его подсушивают и дробят для последующего использования в качестве удобрения. Он содержит все ценные для растений питательные вещества.

Рис. 3.14.6. Схема устройства метантенка. 1 – приемная труба; 2 – подача пара;
3 – трубопровод циркулирующего осадка; 4 – выпуск иловой воды; 5 – выпуск сброженного осадка; 6 – насос для циркуляции и перемешивания осадка; 7 – гидроэлеватор.
Размеры площадок для размещения очистных сооружений системы водоотведения города зависят от их суточной производительности. Максимально допустимые размеры земельных участков для очистных сооружений приведены в таблице 3.14.1.
Таблица 3.14.1.
Размеры земельных участков для очистных сооружений канализации
| Производительность очистных сооружений канализации, тыс. м3/сут | Размеры земельных участков, га | ||
| очистных сооружений | иловых площадок | биологических прудов глубокой очистки сточных вод | |
| До 0,7 | 0,5 | 0,2 | ‑ |
| Св. 0,7 до 17 | 4 | 3 | 3 |
| " 17 " 40 | 6 | 9 | 6 |
| " 40 " 130 | 12 | 25 | 20 |
| " 130 " 175 | 14 | 30 | 30 |
| " 175 " 280 | 18 | 55 | ‑ |
Размещаются очистные сооружения на незатопляемой территории, вокруг них предусматриваются санитарно-защитные зоны (СЗЗ), размеры которых до границ жилой застройки, территории общественных зданий и предприятий пищевой промышленности приведены в таблице 3.14.2.
Таблица 3.14.2.
Санитарно-защитные зоны для канализационных очистных сооружений
| Сооружения для очистки сточных вод | Расстояние в м при расчетной производительности очистных сооружений в тыс. м3/сутки | |||
| до 0,2 | более 0,2 до 5,0 | более 5,0 до 50,0 | более 50,0 до 280 | |
| Насосные станции и аварийно-регулирующие резервуары | 15 | 20 | 20 | 30 |
| Сооружения для механической и биологической очистки с иловыми площадками для сброженных осадков, а также иловые площадки | 150 | 200 | 400 | 500 |
| Сооружения для механической и биологической очистки с термомеханической обработкой осадка в закрытых помещениях | 100 | 150 | 300 | 400 |
| Биологические пруды | 200 | 200 | 300 | 300 |
3.15. Автономные и местные системы очистки сточных вод.
Автономные системы очистки сточных вод применяются для отдельных домов. Как правило, автономные системы устраиваются на основе использования септиков – резервуаров-отстойников, в которых, наряду с осветлением сточных вод, происходят процессы сбраживания осадка. Используются также полнокомплектные установки заводского изготовления для биологической очистки сточных вод.
Септики выполняются в виде бетонных резервуаров, применяются также резервуары из полиэтилена заводского изготовления.
На рис. 3.15.1 приведены две схемы системы очистки сточных вод от коттеджа с использованием гнильных септиков.

Рис. 3.15.1. Варианты устройства системы очистки сточных вод с применением гнильного септика: а) – с раздельным отводом «серых» и фекальных вод; б) – с общим отводом сточных вод. 1 – жироуловитель; 2 –септик;
3 – септик со встроенным фильтром доочистки; 4 – фильтр доочистки;
5 – распределительный колодец
При очистке сточных вод по схеме, представленной на рис. 3.15.1,а, от дома устраивается два выпуска сточных вод. По первому отводятся «серые» сточные воды от санитарных приборов кухни и ванной – мойки, умывальника, ванной, душевой кабины, а по второму – отводятся фекальные воды от унитазов. «Серые» сточные воды проходят через жироуловитель 1, после чего смешиваются с фекальными водами от унитазов и поступают в гнильный септик 2, где отстаиваются и перегнивают, затем направляются в фильтр доочистки 4, после которого распределительным колодцем 5 распределяются по трубопроводам подземной фильтрации.
Схема очистки, представленная на рис. 3.15.1,б, предусматривает отвод всех видов сточных вод по одному выпуску. В этом случае жироуловитель не устанавливается, и стоки поступают непосредственно в септик, который в отличие от предыдущей схемы, содержит встроенный фильтр доочистки.
Все оборудование для очистки сточных вод размещается под землей, для его обслуживания предусмотрены колодцы, а для отвода газов – вентканалы.
В зависимости от вида грунта и наличия площадей на участке могут применяться различные варианты естественной доочистки сточных вод.
Подземная фильтрация, рис. 3.15.2, используются при наличии хорошо дренируемых песчаных и супесчаных грунтов и большой глубине залегания грунтовых вод. Дренажные трубы прокладывают на глубине от 0,5 до 1,5 метра, но не менее чем на 1,0 метр выше уровня грунтовых вод.

Рис. 3.15.2. Схема подземной фильтрации очищенных сточных вод. 1- септик со встроенным фильтром доочистки; 2 – фильтр доочистки; 3 - распределительный колодец; 4 – замыкающий колодец; 5 – щебень; 6 - песчаный или супесчаный грунт.
Фильтрационные насыпи применяются при высоком уровне грунтовых вод, рис. 3.15.3. Высота насыпи определяется из условия высоты расположения дренажной трубы на 1,5 метра выше уровня залегания грунтовых вод.

Рис. 3.15.3. Естественная доочистка сточных вод с использованием фильтрационной насыпи.
При водонепроницаемых грунтах естественная доочистка может организовываться в песчаногравийном фильтре с отводом очищенных вод в поверхностный дренаж, рис. 3.15.4, или в фильтрующий колодец, рис. 3.15.5.

Рис. 3.15.4. Доочистка сточных вод в песчаном фильтре и выпуск в поверхностный источник. 1 – песчано-гравийный фильтр; 2 - поверхностный дренаж.

Рис. 3.15.5. Доочистка сточных вод в песчаном фильтре с отводом в фильтрационный колодец. 1 – песчано-гравийный фильтр;
2 - фильтрующий колодец.
Фильтрующая часть колодца должна находиться ниже водоупорного слоя и иметь внутри фильтр-обсыпку, а также дренажные отверстия в стенках колодца. Фильтрующие колодцы применяют при уровне грунтовых вод не выше 3 метров от поверхности земли.
При размещении септиков и фильтрующих колодцев необходимо соблюдать нормативные требования по минимальным расстояниям от них до жилых домов. Расстояние от септика до дома должно приниматься не менее 5 метров, а от фильтрующего колодца до дома – не менее 8 метров.
Местные установки для очистки сточных вод предназначены для обслуживания групп зданий или небольших поселений.
Отечественной промышленностью выпускаются установки для очистки сточных вод различных модификаций и размеров. Их отличительной особенностью является полнокомплектность, означающая, что все необходимое оборудование установки – отстойники, аэротенки, устройства обеззараживания сточных вод, насосы и др. размещаются в едином компактном блоке заводского изготовления.
На рис. 3.15.6 приведен общий вид компактной полнокомплектной установки заводского изготовления, предназначенной для очистки бытовых сточных вод. Станция предназначена для полной биологической очистки бытовых сточных вод и имеет габаритные размеры (длина × ширина × высота) - 12 × 6,4 × 4,8 м. Масса – 27 т.
Принцип работы станции основан на многоступенчатой технологии биологической очистки в анаэробных и аэробных условиях с последующим отстаиванием, фильтрацией, постаэрацией, ультрафиолетовым обеззараживанием, аэрационной минерализацией избыточного ила и его обезвоживанием.
Станция рассчитана на прием сточных вод от поселка с числом жителей около 500 чел.
План размещения технологического оборудования станции очистки приведен на рис. 3.15.7.

Рис. 3.15.6. Общий вид местной станции очистки сточных вод производительностью 100 м3/сут.

Рис. 3.15.7. План размещения технологического оборудования установки.
1 – аэротенк; 2 – аэратор; 3 – вторичный отстойник; 4 - фильтры доочистки; 5 – минерализатор осадка.
Установка производительностью 50 м3/сут., рис. 3.15.8, обслуживает поселок численностью около 300 чел, ее габаритные размеры – 12 × 3,1× 4,5 м., масса 22 тонны.

Рис. 3.15.8. Общий вид местной станции очистки сточных вод производительностью 50 м3/сут.
План размещения технологического оборудования установки приведен на рис. 3.15.9.

Рис. 3.15.9. План размещения технологического оборудования установки производительностью 50 м3/сут. 1 – резервуар-усреднитель; 2 – мешалка; 3 – аэротенк; 4 - аэроторы; 5 – загрузка для иммобилизации микрофлоры; 6 – тонкослойный отстойник; 7 – фильтр зернистый; 8 – бак очищенной воды; 9 – минерализатор; 10 – обезвоживатель осадка; 11 – блок компрессоров; 12 – бактерицидная лампа; 13 – шкаф управления.
Площадь земельных участков, отводимая под очистные сооружения и санитарно-защитные зоны местных систем водоотведения, должна рассчитываться в зависимости от гидрогеологических условий и расхода сточных вод, но не должна превышать 0,25 га.
Санитарно-защитные зоны очистных сооружений местных систем водоотведения в зависимости от производительности и типа сооружений необходимо принимать:
- 100 м для сооружений биологической очистки производительностью до 50 м3/сут.
- 150 м для сооружений биологической очистки производительностью до 200 м3/сут.
3.16. Методы очистки производственных сточных вод.
Выбор методов очистки производственных сточных вод определяется характеристиками технологических процессов на предприятии и особенностями их водопользования.
В том случае, если производственные сточные воды содержат нерастворенные примеси минерального или органического происхождения применяется механическая очистка путем пропуска сточных вод через решетки, сита, а также осветления в отстойниках и, если это необходимо, фильтрацией через зернистые материалы. Основное достоинство механической очистки – низкие энергозатраты и неизменность химических свойств воды. Сооружения механической очистки могут применяться как самостоятельно, так и в качестве одной из ступеней при комплексной очистке производственных сточных вод.
Химическая очистка имеет своей целью изменение химических свойств производственных сточных вод. Она имеет два основных направления - нейтрализация и окисление. Нейтрализация проводится для устранения избыточной кислотности или щелочности стоков и осуществляется путем химической реакции сточных вод с соответствующими реагентами. Например, при повышенной кислотности стоков осуществляется их контакт с веществами щелочной группы. В результате реакции нейтрализации стоки утрачивают кислотные свойства и величина рН становится нейтральной.
Реакция окисления применяется для обеззараживания сточных вод, содержащих токсичные или вредные вещества, например, стоков гальванических производств, обогатительных фабрик, нефтехимических и др. предприятий. В качестве реагентов в установках для окисления производственных сточных вод применяются гипохлорид кальция, гипохлорид натрия или хлорная известь.
Физико-химическая очистка производственных сточных вод объединяет следующие методы: экстракцию, сорбцию, кристаллизацию, флоктацию, ионный обмен, диализ, дезактивацию, дезодорацию и обессоливание. Дадим определения перечисленным методам.
Экстракция – выделение растворенных органических соединений из воды при помощи не смешивающегося с ней растворителя.
Сорбция основана на способности твердых тел или жидкостей поглощать из растворов органические вещества.
Кристаллизация осуществляется путем выделения из сточной жидкости примесей в виде кристаллов.
Флоктация заключается в добавлении к сточной жидкости реагента, обволакивающего взвеси и облегчающего процесс отделения взвесей от стоков.
Люди также интересуются этой лекцией: 29. Группа Роббера Эрсана.
Ионный обмен – извлечение загрязнений из сточных вод при помощи ионитов.
Диализ направлен на отделение коллоидных примесей при пропускании стоков через перегородки, непроницаемые для коллоидов.
Дезактивация предназначается для удаления из сточных вод радиоактивных элементов.
Обессоливание направлено на выделение из стоков солей путем выпаривания, вымораживания и др.
В последнее время область применения физико-химических методов существенно расширилась. Этому способствует, как ужесточение природоохранного законодательства, так и возможность извлечения из стоков полезных веществ с соответствующим экономическим эффектом.
Сточные воды ряда производств требуют биологической очистки. Для этих целей используются преимущественно аэротенки, так как именно эти сооружения наиболее адаптированы к производственным условиям и имеют большую пропускную способность.





















