Большепролетные конструкции промзданий
Лекция 14.
Большепролетные конструкции промзданий.
Возведение большепролетных конструкций промзданий в основном диктуется как производственной и технологической необходимостью, так и требованиями технологической гибкости и универсальности производства.
Определяющим критерием в проектировании простых, экономичных, эффективных и архитектурно – выразительных большепролетных промзданий является выбор соответствующих несущих конструкций покрытия.
Покрытия в большепролетных промзданиях подразделяются на плоскостные, пространственные и висячие.
Большепролетные плоскостные конструкции аналогичны обычным плоскостным конструкциям покрытия, но более сложны и трудоемки. Обычно большепролетной считается конструкция, имеющая пролет более 36м. Такие конструкции наиболее эффективны на пролетах 48 – 60м. Они проще и дешевле пространственных или висячих конструкций покрытия, но тяжелы, имеют большое сечение (рабочую высоту) и работают независимо друг от друга.
Покрытие по большепролетным плоскостным конструкциям устраиваются аналогично известным традиционным решениям. По несущим большепролетным фермам, рамам или аркам укладываются ограждающие элементы покрытия по прогонной или беспрогонной схеме.
Большепролетные конструкции покрытия промзданий в основном представлены металлическими или железобетонными фермами и металлическими или железобетонными арками и рамами. Железобетонные конструкции в основном применяются предварительно – напряженными.
Рекомендуемые материалы
По способу конструктивного решения висячие конструкции покрытия подразделяются на вантовые и собственно висячие.
Основными несущими конструкциями вантовых покрытий являются ванты, т.е. канаты из высокопрочной проволки, а основой собственно висячих покрытий является мембрана из стального листа. Эти конструкции работают на растяжение, что дает возможность использовать в них высокопрочные марки стали, имеющих большое сопротивлению растягивающим усилиям и достичь, таким образом, экономичных и эффективных конструктивных решений.
Висячие вантовые конструкции характеризуются еще и тем, что в них для восприятия распора устраиваются мощные опорные конструкции, а вантовой обеспечивается системой стабилизирующих тросов. По несущим и стабилизирующим тросам устраивается ограждение покрытия железобетонных элементов.
Пространственные покрытия являются весьма рациональным типом большепролетных конструкций, т.к. в них совмещены несущие и ограждающие функции.
Основными типами пространственных большепролетных конструкций являются оболочки, складки, купола и своды, которые в основном выполняются из сборного или монолитного железобетона, а также перекрестно – стержневые конструкции, выполняемые из стали в виде «структурной» большепролетной плиты покрытия.
Кроме рассмотренных большепролетных конструкций необходимо также отметить и такой специфический тип конструкций, как пневматические, которые используют для сохранения своего проектного положения, формы и несущей способности в них используется избыточное давление воздуха.
Пневматические сооружения имеют в качестве ограждающей конструкции мягкую оболочку, которая в случае нагнетания в нее воздуха под минимальным избыточным давлением в 10 – 20
(100 – 200 Па) образует т.н. «пневмоопорную» конструкцию. «Пневмокаркасные» конструкции, в свою очередь, используют отдельные несущие конструктивные элементы из мягких материалов, которые принимают необходимую конструктивную форму с помощью пневматики.
Пространственные и висячие большепролетные конструкции чрезвычайно эффективны с архитектурной точки зрения и могут применяться для формирования зданий и комплексов градоформирующего характера.
Рисунок 1. Геометрические схемы большепролетных ферм.
![]() | ![]() |



А – треугольная ферма; Б – треугольная с затяжкой;
В – сегментная ферма; Г – ферма параболического очертания.
Рисунок 2. Схемы однопролетных стальных портальных рам.
А
Б
В
А – сплошная рама; Б – сквозная рама; В – со сквозным ригелем, одной сквозной и одной сплошной опорой.
Рисунок 3. Схемы сквозных металлических арок.



А – трехшарнирная арка; Б – двухшарнирная арка; В – арка с приподнятой затяжкой.
Рисунок 4.Основные виды оболочек.

а – цилиндрическая длинная; б – цилиндрическая короткая; в – купольная (парусная); г – коноидальная; д – параболическая; е – гиперболическая.
Рисунок 5. Сборные железобетонные купола.


а – с радиальной разрезкой на сборные элементы;
б – с радиально – кольцевой разрезкой на сборные элементы;
1 – верхнее опорное кольцо;
2 – нижнее опорное кольцо;
3 – сборные элементы купола.
Рисунок 6. Поперечный разрез здания со складчатым покрытием.

1 – круглые световые проемы;
2 – сборная панель – складка пролетом 18м.;
3 – стропильная железобетонная балка.
Рисунок 7. Конструктивные схемы вантовых покрытий.



а – однопролетные и многопролетные висячие покрытия;
б – однопролетные и многопролетные подвесные покрытия.
Рисунок 8. Пример висячего покрытия в виде тонкостенной стальной мембраны.

Вам также может быть полезна лекция "Роль CIO в повышении эффективности бизнеса".
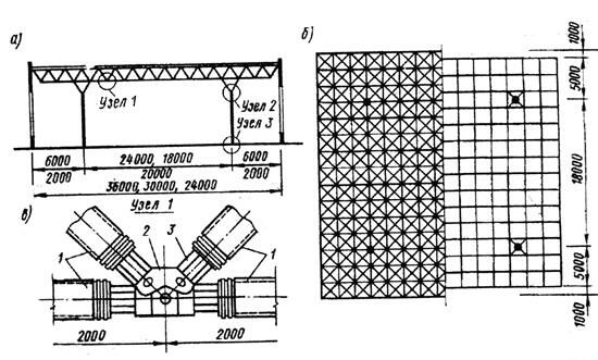
Рисунок 9. Пример пространственного перекрестно – стержневого структурного покрытия из стали.

а – схема разреза; б – план покрытия по верхнему и нижнему поясу; в – узел соединения стержневых элементов.
1 – стержневой элемент;
2 – узловой элемент;
3 – соединительный элемент.
























