Полы в производственных зданиях
Лекция 12.
Полы в производственных зданиях.
В промышленных зданиях, так же, как и в гражданских зданиях, полы устраиваются как по перекрытиям, так и по грунту.
К полам предъявляются целый ряд требований. Они должны обладать высокой механической прочностью; иметь гладкую, ровную, но не скользкую поверхность; обладать малой истираемостью; должны обладать эластичностью (т.е. быть бесшумными); должны иметь малый коэффициент теплоусвоения (т.е. быть теплыми); должны быть огнестойкими, влагостойкими и влагонепроницаемыми; обладать стойкостью к температурным и агрессивным воздействиям; не должны быть токопроводными и не должны давать искр при ударах; должны быть удобны в эксплуатации, экономичными и индустриальными в изготовлении и иметь привлекательный внешний вид и быть ремонтно-пригодными.
Все эти требования определяются конкретными производственными условиями и воздействиями и их трудно удовлетворить одновременно, т.к. зачастую они имеют взаимоисключающий характер. Поэтому в производственных зданиях могут одновременно устраиваться полы нескольких видов, либо при выборе конструкции пола учитываются лишь наиболее важные требования к нему.
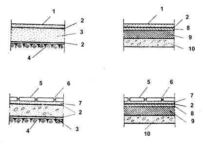
Основными конструктивными слоями полов в промышленных зданиях являются: покрытие пола, прослойка, стяжка, подстилающий слой, гидроизоляция, звуко- и теплоизоляция, основание. Эти слои употребляются в различных комбинациях для различных типов полов, которые выбираются в зависимости от расположения пола по грунту или по перекрытию, материала покрытия пола, и общего комплекса воздействий на его конструкцию.
Покрытие пола («одежда» пола, «чистый» пол) непосредствен-но воспринимает все внешние воздействия. Покрытия могут быть сплошными (бесшовные), из штучных материалов, из листовых или рулонных материалов. Как правило, по материалу покрытия пола называется и вся конструкция пола (бетонный, плиточный, линолеумный и т.д.).
Рекомендуемые материалы
Прослойка – это промежуточный слой для связи покрытия пола из штучных или рулонных (листовых) материалов с нижележащими слоями.
Стяжка применяется для создания плотной и ровной поверхности поверх нижерасположенных слоев и для создания, в случае необходимости, уклона.
Подстилающий слой применяется для распределения нагрузки на основание пола. Подстилающий слой используется в основном при устройстве полов по грунту.
Гидроизоляция используется против сточных вод и других жидкостей, а также против грунтовых вод. В первом случае гидроизоляция устраивается под покрытием пола, а во втором – под подстилающим слоем.
Теплоизоляция или звукоизоляция конструкции пола устраиваются из легких, но плотных материалов (т.е. из материалов с малой объемной массой).
Основанием конструкции пола являются плиты междуэтажных перекрытий или грунт основания (соответственно для полов по перекрытиями или полов по грунту).
Сплошные или бесшовные полы включают в себя такие типы полов как глинобитный пол, гравийный или щебеночный пол, бетонный пол, цементный (цементно-песчаный) пол и асфальтобетонный пол.
Глинобитные полы выполняются из смеси песка и глины, которая укладывается и трамбуется послойно. Покрытие пола является одновременно и подстилающим слоем. При добавлении в смесь до 60% гравия или щебня получается т.н. «глинобетонный» пол.
Гравийные или щебеночные полы устраиваются послойно с трамбованием и с пропиткой верхнего слоя битумной мастикой.
Бетонные и цементные покрытия полов устраиваются толщиной до 50мм. Для увеличения прочности и стойкости к агрессивным воздействиям возможно добавление в цемент металлической стружки (т.н. «металлоцементный» пол) и в бетон – крупного заполнителя из гранита и базальта.
Асфальтобетонные полы выполняются из смеси битума и песка (асфальт) со щебнем.
Полы из штучных материалов представлены такими основными типами, как пол из плитки, пол из брусчатки, деревянный пол, стальной или чугунный пол.
Плиточные полы выполняются из бетонных, цементных или каменных плит (плиток) на битумной или цементной прослойке. Подстилающий слой в случае применения такого типа покрытия пола устраивается жестким. Такие полы экономичны, ремонтнопригодны и эстетичны.
Брусчатые полы выполняются в основном из базальта, гнейса, диабаза и иногда из гранита. Брусчатка укладывается по бетонному, песчаному или грунтовому (земляному) подстилающему слою. Эти полы обладают высокой прочностью и химической стойкостью.
Деревянные полы устраиваются из деревянных шашек (обычно изготавливаемых из хвойных пород) толщиной до 80мм, устанавливаемых на торец по слою мастики. Такие полы называют «торцовкой».
Металлические (стальные или чугунные) полы устраивают из стальных или чугунных плит (плиток) с ребрами, обращенными вниз и рельефной наружной поверхностью. Эти элементы укладываются на слой песка, цементно-песчаного раствора или мелкозернистого бетона.
Листовые (рулонные) полы устраивают из линолеума, релина или винипласта. Их конструкция аналогична полам, применяющимся в гражданских зданиях.
В некоторых вспомогательных зданиях (в АБК, лабораторных корпусах) или на отдельных участках производственных корпусов могут также устраиваться традиционные дощатые или паркетные полы.
В настоящее время также находят широкое применение новые типы полов – в основном на основе полимерных материалов и композиций. На основе полимеров могут использоваться как мастичные полы, так и плиточные и полимерцементные или полимербетонные.
Рисунок 1. Основные типы полов в промышленных зданиях.

а – глинобитный; б – гравийный или щебеночный; в – бетонный; г – асфальтобетонный; д,е – ксилолитовые; ж – брусчатый; з,и – кирпичные; к,л – торцовые; м,н – плиточные; о,п – металлические; р – дощатые; с – паркетный; т – линолеумный; ф – поливинилцементный; х – из поливинилхлоридного линолеума; ц – из фенолитовых плиток.
Бесплатная лекция: "16 Технологичность изготовления комплекта изделий и конструкций" также доступна.
Рисунок 2. Конструктивный состав полов промзданий.
![]() |




а – сплошные на грунте; б – сплошные на перекрытии; в – из штучных материалов на грунте; г – из штучных материалов на перекрытии.
1 – покрытие сплошное; 2 – гидроизоляция; 3 – подстилающий слой; 4 – основание; 5 – покрытие из штучных материалов; 6 – заполнение из швов; 7 – прослойка; 8 – стяжка; 9 – звукоизоляция; 10 – плита перекрытия.
























