Механические свойства дип при действии кратковременных нагрузок
1. Механические свойства дип при действии кратковременных нагрузок. Диаграмма работы. Анизотропия.
При всей относительной стройности структуры хвойных пород ее трахеиды не стандартны, что является основной причиной изменчивости ее механических свойств.
Механические свойства древесины, являющейся природным полимером, изучаются на основе реологии – науки об изменении свойств веществ во времени под действием тех или иных факторов, в данном случае нагрузок. Известно, что при быстром, кратковременном действии нагрузки древесина сохраняет значительную упругость и подвергается сравнительно малым деформациям.
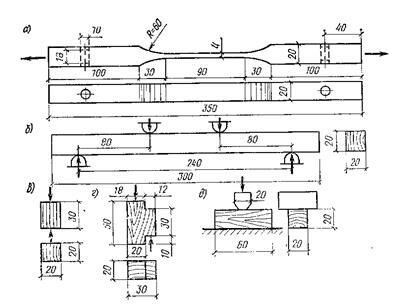
Основным механическим свойством древесины является прочность. Для определения прочности древесины используются стандартные образцы:
![]() |


Вам также может быть полезна лекция "29 Маркс о земельной ренте".
Для сравнения прочности древесины необходимо показатели прочности приводить к одной влажности. За стандартную принята влажность 12 %. Приведение к стандартной влажности производят по формуле:
Где: sw – предел прочности при влажности в момент испытания, W – влажность в момент испытания, a - поправочный коэффициент, зависящий от породы древесины и от вида испытания.
Также прочность можно определить по количеству поздней древесины и огнестрельным методом, сущность которого заключается следующем: делаются стандартные прострелы и по глубине проникания пули определяется прочность.
Анизотропия. Благодаря особенностям строения древесина является анизотропным материалом, ее механические свойства различны в различных направлениях и зависят от угла между направлением действующего усилия и направлением волокон, что выражается зависимостью: