Гидравлический расчет каналов
3. ГИДРАВЛИЧЕСКИЙ РАСЧЕТ КАНАЛОВ
3.1. РАСЧЕТ КАНАЛОВ ПРИ РАВНОМЕРНОМ ДВИЖЕНИИ
3.1.1. Методы расчета равномерного движения в каналах
Расчет равномерного движения в каналах выполняется с использованием формулы Шези (6.27) и сводится к определению одного из параметров Q, n, i0, b, h0 или к определению ширины канала b и глубины потока h0 (значение коэффициента заложения откоса т обычно является заданным) по известным остальным.
Задачи определения расхода Q (при проверочных расчетах каналов), уклона i0 (при прокладке, например, сборных лотков заданного сечения мелиоративных систем), коэффициента шероховатости п (при проведении изысканий на водотоках) решаются по формуле (6.27) сразу без подбора искомой величины.
Задачи, в которых неизвестным является один из параметров живого сечения потока (b или h0), решаются по формуле Шези (6.27) подбором или графическим методом.
В качестве примера рассмотрим использование этих методов для определения глубины h0.
Метод подбора. При заданных расходе Q и уклоне i0 известна расходная характеристика
Решение сводится к тому, чтобы, задаваясь произвольной глубиной h1, по зависимостям: R=ω/χ, а также (6.24), (6.25), (6.28) и формуле Павловского из табл. 6.1 определить соответствующую расходную характеристику К1, расход Q1. Если найденные величины К1или Q1 близки заданным К0 и Q, то расчет можно не продолжать, а считать h=h0. Если же отличие является существенным, то следует задаться повои глубиной h2, по ней найти К2 или Q2 и так до тех пор, пока не будет получено удовлетворительное совпадение.
Рекомендуемые материалы
Графический метод. Задаются рядом произвольных значений h и для них определяют значения расходных характеристик К или расходов Q. По этим данным строится либо график зависимости K=K(h), либо график Q=Q(h). Отметив на оси абсцисс графика K=K(h) точку, соответствующую заданной расходной характеристике К2 (рис. 6.14), или на оси абсцисс графика Q=Q(h) точку, соответствующую значению заданного расхода Q, на оси ординат находят искомую нормальную глубину. Полученное по графику значение h0 рекомендуется проверить по формуле (6.28) или (6.27).
Помимо указанных методов для определения нормальной глубины в руслах правильной формы может быть использована зависимость (6.38). При этом задаются двумя произвольными глубинами h1 и h2 и определяют соответствующие расходные характеристики К1 и К2. Затем по формуле (6.39) находят значение гидравлического показателя русла х. Далее, в зависимость (6.38) вместо h1 и К1 (или h2 и К2) вводят заданную расходную характеристику
после чего эту зависимость решают относительно h0
h0=h2(К0/К2)2/x. (6.41)
Необходимость определения ширины канала b и нормальной глубины h0 возникает при проектировании каналов. Так как неизвестными являются две величины, то без каких-либо дополнительных условий или ограничений использование уравнения (6.27) дает множество решений. Для получения единственного решения обычно вводят дополнительное условие в виде отношения β=b/h0. Величина β назначается либо исходя из необходимости обеспечения наибольшей пропускной способности канала и тогда β=βГН определяется по формуле (6.37), либо исходя из эксплуатационных соображений. После этого задача может быть решена по формуле (6.27) подбором или графическим методом, как изложено выше.
Для расчета равномерного движения в открытых каналах разработаны и другие способы решения, такие, например, как метод безразмерных характеристик, способ расчета каналов по характеристике живого сечения, предложенный проф. И.И. Агроскиным. В настоящем курсе эти методы не приводятся.
3.1.2. Особенности расчет равномерного безнапорного движения в каналах замкнутого поперечного профиля
Равномерное движение в длинных трубопроводах (каналах замкнутого сечения) различного назначения при частичном наполнении или при полном заполнении при условии существования атмосферного давления на своде является безнапорным. Трубопроводы могут иметь различную форму поперечного сечения. Наиболее часто в настоящее время применяют трубопроводы круглого сечения (рис. 6.15, а). В канализационных сетях находят применение трубы овоидального сечения (рис. 6.15, б), а в системах поверхностного водоотвода - лоткового сечения (рис. 6.15, б). Для гидротехнических туннелей разработаны специальные профили, один из которых представлен на рис. 6.15, г.

Рис. 6.15
Некоторые сооружения, например гидротехнические туннели, канализационные трубы, рассчитывают на пропуск расчетного расхода при частичном заполнении сечения h/H=a=0,54-0,8. Дренажные трубы, коллекторы и трубопроводы систем поверхностного водоотвода рассчитывают на работу полным сечением (а=1). Однако, поскольку расчетные расходы имеют сравнительно редкую повторяемость, фактически эти сооружения большую часть времени работают неполным сечением.
Расчет равномерного движения в трубопроводах выполняется как для каналов замкнутого сечения по формулам Шези для расхода и скорости с учетом равенства уклонов, выражаемого формулой (6.23):
(6.42)
(6.43)
где K и W - соответственно расходная и скоростная характеристики потока в трубопроводе при частичном наполнении (а<1). Непосредственный расчет по формулам (6.42) и (6.43) оказывается достаточно трудоемким, поэтому для его облегчения составлены вспомогательные графики и таблицы. Оказалось удобным использовать для расчетов соотношения расходных и скоростных характеристик при неполном (а<1) и полном (а=1) заполнении сечения трубопровода, которые для данной формы поперечного сечения практически не зависят от размеров трубы, а только от степени ее наполнения а:
(6.44)
(6.45)
Графики зависимостей (6.44) и (6.45) для труб круглого поперечного сечения представлены на рис. 6.16.

Рис. 6.16
При подстановке значений расходной и скоростной характеристик в формулы (6.42) и (6.43) получаем:
; (6.46)
(6.47)
Для труб круглого поперечного сечения бетонных и железобетонных (ГОСТ 6482-71), керамических (ГОСТ 286-74), чугунных (ГОСТ 9583-75), асбоцементных (ГОСТ 1839-72) и полиэтиленовых (ГОСТ 18599-73) диаметром d>200 мм в табл. 6.2 приведены значения расходной и скоростной характеристик КП и WП при полном заполнении (а=1) трубопровода (коэффициент Шези вычисляется по формуле Павловского).
Если заданы диаметр трубопровода d, степень его наполнения а, материал (коэффициент шероховатости n), уклон трубопровода i0, то расход и скорость в нем определяются следующим образом. По табл. 6.2 находят величины КП и WП, Для заданного заполнения сечения а по кривым на рис 6.16 находят А0 и В0, а затем по формулам (6.46), (6.47) определяют расход Q и скорость v.
В целях упрощения определения диаметров трубопроводов и коллекторов при проектировании водосточной сети используется номограмма, построения по формуле Шези (рис. 6.17). При заданных диаметре d и уклоне i0 трубопровода находится точка пересечения соответствующих им наклонных линий по номограмме. На осях ординат и абсцисс находятся соответствующие точке пересечения значения расхода Q и скорости v.
Для трубопроводов иных профилей по сравнению о изображенными на рис. 6.15 в справочной литературе приводятся значения КП и WП и графики относительных расходных и скоростных характеристик (6.44) и (6.45), аналогичные графикам на рис. 6.16.
Таблица 6.2
Значения расходной и скоростной характеристик КП и WП при полном заполнении (а=1) трубопровода
| Диаметр трубы d, мм | Бетонные и железобетонные трубы (коэффициент шероховатости n= 0,014) | Керамические и чугунные трубы (n = 0,013) | Асбоцементные и полиэтиленовые трубы (n= 0,012) | |||
| КП | WП | КП | WП | КП | WП | |
| 200 | - | - | 0,33 | 10,50 | 0,35 | 11,14 |
| 300 | - | -. | 0,96 | 13,58 | 1,05 | 14,85 |
| 400 | 1,93 | 15,35 | 2,08 | 16,55 | 2,25 | 17,90 |
| 500 | - | - | 3,77 | 19,20 | 4,09 | 20,84 |
| 600 | 5,78 | 20,16 | 6,13 | 21,68 | 6,64 | 23,49 |
| 700 | - | - | 9,25 | 24,04 | ||
| 800 | 12,27 | 24,41 | 13,21 | 26,28 | ||
| 900 | - | - | 18,09 | 28,43 | ||
| 1000 | 22,25 | 28,33 | 23,96 | 30,51 | ||
| 1200 | 36,17 | 31,98 | ||||
| 1400 | 54,58 | 35,46 | ||||
| 1500 | 65,60 | 37,13 | ||||
| 1600 | 77,90 | 38,74 | ||||
| 2000 | 141,30 | 44,97 | ||||
| 2400 | 228,93 | 50,61 | ||||
| 3000 | 416,53 | 59,01 | ||||
| 3400 | 557,58 | 61,41 | ||||
| 4000 | 897,16 | 71,37 |

Рис. 6.17
При расчете равномерного движения в трубопроводах по формулам Шези (6.42) и (6.43) максимум расхода и скорости соответствует степени наполнения а<1. Так, для круглого сечения наибольшего значения скорость достигает при а=0,81, а расход - при а=0,95, что видно по кривым на рис. 6.16. Это объясняется тем, что в верхней части трубы при увеличении наполнения смоченный периметр χ увеличивается быстрее, чем площадь живого сечения ω, и поэтому гидравлический радиус R начинает уменьшаться, в связи с чем уменьшаются средняя скорость потока v и расход Q. Таким образом, расчет по формуле Шези предполагает существование области двузначных глубин, которая по расходам, например, находится в диапазоне наполнений а=0,8-1.
Этот вопрос явился предметом широкой дискуссии. Многие исследователи, среди которых были А. Шоклич, С. Вудворд, М. Ф. Факторович, А. Г. Чапишвили и др., экспериментально подтвердили наличие области двузначных глубин. Однако другая группа исследователей - Ф. Бюлов, А. С. Мейеров, Н. Ф. Федоров - отрицает возможность существования этой области, что также подтверждается экспериментальными данными. Формула Шези считается этими авторами непригодной для расчета безнапорного равномерного движения в трубопроводах, где примерно, а>0,85. По-видимому, на данной стадии изученности вопроса применение формулы Шези для практических расчетов пропускной способности трубопроводов можно принять при ограничении наполнений а=h/d<0,8 и а=1, т. е. в той области наполнений, где связь расхода и глубины потока в трубопроводе однозначна.
3.1.3. Приближенные расчеты равномерного движения в естественных руслах
Форма поперечного сечения по длине естественных русл не остается постоянной, т. е. они являются непризматическими. Вдоль русла могут также изменяться коэффициент шероховатости и уклон дна. Следовательно, равномерное движение в естественных руслах, строго говоря, существовать не может. Поэтому применение формулы Шези для расчета естественных водотоков не может дать точных результатов. Однако в некоторых случаях формулу Шези приходится использовать. При этом естественный водоток следует разбить на отдельные участки, в пределах которых русло условно можно принять призматическим.
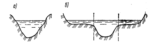
Русла подразделяются на два типа; сосредоточенные (рис. 6.18, а) и пойменные (рис. 6.18, б), которые могут иметь одну или две поймы, а также несколько меженных глубоких русл.

Рис. 6.18
Сечение сосредоточенного узла заменяется каким-либо близким геометрически правильным сечением (прямоугольным, параболическим, трапецеидальным). Сечение пойменного русла делится на пойменные и русловые части, т. е. представляется как составное. Это делается для того, чтобы отдельно определить расход в русле и на поймах, поскольку их шероховатость может существенно отличаться.
Уклон дна стилизованного русла на выбранном участке принимают равным либо уклону свободной поверхности потока в естественном русле, либо осредненному уклону его дна.
Полученное таким образом условное призматическое русло рассчитывают по формуле Шези, как было изложено выше. Результаты расчета относят к естественному руслу. Общий расход пойменного русла находится как сумма расхода пойм и главного русла.
3.2. ОСНОВНЫЕ ЗАДАЧИ ПРИ ГИДРАВЛИЧЕСКОМ РАСЧЕТЕ КАНАЛОВ
3.2.1. Основные типы задач и их решение
Как уже отмечалось основное уравнение равномерного движения воды в канале может быть записано в двух формах относительно пропускаемого расхода Q или средней скорости течения v.
Рассмотрим наиболее типичные задачи, которые могут возникнуть при гидравлическом расчете канала трапецеидального сечения по приведенным выше расчетным зависимостям. Такие задачи могут быть трех типов:
Задача I. Определение пропускной особенности канала Q;
Задача II. Определение уклона для канала io;
Задача III.Определение глубины наполнения канала ho или ширины канала по дну b.
Познакомимся с методами решения этих задач.
Задача I. Определить расход Q, пропускаемый каналом, если известны глубина наполнения канала ho, ширина канала по дну b, уклон дна i0 и род грунта, в котором устроен канал (или характер его облицовки, если предполагается укрепление дна и стенок канала)
Решение: В зависимости от рода грунта или характера облицовки по справочным данным (например в учебнике) определяется коэффициент откоса m и коэффициент шероховатости n, вычисляются величины w и R.. Величина коэффициента С определяется для найденных значений R и n по формуле Н.Н.Павловского (по этой формуле составлены таблицы) или по формуле Маннинга.
Определив таким путем все величины, входящие в уравнение равномерного движения значение искомого расхода вычисляют непосредственно по этому
уравнению:

Задача II. Определить уклон дна канала i0, который необходим для пропуска заданного расхода Q при известных размерах канала (b и m) и роде грунта или одежды.
Решение: Непосредственно из уравнения равномерного движения имеем:

где в соответствии с формулой модуль расхода (расходная характеристика) K2 = C2.w2.R. Значение величин С, w и R определяются так же, как и в задаче I.
Задача III,а. Определить глубину наполнения канала ho, при которой канал шириной по дну b, с уклоном Io, коэффициентом откоса m и шероховатости n пропустит расчетный расход Q .
Решение. Непосредственно по уравнению равномерного движения глубина наполнения ho вычислена быть не может, так она входит в параметры уравнения С, w,c, R в довольно сложном виде.
Поэтому уравнение преобразуем с учетом выражения (2 – 3) для модуля расхода К к следующему виду
откуда 
Анализ последнего уравнения показывает, что параметры его, стоящие в левой части не зависят от глубины наполнения канала, в то время как правая часть (расходная характеристика) в силу равенства (2 – 3) является функцией глубины наполнения , т.е. К = К (ho) .
Это положение дает возможность определить глубину наполнения канала графо-аналитическим способом. Сущность его заключается в следующем.
Вначале, задаваясь различными значениями глубины потока в канале при известных значениях b, m и n, вычисляют все необходимые величины для определения расходной характеристики по формуле (2 – 3). Расчет целесообразно производить в табличной форме (табл. 3 - 1).
Таблица 3 – 1
Образец таблицы для вычисления расходной характеристики
| ho м | w = (b+m.ho).ho м2 |
|
|
|
|
|
По данным первой и последней граф этой таблица строится график зависимости расходной характеристики от глубины потока, т.е. кривая К = K(ho) (рис. 6.19). Затем по данным значениям расхода Q и .уклона Io вычисляется значение расходной характеристики K, отвечающей конкретным условиям рассматриваемой задачи. Откладывая по оси абсцисс вычисленное значение
с помощью кривой К = K(ho) получают глубину наполнения канала, соответствующую условиям данной задачи.

Задача III,б. Определить ширину канала по дну b, необходимую для пропуска заданного расхода при известных значениях ho, Q, m, Io, n .
Решение задачи аналогично предыдущему. Однако, в этом случае задаются различными значениями ширины канала по дну b и вычисляют расходную характеристику в зависимости от ширины канала. Затем по кривой К = K(b) для вычисленного значения 
находят искомую ширину канала по дну.
3.2.2. Расчет каналов на размыв и заиление
Если средняя скорость движения воды в канале будет больше максимальной допускаемой скорости для данного грунта или типа облицовки канала (т.е. при v > vmax) произойдет размыв и разрушение канала. Во избежание этого сечение канала должно быть увеличено, усилено креплением его откосов и дна или уменьшен уклон дна io. Значения максимальных допускаемых (неразмывающих) скоростей приводятся в справочниках (в учебнике).
Если вода, поступающая в канал, содержит взвешенные наносы, средняя скорость потока воды в канале должна быть несколько больше (или в пределе равна) той минимальной скорости, при которой не происходит осаждения этих наносов. Если окажется,что v < vmin, под влиянием выпадения и осаждения наносов канал будет заиливаться, что потребует его постоянных расчисток. Величина незаиляющей скорости (м/сек) может быть определена по следующей зависимости:
. (3 – 7)
где: R - гидравлический радиус, м;
a - эмпирический коэффициент, зависящий от крупности наносов. Значение коэффициента а приведены в табл. 3 – 2. Если неравенство v > vmin не соблюдено, необходимо увеличить уклон дна канала.
Таблица 3 – 2.
Значение коэффициента а
| Характеристика наносов | Коэффициент а, м1/2/c |
| Крупные песчано-илистые | 0,65 – 0,77 |
| Средние песчано-илистые | 0,58 – 0,64 |
| Мелкие | 0,41 – 0,45 |
| Очень мелкие | 0,37 – 0,41 |
Рекомендация для Вас - Атмосфера.
ЗАКЛЮЧЕНИЕ
В лекции рассмотрены основные закономерности движения жидкостей в каналах. Настоящая лекция является теоретической базой для студентов строительных специальностей вузов, т. к. гидравлические расчеты широко применяются при проектировании систем водоснабжения и водоотведения и т. д.

м
м
м1/2
м1/2/c
м3/c
















