Расчетные зависимости равномерного движения в открытых призматических руслах
2. РАСЧЕТНЫЕ ЗАВИСИМОСТИ РАВНОМЕРНОГО ДВИЖЕНИЯ В ОТКРЫТЫХ ПРИЗМАТИЧЕСКИХ РУСЛАХ
2.1. РАСЧЕТНЫЕ ХАРАКТЕРИСТИКИ РАВНОМЕРНОГО ДВИЖЕНИЯ В ОТКРЫТЫХ РУСЛАХ
2.1.1. Основные определения
В открытых призматических руслах с постоянной по длине шероховатостью и положительным уклоном дна при равномерном движении в силу прямолинейности и параллельности между собой линий токов сохраняются неизменными вдоль русла глубина потока h0, называемая нормальной глубиной, и соответствующая ей площадь живого сечения ω0. Так как на свободной поверхности открытого потока давление равно атмосферному (р=ра), то линия свободной поверхности является пьезометрической линией, и, поскольку нормальная глубина неизменна, она параллельна дну канала (рис. 6.10).
Из постоянства площадей живых сечений и значений средних скоростей в разных сечениях следует, что напорная линия параллельна пьезометрической линии (свободной поверхности), следовательно, дну канала. Таким образом, уклоны напорной и пьезометрической линии (гидравлический и пьезометрический уклоны) равны между собой и равны уклону дна канала:
I=Iп=I0. (6.23)
В то же время известно, что гидравлический уклон при движении вязкой жидкости всегда положителен, следовательно, для обеспечения возможности существования равномерного движения в открытом русле положительным должен быть и уклон дна русла(i0>0).
Жидкость в открытом русле движется под действием составляющей силы тяжести, значение которой Gi0 зависит от уклона дна русла. Противодействующие движению силы сопротивления зависят от скорости (рис. 6.10), т. е. T=T(v).
Рекомендуемые материалы

Рис. 6.10
При равномерном движении в призматическом русле эти силы равны, т. е. Gio=T. В противном случае движение становится неравномерным. При Gio>T средние скорости потока вниз по течению будут увеличиваться, а глубины уменьшаться, и, наоборот, если Gio<T, скорость будет падать, а глубина увеличиваться. В первом случае за счет увеличения скоростей силы сопротивления будут возрастать, во втором (при уменьшении скоростей) - уменьшаться. Это приведет в обоих случаях к равенству Gio=T'. Таким образом, в призматических руслах жидкость стремится к установлению равномерного движения.
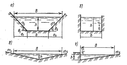
2.1.2. Гидравлические элементы поперечного профиля канала
Каналы в зависимости от их назначения, рода грунтов, применяемых механизмов, местных условий устраиваются различной формы поперечного сечения (рис. 6.11): трапецеидальной, прямоугольной, параболической и т.д.
В системах дорожного водоотвода, в системах мелиорации и водоснабжения, в гидроэнергетике и других отраслях хозяйства наибольшее распространение получили каналы полигонального поперечного сечения, чаще трапецеидального (рис. 6.11, а) и прямоугольного (рис. 6.11, б) профилей. Треугольный профиль имеют лотки поверхностного водоотвода на городских улицах (рис. 6.11, г, в).

Рис. 6.11.1
Для характеристики поперечного сечения каналов приняты следующие обозначения:
b - ширина канала по дну;
т - коэффициент откоса, равный ctg Ө,
;
Ө- угол (см. рис. 6.11.1) задается не по соображениям гидравлического расчета, а с учетом устойчивости грунта откоса; его величина зависит от рода и качества грунта, в котором устроен канал, а также от принятого способа укрепления откоса;
В - ширина потока по верху;
ω - площадь живого сечения;
χ - смоченный периметр;
R – гидравлический радиус
R = ω/χ.
Глубина и ширина канала по дну зависят от расчетной пропускной способности канала, его технического назначения и местных условий (рода грунтов, ширины полосы землеотвода под канал, уклона поверхности, вида применяемой землеройной техники и т.п./
Живое сечение трапецеидальных каналов при произвольной глубине потока h, ширине по дну b и заложениях откосов m=ctg Ө1=a1/h и m2=ctg Ө2=a2/h характеризуется следующими параметрами:
площадью живого сечения
(6.24)
смоченным периметром
(6.25)
шириной потока по свободной поверхности
B = b + (m1 + m2)h. (6.26)
Формулы (6.24)-(6.26) при симметричном трапецеидальном профиле (m1=m2) упрощаются
ω = (b + mh)h;
В = b + 2 mh.
Прямоугольные и треугольные сечения каналов представляют частные случаи трапецеидального.
В частности, для прямоугольного профиля m1= m2=0, отсюда
B = b; m = ctg 90o = 0; ω = bh; χ = b + 2h.
Для треугольного профиля b=0, отсюда
ω = mh2;
B = 2mh.
Каналы (лотки) криволинейного поперечного сечения встречаются реже. Например, в оросительных системах находят применение лотки параболического профиля (рис. 6.11.1, а), описываемого обычно уравнением квадратичной параболы
ω = 2/3 bh.
На дорогах иногда используются также лотки полукруглого профиля (рис. 6.11.2, б).


Рис. 6.11.2
Прочие поперечные сечения, встречающиеся в практике, показаны на рис. 6.12:
а) несимметричные профили (рис. 6.12, а); на рисунке показано русло, которое характеризуется еще тем, что величина коэффициента шероховатости n различна для разных участков смоченного периметра
;
б) неправильные профили (рис. 6.12, б); в этом случае, как и в предыдущем, величины ω и χ приходится вычислять, разбивая поперечное сечение канала на отдельные части;
в) составные профили (рис. 6.12, в);
г) замкнутьe профили (рис. 6.12, г); здесь имеем так называемый закрытый канал.
В случае весьма широких русел всегда можно считать, что

Рис. 6.12
Трубы кругового или иного профиля при их работе с частичным наполнением представляют собой замкнутыe профили (рис. 6.12, г); здесь имеем так называемый закрытый канал, расчет которых рассмотрен ниже.
2.2. ОСНОВНЫЕ ЗАВИСИМОСТИ ДЛЯ РАСЧЕТА РАВНОМЕРНОГО ДВИЖЕНИЯ В ПРИЗМАТИЧЕСКИХ РУСЛАХ
2.2.1. Формула Шези
Основной зависимостью для расчета равномерного движения в призматических руслах является формула Шези

Применительно к открытым равномерным потокам с нормальной глубиной, где
Q = ωv = const (вдоль потока),
а, также учитывая формулу (6.23), формулу Шези можно представить в виде
(6.27)
или
где расходную характеристику (модуль расхода Ко) находят по зависимости
(6.28)
Входящие в формулу (6.27) геометрические характеристики живого сечения ω0, χ0, R0 и коэффициент Шези С0 соответствуют глубине равномерного потока h0.
Определение коэффициентов Шези для открытых русл.
Коэффициент Шези определяется в зависимости от режима движения и области сопротивления либо только числом Рейнольдса, либо только относительной шероховатостью смоченной поверхности русла, либо обоими этими факторами в совокупности. (Последние исследования показали, что коэффициенты С и λ зависят также и от формы русла).
Открытые каналы, а также каналы замкнутого профиля (коллекторы, гидротехнические туннели, дорожные и мелиоративные трубчатые сооружения) имеют значительную шероховатость. Движение жидкости в них происходит преимущественно в области квадратичного сопротивления. В некоторых случаях, например в лотках систем водоотвода, на покрытиях улиц, дорог движение жидкости может соответствовать области доквадратичного сопротивления, гладких русл и даже области ламинарного движения.
Для области квадратичного сопротивления предложены одночленные, показательные и многочленные формулы. В инженерной практике наиболее распространены формулы двух последних типов. Из показательных наиболее известна формула Павловского. Широко применяются при расчетах также формулы Маннинга, многочленная формула Агроскина (табл. 6.1).
Таблица 6.1
Расчетные формулы для определения коэффициента Шези

Особое положение занимает приведенная в табл. 6.1 обобщенная формула Альтшуля, рекомендованная им для определения коэффициента Шези в области квадратичного и доквадратичного сопротивлений, а также в области гидравлически гладких русл.
Для русла прямоугольного профиля конечной ширины значения С несколько меньше, чем вычисленные по формуле
Так, например, для русла с размером b=2h0 разница составляет 8%. Таким образом, эта формула годится для расчетов с достаточной для практических случаев точностью для области ламинарного режима.
2.2.2. Критический уклон
Критическая глубина согласно формуле (6.14) зависит только от расхода и формы поперечного сечения русла и не зависит от уклона дна. Нормальная же глубина h0 согласно выражениям (6.27) и (6.28) зависит от уклона. С увеличением уклона дна глубина h0 уменьшается и наоборот. Следовательно, при некотором значении уклона нормальная глубина станет равной критической (ho=hK). Такой уклон iK называется критическим.
При критическом уклоне формула Шези (6.27) принимает вид
(6.27')
Значение критического уклона может быть найдено из (6.27') непосредственно
(6.29)
либо, учитывая отношение (6.14), - по формуле

При i0=iк глубина равномерного движения по определению равна критической (h0=hK). Линии нормальной и критической глубин, проведенные параллельно дну, при этом совпадают. Равномерный поток находится в критическом Состоянии.
При i0<iк глубина h0 равномерного движения возрастает и становится больше критической (h0>hK). Линия нормальных глубин располагается выше линии критических глубин. Это соответствует спокойному состоянию равномерного потока.
Если же i0>iK. то h0<hк и линия нормальиых глубин располагается ниже линии критических глубин. Состояние равномерного потока в этом случае является бурным.
2.2.3. Гидравлически наивыгоднейшее сечение трапецеидального канала
Каналы, сечение которых при неизменной площади ω0 характеризуется наименьшим значением смоченного периметра χmin и, следовательно, наибольшим значением гидравлического радиуса Rmax= ω0/ χmin согласно формуле Шези (6.27), обладают наибольшей пропускной способностью при равномерном движении. Такое сечение канала называется гидравлически наивыгоднейшим. Оно также может быть определено как сечение с наименьшей площадью ω0 и наибольшей средней скоростью течения v при заданных величинах i0, n, Q.
Т.о. гидравлически наивыгоднейшим сечением канала называется такое его поперечное сечение, которое при заданной площади ω и уклоне i имеет наибольшую пропускную способность.
Известно, что при заданной площади наименьший периметр имеет круг (или полукруг). Таким образом, каналы полукруглого профиля являются гидравлически наивыгоднейшими. Гидравлический радиус таких каналов

Очевидно, что каналы с иной формой поперечного сечения, например прямоугольной, трапецеидальной и др., имеют гидравлически наивыгоднейшее сечение при определенных соотношениях βГН=(b/h0)ГН. Если площадь живого сечения ω и смоченный периметр χ выразить через соотношение blh, величина βГН может быть определена из условия
(6.36)
поскольку для канала с гидравлически наивыгоднейшим сечением при ω=const периметр принимает минимальное значение: χ=χmin.
Для русла трапецеидальной формы поперечного сечения из формулы (6.36) имеем
(6.37)
При подстановке βГН в выражения (6.24) и (6.25) гидравлический радиус для трапецеидального канала гидравлически наивыгоднейшего сечения равен

Зависимость βГН=β(m) и значения относительной ширины канала по свободной поверхности из выражения (6.26) представлены ниже:
т..................... 0 0,5 1,0 1,5 2,0 2,5 3,0
βГН .................. 2 1,236 0,828 0,606 0,472 0,385 0,325
B/ha ................ 2,0 2,236 2,828 3,606 4,472 5,385 6,325
Из этой зависимости следует, что каналы с гидравлически наивыгоднейшим сечением являются относительно глубокими. Поэтому проектировать крупные каналы, ориентируясь на гидравлически наивыгоднейшее сечение, не всегда экономически целесообразно. Например, у прямоугольного судоходного канала шириной b= 100 м при βГН =2 глубина h0=50 м. Глубина же канала в этом случае должна назначаться исходя из осадки судов. Строительство и последующая эксплуатация относительно глубоких каналов с гидравлически наивыгоднейшим сечением часто затруднительны. В таких случаях приходится несколько отклоняться от указанных выше значений βГН.
Малые каналы дорожного и аэродромного водоотвода, мелиоративные и т. д. целесообразно проектировать с гидравлически наивыгоднейшим сечением.
2.2.4. Гидравлический показатель русла
Для русл правильной формы поперечного сечения проф. Б.А. Бахметевым была установлена показательная зависимость отношений расходных характеристик (модулей расходов) и соответствующих им глубин потока:
(6-38)
где K1 - расходная характеристика, определяемая по формуле (6.28) при глубине h1, К2 - расходная характеристика при глубине h2; x - величина, постоянная для данного русла, зависящая от формы, размеров поперечного сечения и шероховатости русла, называемая гидравлическим показателем русла. Его значение для русла данного профиля может быть найдено логарифмированием соотношения (6.38):
(6.39)
Более поздними исследованиями Р. Р. Чугаева, А. Н. Рахманова и М. Д. Чертоусова было показано, что гидравлический показатель русла является величиной постоянной, т. е. не зависит от глубины h, и, следовательно, соотношение (6.39) является точным для широких и для весьма узких прямоугольных и параболических русл, а также для треугольных русл. Например, для широкого прямоугольного русла, если принять В≈χ и R≈h, а также считать неизменным коэффициент Шези при изменении глубины, то из формулы (6.38) можно получить

(6.40)
т. е. х=3. Для этих русл связь между величинами lg К и lg h линейна.
Для прямоугольных и параболических русл средней ширины и трапецеидальных русл при изменении глубины наполнения русла h гидравлический показатель русла не остается постоянным, а незначительно изменяется и линейная связь между lg К и lg h является приближенной, но тем не менее приемлемой для практических расчетов.
2.2.5. Допускаемые скорости течения в каналах
Одной из задач гидравлического расчета каналов является определение максимальной допускаемой скорости течения, называемой неразмывающей и минимальной допускаемой скорости (незаиляющей):
vнр>v>vнз. (6-31)
Неразмывающая скорость - наибольшая скорость потока, при превышении которой (v>vнр) русло начинает размываться.
При теоретическом подходе к определению неразмывающей скорости принята следующая схема механизма воздействия потока на твердую частицу, лежащую на дне (рис. 6.13).

Рис. 6.13
В большей части работ в качестве теоретической основы для определения величины vнр рассмотрены условия предельного равновесия или начального момента трогания отдельной частицы, находящейся на дне. В других работах использованы данные лабораторных и натурных наблюдений.
Обтекание частицы вызывает деформацию и отрыв струй, над частицей и за ней образуются вихревые зоны, и возникает разность давлений на лобовую и тыльную грани частицы (рис. 6.13), а также на нижнюю и верхнюю грани, которые соответственно приводятся к лобовой силе РЛ, действующей на переднюю грань по направлению движения потока, и подъемной силе РП, действующей на нижнюю грань частицы вертикально вверх. На частицу, кроме того, действуют сила тяжести G и сила воздействия окружающих частиц грунта. Равновесие рассматриваемой частицы в зависимости от ее формы и положения на дне может нарушиться либо в результате сдвига по дну, либо в результате перекатывания ее. Если частица возвышается над остальными, на нее действует в основном лобовая сила и в меньшей мере подъемная сила. Если же частица не выступает над остальными, а заклинена между ними, на нее действует лишь подъемная сила.
Так как и лобовая и подъемная силы, действующие на частицу, пропорциональны ее размеру (диаметру) d и скоростному напору, вычисленному по придонной скорости иΔ на высоте выступов частиц, то условия равенства нулю суммы сил (моментов) в случае потери устойчивости при сдвиге (перекатывании) частицы приводятся к уравнению

(6.32)
Среднюю неразмывающую скорость можно найти, введя в уравнение (6.32) сомножитель, характеризующий принятый (показательный или логарифмический) закон распределения скоростей по глубине потока:
(6.33)
или
(6.34)
где величину А находят из принятых условий предельного равновесия частицы с последующим уточнением по результатам опытов, либо непосредственно по данным опытов; величины т, а определяют экспериментально; d - диаметр частицы грунта; h- глубина потока.
Сложность явления взаимодействия потока и русла создает значительные трудности при его анализе. В рассмотренной схеме воздействия потока на частицу, лежащую на дне, не учитываются многие факторы. С помощью лабораторных экспериментов и полученных по их результатам зависимостей для неразмывающих скоростей в каналах, как отмечает В. С. Алтунин, нельзя учесть всех особенностей, встречающихся в природе, в связи с чем предпочтительными являются зависимости, базирующиеся на натурных данных. Этому отвечает формула, полученная Б. И. Студеничниковым по данным лабораторных и натурных исследований в широком диапазоне крупностей частиц несвязного грунта:
(6.35)
где величины d и h выражаются в метрах.
Еще более сложным является процесс размыва связных грунтов. Обстоятельные исследования в этой области были выполнены Ц. Е. Мирцхулавой. Им предложены зависимости для определения неразмывающих скоростей, которые ввиду их сложности здесь не приводятся.
Если скорости течения больше неразмывающих для грунта, слагающего русло, то возникает необходимость укрепления дна и откосов. При этом подбирают материал и тип крепления, чтобы фактическая скорость течения была меньше неразмывающей для крепления.
В настоящее время существуют различные нормы неразмывающих скоростей для сооружений. Каждое сооружение характеризуется теми или иными особенностями, определяющими структуру потока, распределение скоростей, значения придонных скоростей и т. п. Поэтому задача определения неразмывающих скоростей для сооружений и на участках резкой деформации потока в каналах является весьма сложной. Ц. Е. Мирцхулава и В. А. Александров предложили ее решение, исходя из принципа расчета сооружений по предельным состояниям. К нормативным значениям неразмывающих скоростей для грунтов и укреплений введены коэффициенты неоднородности, условий работы, перегрузки, учитывающие различия между реальными характеристиками грунтов и. укреплении, фактическими условиями работы сооружений и нормативными.
Незаиляющая скорость. Это - скорость, при которой из потока еще не выпадают транспортируемые им взвещенные частицы. Частицы начинают выпадать из потока (заиливать русло) при скорости потока v<vнз. Значение незаиляющей скорости не зависит от материала ложи канала, а определяется характеристиками потока и взвешенных в потоке наносов. Разными авторами предложены расчетные зависимости, для определения незаиляющих скоростей, различные по структуре и сложности, которые здесь не приводятся.
Приближенные значения незаиляющей скорости vнз потока с гидравлическим радиусом R = 1с массовым содержанием частиц диаметром dcp>0,25 мм, составляющим менее 0,01%, приведены ниже:
dср, мм....... .0,1 0,2 0,4 0,6 0,8 1,0 1,5 2,0 3,0
vнз, м/с....... 0,22 0,45 0,67 0,82 6,90 6,95 1,03 1,1 1,11
Если гидравлический радиус потока R ≠1 значения vнз следует умножить на R1/2.
Информация в лекции "Формула Маклорена для sin(x) с остаточным членом в форме Пеано" поможет Вам.
При расчете коллекторов городских водостоков и канализационных труб удобнее лимитировать минимальные уклоны, при которых скорости будут незаиляющими. Эти уклоны зависят от диаметра труб D:
D, мм ...150 200 250 300 350 450 500 600 >700
imin……0,07 0,05 0,04 0,033 0,03 0,02 0,015 0,015 0,01


















