Классификация гидравлических машин
Лекция № 1
Классификация гидравлических машин
Гидравлические машины служат либо для передачи энергии от перемещающегося потока жидкости вращающемуся валу машины, либо для передачи энергии вращения вала движущемуся потоку. В первом случае речь идёт о турбинах, во втором - о нагнетателях. В нашем курсе для случаев, когда перемещающейся средой является воздух, принят термин аэродинамические машины.
![]() |
В системах ТГВ используются именно нагнетатели, поэтому рассмотрим классификацию этих машин (рис.1.1).
Рис.1.1 Классификация гидравлических машин
Лопастные (рис.1.2) и объёмные (рис.1.3) нагнетатели кардинально различаются по принципу действия. Принцип действия объёмных машин состоит в периодическом всасывании среды из одного пространства в некоторый постепенно увеличивающийся объём и затем в сокращении этого объёма, который сопровождается выбрасыванием среды в другое пространство.

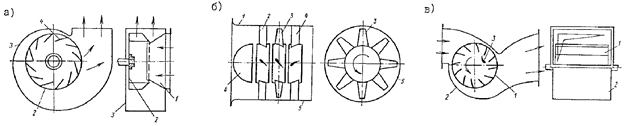
Рис. 1.2 Лопастные нагнетатели
а) центробежные (радиальные); б) осевые; в) диаметральные.
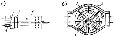
В поршневых нагнетателях (рис.1.3а) периодическое изменение объёма происходит за счёт возвратно-поступательного движения поршня в цилиндре. В качестве примера ротационного нагнетателя на рис.1.3б показан пластинчатый нагнетатель. Здесь цилиндрический ротор эксцентрично расположен внутри цилиндрического статора. Ротор имеет цилиндрические пазы, в которых перемещаются пластины, разделяющие пространство между ротором и статором на ряд не сообщающихся камер, объём которых при каждом обороте сначала увеличивается (всасывание), а затем уменьшается (нагнетание).
Рекомендуемые материалы
Другая разновидность ротационных нагнетателей - шестерёнчатые - это пара шестерен, находящихся в зацеплении. В них "камеры", образованные между зубом одной шестерни и впадиной другой, перемещаясь по окружности, периодически сообщаются то с пространством всасывания, то нагнетания.
Все приведенные выше объёмные машины являются герметизирующими, т.е. разделяющими области всасывания и нагнетания, как во время движения рабочих органов, так и в состоянии их покоя.
На ином принципе основаны лопастные нагнетатели (рис.1.2). Воздействие их на поток является динамическим, оно возникает только в процессе движения лопаток относительно перемещаемой среды. При остановленном роторе это действие прекращается, области всасывания и нагнетания оказываются сообщающимися, и существование разности давлений между этими областями становится невозможным.
![]() |
Лопастные машины различаются в зависимости от направления потока на входе и на выходе из рабочего колеса. У центробежных (радиальных, рис.1.2а) нагнетателей направление потока на входе - вдоль оси вращения, на выходе - радиальное. У осевых нагнетателей (рис.1.2б) - и на входе и на выходе - параллельно оси вращения. У диаметральных нагнетателей (рис.1.2в) направление потока на входе - по радиусу к центру, на выходе - по радиусу от центра к периферии.

Рис. 1.3 Объёмные нагнетатели Рис. 1.4 Струйные нагнетатели
а) поршневые; б) ротационные
В струйных нагнетателях (рис.1.4) рабочая среда перемещается за счёт энергии высокоскоростной струи активного (эжектирующего) потока. При этом происходит смешение рабочего и перемещаемого потоков.
Вместе с этой лекцией читают "Псороптоз кроликов".
Область применения нагнетателей в системах ТГВ
Большинство вентиляционных установок гражданских, общественных и промышленных зданий оборудовано центробежными (радиальными) вентиляторами. В системах общеобменной вентиляции широко используются осевые и крышные вентиляторы. Радиальные вентиляторы применяются в теплогенерирующих установках (ТГУ) в качестве дымососов и дутьевых вентиляторов. В установках ТГУ находят также широкое применение осевые и центробежные насосы (перемещение теплоносителей, подпитка котлов, подача воды в камеры орошения и др.).
Краткий исторический обзор
Устройства для перемещения воды и воздуха были известны ещё в глубокой древности. Для подачи воды в оросительные каналы использовались водоподъёмные колёса (колеса с черпаками на периферии), для привода которых использовалась энергия течения рек. Для подачи воздуха с целью поддержания огня или с целью проветривания подземных выработок было известно использование мехов, которые приводились мускульной силой. В древней Греции известен был поршневой насос Ктезебрия.
Развитие машинного способа производства стимулировало решение ряда задач в области гидравлических машин. Следует в особенности выделить работы Л.Эйлера, который заложил основы теории турбомашин. Классическая схема центробежного насоса появилась в начале ХIХ века в США. В России в 1832 г. А.А.Саблуков предложил конструкцию центробежных вентиляторов для проветривания шахты и заводских помещений. Широкое распространение центробежных нагнетателей стало возможным после появления электродвигателей в конце прошлого века. Современная теория лопастных нагнетателей основывается на работах Н.Е.Жуковского (Россия), Л.Прандтля (Германия), О.Рейнольдса (Англия). Большую роль сыграли работы учеников Н.Е.Жуковского и в первую очередь работы И.А.Ушакова в области вентиляторостроения. В области насосостроения могут быть названы И.И.Куколевский, Т.Ф.Проскура и А.А.Ломакин.
В настоящее время научные исследования в области вентиляторостроения ведутся в ЦАГИ им. Н.Е.Жуковского д.т.н. Брусиловским, д.т.н. Т.С.Соломаховой и др. В области насостроения также работы выполняются во ВНИИгидромашины, Харьковском и Донецком технических университетах и других организациях, разрабатывающих нагнетатели для конкретных отраслей (например, шахтной).























