Тягодутьевые машины
Лекция № 15
Тягодутьевые машины
Дымососы - транспортируют дымовые газы по газоходам котла и дымовой трубе и совместно с последней преодолевают сопротивление этого тракта и системы золоудаления.
Дутьевые вентиляторы работают на наружном воздухе, подавая его через систему воздуховодов и воздухоподогреватель в топочную камеру.
И дымососы, и дутьевые вентиляторы имеют рабочие колёса с загнутыми назад лопатками. В обозначениях дымососов присутствуют буквы ДН (дымосос с загнутыми назад лопатками) и цифры – диаметр рабочего колеса в дециметрах. Например, ДН-15 – дымосос с загнутыми назад лопатками и диаметром рабочего колеса 1500 мм. В обозначении дутьевых вентиляторов – ВДН (вентилятор дутьевой с загнутыми назад лопатками) и также диаметр в дециметрах.
Тягодутьевые машины развивают высокие давления: дымососы – до 9000 Па, дутьевые вентиляторы – до 5000 Па.
Главные эксплуатационные особенности дымососов - это возможность работы при высоких температурах (до 400 С) и при высоком содержании пыли (золы) - до 2 г/м3. В этой связи дымососы нередко используются в системах пылеочистки газов.
![]() |
Обязательным элементом дымососов и дутьевых вентиляторов является направляющий аппарат (см. лекцию 8). Построив характеристики данного дымососа при разных углах установки направляющего аппарата и выделив на них участки экономичной работы (h³0.9hмах), получают некоторую область – зону экономичной работы (рис.15.1), которые используются для подбора дымососа (аналогично сводным характеристикам общепромышленных вентиляторов). Сводный график для дутьевых вентиляторов представлен на рис.15.2. При выборе типоразмера тягодутьевой машины необходимо стремиться к тому, чтобы рабочая точка была возможно ближе к режиму максимального к.п.д., который обозначен на индивидуальных характеристиках (в промышленных каталогах).
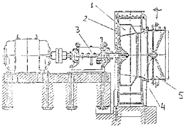
Рис. 15.1 Конструкция дымососа
Рекомендуемые материалы
Заводские характеристики дымососов приведены в каталогах для температуры газов tхар=100°С. При выполнении подбора дымососа, необходимо привести характеристики к фактической расчётной температуре t. Тогда приведенное давление

Дымососы применяются при наличии золоулавливающего оборудования, остаточная запыленность должна быть не более 2 г/м3. При подборе дымососов по каталогу, вводятся коэффициенты запаса:
Информация в лекции "1 О курсе лекций по культурологии" поможет Вам.
Qк=1.1Q; Pк=1.2P.
В дымососах применяются рабочие колёса с загнутыми назад лопатками. На практике в котельных применяются следующие типоразмеры: ДН-9; 10; 11.2; 12.5; 15; 17; 19; 21; 22 – одностороннего всасывания и ДН22´2; ДН24´2; ДН26´2 – двухстороннего всасывания.
Основными узлами дымососов являются (рис. 15.1): рабочее колесо 1, «улитка» – 2, ходовая часть –3, входной патрубок – 4 и направляющий аппарат – 5.
Рабочее колесо включает «крыльчатку», т.е. лопатки и диски, соединяемые сваркой и ступицу, посаженную на вал. Ходовая часть состоит из вала, подшипников качения, расположенных в общем корпусе и упругой муфты. Смазка подшипников – картерная (маслом, находящимся в полостях корпуса). Для охлаждения масла в корпусе подшипников установлен змеевик, по которому циркулирует охлаждающая вода.
Направляющий аппарат имеет 8 поворотных лопаток, соединённых рычажной системой с поворотным кольцом.
Для регулировния дымососов и дутьевых вентиляторов могут применяться двухскоростные электродвигатели.






















