Течеискание
Лекция №23
Течеискание
Существует ряд методов проверки герметичности вакуумных установок, из которых наиболее чувствительным является масс-спектрометрический.
Течи представляют собой микроскопические отверстия или щели, возникшие при сварке деталей камеры или при уплотнении элементов вакуумной системы прокладками.
Для статических (т.е. не откачиваемых насосом) вакуумных систем величина течи (поток натекающего газа Q) может быть определена по величине нарастания давления внутри откачной вакуумной камеры (или системы), т.е:
[м3*Па*с-1 ]
где ΔР –приращение давления, Па
Δt – время (приращения давления), с
V – объем вакуумной камеры, м3
Рекомендуемые материалы
Для динамических вакуумных систем поток натекания может быть рассчитан как:
Q = S*P [м3*Па*с-1 ]
где S – быстрота откачки камеры, м3*с-1
Р – установившееся давление в камере, Па
Существует много различных методов течеискания, различающихся чувствительностью (минимальным потоком натекания, определяемым данным методом – Qmin):
1. Пузырьковый метод (метод опрессовки) Qmin =10-3 м3*Па/с
2. Метод высокочастотного разряда Qmin =10-5 м3*Па/с
3. Манометрический метод Qmin =10-5 м3*Па/с
4. Метод палладиевого барьера Qmin =10-8 м3*Па/с
5. Галоидный метод Qmin =10-5 м3*Па/с
6. Масс-спектрометрический метод Qmin =10-10 – 10-11 м3*Па/с
Рассмотрим некоторые методы.
1. Пузырьковый метод (метод опрессовки) – является одним из простейших. Он основан на погружении исследуемого объекта в жидкость. Внутри объекта с помощью насоса или баллона с газом, рис 49, создается избыточное давление. Частота появления и размер пузырьков, появляющихся из течи определяют ее размер. Преимущество метода в его простоте. Недостатки – низкая чувствительность и необходимость иметь большие ванны с жидкостью.
Ванна с жидкостью может быть заменена мыльной пеной, наносимой на подозреваемые места кисточкой. При этом теряется и без того не высокая чувствительность метода.

Рис.49 Метод опрессовки.
1-Источник газа под давлением (1-2 атм.).
2-Сосуд с жидкостью.
3-Исследуемый объект.
4-Место утечки.
2. Высокочастотный метод – используется для проверки герметичности только стеклянных сосудов. Специальный высокочастотный искровой разрядник,рис. 50, подносимый к исследуемому сосуду (колбе лампы, кинескопу и т.д.) позволяет определить в первую очередь степень вакуума в сосуде, а не течь: красный цвет флюоресцирующего газа указывает на низкий вакуум, т.е. наличие течи, серый – на отсутствие течи.

Рис.50 Метод высокочастотного разряда.
1-Исследуемая лампа.
2-Генератор высокочастотного тока (разрядник Тесла).
3. Масс-спектрометрический метод – является самым чувствительным методом течеискания. Принцип заключается в обдувании всех потенциально опасных мест исследуемого объекта пробным газом, которого почти не содержится в воздухе. Это гелий или, реже, водород.
Течеискатель представляет собой статический масс-спектрометр (с собственной вакуумной системой) герметично соединенный с исследуемым объектом и настроенный на пробный газ. В тот момент, когда оператор, обдувающий пробным газом исследуемую вакуумную систему попадает на место течи, течеискатель выдает звуковой и световой сигналы.
Течеискатель типа ПТИ–10 – специальный масс-спектрометрический тип течеискателя предназначен для нахождения микроскопических малых течей в различной герметичной арматуре. Течеискатель позволяет находить место течи независимо от давления испытуемой вакуумной аппаратуре, а также определять общую величину натекания в вакуумных системах, где газоотделение стенок в тысячи раз превосходит натекание из внешней атмосферы. Масс-спектрометрический течеискатель ПТИ-10 настроен на измерение парциального давления гелия или водорода, он включает масс-спектрометр (м-с) статического типа (см. рис.46) с фокусировкой ионных пучков в однородном магнитном поле. Течеискатель состоит из двух основных частей: вакуумной и электрической.

Люди также интересуются этой лекцией: 16 Динамические и статистические законы.
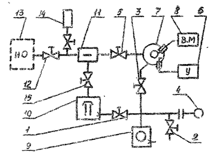
Рис.51 Вакуумная схема гелиевого течеискателя ПТИ-10
Дросселирующий клапан 12 служит для соединения испытуемого объема с течеискателем, а также позволяет плавно регулировать давление в масс-спектрометрической камере 7. Вымораживающая азотная ловушка 11 (сосуд Дюара, заливаемый жидким азотом) препятствует проникновению паров масла из диффузионного насоса м-с камеру. Масс-спектрометрическая камера газоанализатора 7 представляет собой металлическую цилиндрическую коробку со съемной крышкой для быстрой смены катода, имеющую патрубок для присоединения к вакуумной системе. Диффузионный паромасляный насос 10 с воздушным охлаждением типа Н-0,025-2,обеспечивающий предельный вакуум
10-4 Па, предназначен для получения высокого вакуума в м-с камере. Механический насос 9 типа ВН-02-2 предназначен для получения предварительного вакуума. Насос откачивает систему до давления 1 Па за 5…10 мин. Клапан 5 предназначен для отсоединения м-с камеры от вакуумной системы при смене катода, ремонте камеры, а также при размораживании ловушки (с целью предотвращения загрязнения м-с камеры). Клапаны 1,2,3 служат для коммутации предварительного вакуума: клапан 1 –для подключения диффузионного насоса к форвакуумному насосу после достижения им давления 1 Па; клапан 2 – для напуска атмосферы ко впускному патрубку механического насоса после его выключения, чтобы избежать затягивания масла из механического насоса в форвакуумную систему; клапан 3 – для байпасной откачки м-с камеры 7 после аварийной смены катода. М-с камера разгерметизируется при закрытых клапанах 5 и 1, чтобы избежать окисления разогретого масла в диффузионном насосе, и после смены катода откачивается через клапан 3 до давления 1 Па. Термопарный манометр 4 служит для измерения давления в системе предварительного разряжения. Магниторазрядный манометр ММ-10, расположенный в м-с камере, предназначен для измерения в ней давления в диапазоне 1…10-4 Па.
Чувствительность течеискателя, т.е. минимально обнаруживаемая течь, для течеискателя ПТИ-10 составляет 10-11 м3*Па*с-1 при работе с жидким азотом. Без жидкого азота чувствительность снижается до 10-10 м3*Па*с-1 .
При проверке вакуумной аппаратуры на герметичность испытуемый объект 13 с помощью резинового шланга присоединяют к дросселирующему клапану 12 течеискателя. Подозреваемые на течь места (паяные, сварные швы, места уплотнений) последовательно, начиная с верхних (т.к гелий улетучивается вверх), обдувается из специального пистолета тонкой струей гелия. В случае попадания струи на течь, часть гелия проникает вместе с натекающим воздухом в объект и попадает затем в масс-спектрометрическую камеру течеискателя. При этом меняется тон звукового сигнала и показание выносного прибора течеискателя .
Испытываемые на герметичность вакуумные системы делят: на системы с собственной насосной группой, которые при проверке герметичности откачиваются насосом (вакуумные системы технологического оборудования), и без собственной насосной группы, откачиваемые через дросселирующий клапан течеискателя (электровакуумные приборы и их детали).




















