Геттерно-ионные насосы
Лекция №16
Геттерно – ионные насосы
Принцип работы геттерно – ионных насосов основан на сорбции ионизированных молекул газа сорбентами (геттерами), использующими принцип хемосорбции. При этом для повышения эффективности процесса поглощения ионизированные молекулы газа (ионы) с помощью электрического поля принудительно направляются к сорбирующей поверхности и с большой силой “вбиваются” в нее.
В качестве геттера используется титан (иногда в сплаве с цирконием) вследствие высокой энергии сорбции, позволяющей прочно удерживать сорбированные молекулы. На практике используются три вида геттерно – ионных насосов, различающиеся способом увеличения траектории электронов, и способом испарения титана:
1. магниторазрядные (НОРД – насос орбитронный разрядный диодный )
2. геттерно – ионные насосы (ГИН)
3. сорбционные титановые охлаждаемые насосы (СТОН)

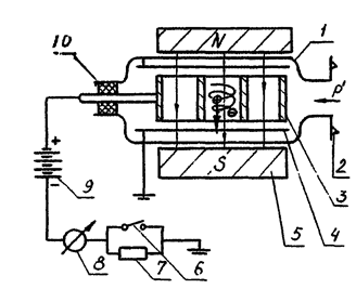
Рис.37. Схема конструкции магниторазрядного насоса
Рекомендуемые материалы
Рассмотрим схему магниторазрядного насоса , где:
1 – корпус;
2 – фланец для крепления к вакуумной системе (камере);
3 - ячеистый анод;
4 – катод (два катода по обе стороны анода);
5 – магнит, образующий поперечное магнитное поле;
6 – переключатель для работы в среднем, либо в высоком вакууме;
7 – дополнительное сопротивление для работы в среднем вакууме;
8 – амперметр;
9 – высоковольтный источник;
10 - токоввод
Насос работает следующим образом:
Первичные электроны, образовавшиеся в центре ячеек ячеистого анода 3 (например, вследствие космического излучения) ионизируют молекулы находящегося в объеме ячеек газа. Образовавшиеся вторичные электроны устремляются к стенкам ячеек положительно заряженного анода.Поперечное магнитное поле превращает их траекторию в архимедову спираль, лежащую в плоскости нормальной к магнитным силовым линиям. Увеличение траектории электронов резко повышает вероятность ионизации остальных молекул газа. Образовавшиеся ионы, летят к титановым катодам и бомбордируя их, распыляют титан на стенки ячеек анода. Таким образом, катоды поглощают газ в виде ионов, а аноды – в виде нейтральных молекул (поглощая их свежераспыленной титановой пленкой).
Суммарная геометрическая быстрота действия насоса может быть ориентировочно оценена:
SГ = F*V1
где F - площадь поверхностей катодов и анода, покрытая свежей титановой
пленкой и поглощающая газ, м2;
V1 - объем газа, ударяющегося о единицу поверхности в единицу времени,
м*с-1
Поскольку реальная быстрота откачки определяется эффективностью ионизации и сорбции молекул, то она в значительной степени зависит от электронной оболочки молекул и минимальна для благородных газов, имеющих полностью заполненную внешнюю электронную оболочку, как это показано в таблице.
Таблица
| Газ | H2 | N2 | CO2 | O2 | He | Ar |
| Относительная быстрота откачки | 270٪ | 100٪ | 100٪ | 57٪ | 10٪ | 1٪ |
Ярко выраженное свойство геттерных насосов откачивать разные газы с разной скоростью (селективность откачки) может быть использовано для целей течеискания. Так, обдувая негерметичную вакуумную систему аргоном или гелием при попадании струи пробного газа на место течи оператор наблюдает увеличение давления, т.к. эти газы медленнее откачиваются (медленнее, чем N2 и O2 , составляющие основу атмосферы).
13 Производительность труда - лекция, которая пользуется популярностью у тех, кто читал эту лекцию.
Геттерно – ионный насос работает в широком диапазоне давлений 10-1 –10-7 Па, при этом его рабочая характеристика зависимости разрядного тока I от логарифма давления P, рис. 38, имеет два линейных участка.

Рис.38
В высоком вакууме (при давлении Р = 10-5 – 10-1 Па) разрядный ток прямо пропорционален давлению. При давлении больше 10-1 Па увеличение разрядного тока вызывает электрический пробой и повреждение электродов (см. пунктирующую линию). Во избежание этого, при Р > 10-1 Па выключатель 6, рис. 37, размыкается и сопротивление 7 начинает ограничивать разрядный ток, который начинает падать с увеличением давления (из-за нарастающего процесса рекомбинации ионов).
Максимальное (стартовое) рабочее давление насоса составляет 1 Па.
Насос может быть прогрет до температуры 450 0С без магнитов или до 150 0С в сборе с магнитами.























