Адсорбционные насосы
Лекция №15
Адсорбционные насосы
Адсорбционные насосы – насосы использующие физическую адсорбцию газов для их удаления из вакуумного объема.
Большим достоинством адсорбционных насосов является отсутствие масла в конструкции, что позволяет получить с их помощью “безмасляный” вакуум. Обычно адсорбционные насосы используют как насосы предварительного разряжения совместно с магнитно-разрядными или криосорбционными насосами для получения “безмасляного” сверхвысокого вакуума..
В ряде случаев адсорбционные насосы используют как самостоятельное средство откачки для получения безмасляного среднего и высокого вакуума.
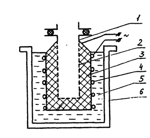
Принцип работы адсорбционного насоса рассмотрим на примере, изображенном на рис. 34.

Рис.34
Обычно корпус насоса выполнен в виде в виде цилиндрического стального контейнера, наполненного сорбентом, способным эффективно поглощать газ (активированным углем, цеолитом, силикагелем) и допускающим многократную регенерацию.
Рекомендуемые материалы
Насос содержит следующие основные части (рис. 34):
1 – присоединительный патрубок, служащий как для откачки (всасывания газов в
насос ), так и для регенерации (удаления газов из объема насоса);
2 – сетчатый контейнер, наполненный адсорбентом;
3 – адсорбент;
4 – нагреватель для регенерации адсорбента;
5 – охлаждающее устройство, заполняемое жидким азотом после регенерации для
приведения адсорбента в рабочее состояние;
6 – теплоизолирующий контейнер (сосуд Дюара)
Поскольку полный рабочий цикл одного насоса включает как период регенерации (нагрева, когда насос не откачивает , а наоборот, выделяет откачанный им газ), так и рабочий период, то и для обеспечения непрерывности процесса откачки необходимо использовать два насоса. Тогда в любой момент времени один насос откачивает газ из вакуумной системы, а другой – регенерируется.

Рис.35
Схема вакуумной системы, использующей два адсорбционных насоса (поз.4 и 5) показана на рис. 35, где цифрами обозначены:
1 – реципиент (откачиваемый объект);
2 – клапан для откачки реципиента;
3 – клапан для регенерации;
4,5 – адсорбционные насосы;
6 – насос предварительного разряжения ( в качестве такого насоса также может быть использован адсорбционный насос)
Количество газа, откачиваемого адсорбционным насосом может быть определено с помощью диаграммы изотерм адсорбции, показанной на рис.36. На рисунке представлены три изотермы (для активированного угля), которые показывают количество газа, сорбированного при различных давлениях, для температур 77 К (верхняя кривая 1), 293 К (средняя кривая 2), 500 К (нижняя кривая 3). Рассмотрим процесс использования диаграммы для расчета давлений.
Так, если адсорбент регенерируется при температуре 500 К и давлении 105 Па (атмосферное давление), см . кривую 3, то количество оставшегося на сорбенте газа соответствует точке “а”. Если мы охладим наш адсорбент жидким азотом (до температуры 77 К, кривая 1) и при этом клапаны 2 и 3, рис. 35, будут закрыты, то мы достигнем внутри корпуса насоса предельного давления Р1(3 – 1) = 10 – 4 Па, соответствующего точке “в”, кривая 1, т.к. на сорбенте при этом осталось исходное количество газа (соответствующее точке “а”), но мы за счет охлаждения адсорбента перешли на другую изотерму.
Если мы будем регенерировать адсорбент при другой температуре, например, при 293 К (точка “с” изотермы 2, соответствующей комнатной температуре) после охлаждения сорбента мы достигаем предельного давления только Р1(2– 1) = 10 – 1 Па (точка “d”).
В соответствии с уравнением Генри количество сорбированного газа :
G = HTP*GS
где HT – коэффициент Генри при данной температуре, м3*кг-1
P - давление газа над сорбентом, Па
GS - вес сорбента, кг
Количество газа в системе, состоящий из реципиента объемом V и насоса, содержащего GS кг сорбента при исходном давлении P0 и температуре T составит:
G1 = P0V + HT2*P0GS [ м3*Па]
где НТ2 – коэффициент Генри при температуре Т2
После охлаждения сорбента в насосе до температуры Т3 количество газа в системе осталось то же, т.к. система замкнута , но газ перераспределился за счет его сорбции на сорбенте:
G2 = G1 = P1V + HT1*P1GS [м3*Па]
где НТ1 – коэффициент Генри при температуре Т1
Используя вышеприведенные зависимости, мы можем написать выражение для расчета давления Р1 после первого цикла откачки:

Это давление на изотерме Т1 будет соответствовать некой точке “е”, которая находится выше точки “d” (соответствующей предельному давлению для системы изотерм Т2 – Т) на величину G = V*P0 , т.е. на величину количества газа , находившегося перед началом откачки вне сорбента (в вакуумной камере).
Продолжая рассуждения аналогичным образом, можно в результате анализа получить выражение для расчета давления в реципиенте Рn после n циклов откачки:

Pn
P12-1 при 
Рекомендация для Вас - 21 Соотношение между законодательством, новыми правовыми актами и судебной практикой.
где Р12-1 -предельное давление , достигаемоеадсорбционным насосом при работе на изотермах 2-1.

Рис.36
Из представленной на рис. 36 системы изотерм следует, что переход на более высокую температуру регенерации (например, Т3 =500 К вместо Т2 = 293 К) понижает достигаемое предельное давление. Следует помнить, что эта температура ограничена термостойкостью сорбента.
Другим эффективным путем снижения предельного давления является снижение давления при регенерации, т.е. регенерация адсорбционного насоса в форвакууме, как это показано на рис. 35. Насос 6 здесь используется как форвакуумный. При таком методе регенерации, исходное количество газа на сорбате резко уменьшается (на рис. 36 это точка “f ” вместо точки “a” для изотермы Т3), что дает возможность получить гораздо лучший предельный вакуум (точка “g” вместо точки “в” на изотерме Т1).
Значения коэффициентов Генри, удобные для практического использования, приведены в лекции №14.























