Приборы измерения расхода жидкостей и газов
Б 2.4 Приборы измерения расхода жидкостей и газов
Общие сведения об измерении расхода.
После того, как мы разобрали две темы о приборах измерения температуры, давления и разрежения, приступим к следующим видам приборов - это приборы измерения расхода жидкостей и газов.
Расходом называется количество вещества, проходящего в единицу времени через сечение данного технологического участка, канала.
Различают объемный расход, например л/с, м3/г и т.п.; и массовый расход, например кг/мин, г/с и т.п. Средства измерения расхода вещества называются расходомерами или преобразователи расхода, если они не имеют шкалы. Кроме расходомеров широко используются счетчики количества вещества, служащие для измерения количества вещества, прошедшего через счетчик за какой-либо промежуток времени.
Некоторые приборы обеспечивают одновременное измерение расхода и количества, они называются расходомерами со счетчиком.
Самое широкое распространение среди средств измерения расхода получили расходомеры переменного перепада давления, которые используют зависимость перепада давления на сужающем устройстве, установленном в трубопроводе от расхода.
Расходомеры переменного перепада давления применяются для измерения средних и больших расходов - от 1м3/2 и более в трубопроводах от 50мм (в отдельных случаях от 12 мм и более).
В химии часто применяются ротаметры, являющиеся наиболее распространенной разновидностью расходомеров постоянного перепада давления (рис. 16) и деференциально-трансформаторные ротаметры электрические типа РЭ (рис. 17). Ротаметры могут измерять очень малые расходы различных сред, в том числе агрессивных.
Рекомендуемые материалы
Выпускаются электромагнитные расходомеры, основанные на зависимости ЭДС, возникающей при движении электропроводящей жидкости в магнитном поле, от расхода этой жидкости. Они принимаются для измерения расхода электропроводящих сред в трубопроводах диаметром 2-3600 мм.

Рис. 16 Индикатор расхода (ротаметр) стеклянный типа РС-3А.
![]() |
Рис. 17. Схема ротаметра типа РЭ.
Для трубопроводов больших размеров выпускаются зондовые электромагнитные преобразователи, измеряющие скорость в одной или нескольких точках сечения, по которым определяется расход.
Тахометрические расходомеры и счетчики количества используют зависимость частоты вращения тела (установленного в трубопроводе) от скорости давления среды или ее объема. Это наиболее точный метод измерения, который получил очень широкое распространение за рубежом для коммерческих расчетов. Погрешность таких расходомеров может быть не более 0,25 % для жидкостей и 0,5% для газов. Однако почти все они имеют ограниченный срок службы. Исключение составляют шаровые расходомеры с гидродинамическим подвесом, но конструкция их разбора не обеспечивает высокой точности измерения. Остальные типы расходомеров имеют ограниченное применение.
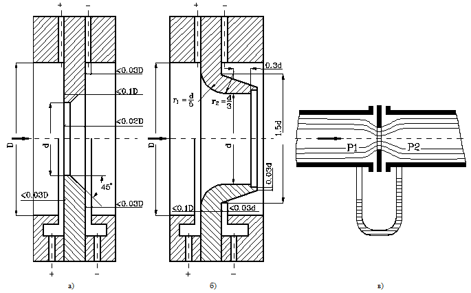
Расходомеры с сужающим устройством (рис. 18 а, б, в).
Различают расходомеры со стандартными и специальными сужающими устройствами. Принципиальным преимуществом их является возможность определить градуированную характеристику расчетным путем. Для стандартных и специальных сужающих устройств должны быть соблюдены следующие условия измерения:
- движение потока до и после сужающего устройства должно быть стандартным;
- измеряемая cреда должна заполнять все поперечное сечение трубопровода до и после сужающего устройства;
- во внутренней полости прямых участков трубопровода до и после сужающего устройства не должны скапливаться осадки в виде пыли, песка, металлических предметов и других загрязнений;
- на поверхности сужающего устройства не должен образовываться отложения, изменяющие его геометрию или конструктивные ритмы.
Кроме того, для стандартных сужающих устройств поток должен быть турбулентным, и при прохождении через сужающее устройство среда не должна менять своего фазового состояния (жидкость не должна испаряться хотя бы частично, надо конденсироваться).
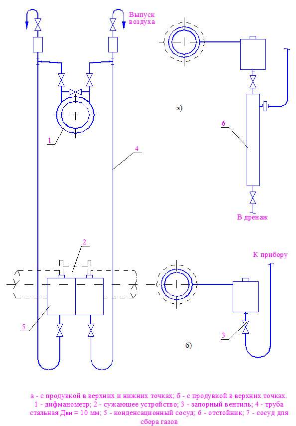
В настоящее время в комплект для измерения расхода применяемый на ОП ЗАЭС (рис.19, 20, 21, 22), входит:
1- сужающее устройство;
3 - соединительных импульсных линий с соответствующими вентилями;
5 – дифференциально - трансформаторного датчика типа ДМ или преобразователей давления типа ДМ7-МИ; ДСЭ-МИ (с компенсацией магнитных потоков) и Caпфир 22ДИ (изменение электрического сопротивления).
Специальные сужающие устройства изготавливаются в соответствие требованиями РД50-411-83. Методические указания. Расход жидкостей и газов. Методика выполнения измерений с помощью специальных сужающих устройств. Специальные сужающие устройства применяются на трубопроводах диаметром меньше 50 мм и при малых числах Рейнольдса (Re), что позволяет использовать их и для вязких жидкостей.

Рис. 18 Сужающее устройство и принцип действия расходомера с переменным перепадом давления.
![]() |
Рис. 19. Схема трубных соединений сужающего устройства с дифманометром для измерения расхода пара.
![]() |
Рис. 20. Схема трубных соединений сужающего устройства с дифманометром для измерения расхода пара.

Рис. 21. Схема трубных соединений сужающего устройства с дифманометром для измерения расхода неагрессивной жидкости.
Рис. 22. Схема трубных соединений сужающего устройства с дифманометром для измерения расхода агрессивной или вязкой жидкости.
Вспомогательное оборудование для расходомеров с сужающими устройствами.
Для того, чтобы передать перепад давления от сужающего устройства к дифманометру или преобразователю давления без искажения, применяют различные типы вспомогательного оборудования. Например: при измерении расхода водяного пара, импульсные линии, соединяющие сужающие устройства с датчиком, заполнены конденсатом. Для того чтобы исключить влияние уровня и плотности конденсата в этих линиях, на передаваемый период давления (DР), необходимо поддерживать уровень конденсата в этих линиях постоянным и одинаковым, а также обеспечить равенство температур конденсата в обеих линиях. Для обеспечения постоянства уровня конденсата в импульсных линиях служат уравнительные конденсационные сосуды (2). Равенство температур обеспечивают прокладкой обеих импульсных линий в непосредственной близости одна от другой.
Применяются также уравнительные сосуды (2) для исключения влияния плотности жидкостей в импульсных линиях. Это типа СУМ-63-1, СУМ-63-3, СУМ-63 на давление 6,3 МПа (63кгс/см2), СУМ-250-2 25 МПа (250 кгс/см2) и т.д.
В ряде случаев измерения давления и разностей давления (DР) возникает необходимость защиты датчика от воздействия агрессивных сред или при применении вязких сред, например мазута, не допустить их попадания в импульсную линию. Для этого применяется разделительные сосуды или мембранные разделители. Это типы СРС-63-1-А, СР-250-2-А, СРС-400-2-А, СРС-63, СРС-250 и т.д.
Цифровые обозначения соответствуют, на какое давление (в кгс/см2) они рассчитаны во время работы.
Устройство и принципы работы камерной диафрагмы (сужающего устройства).
В основу принципа действия переменного перепада измерения перепада давления на сопротивлении, введенном в поток жидкости или газа.
Любая движущая система, характеризующаяся соотношением ее кинетической и потенциальной энергией. Для жидкостей или газов, протекающей в трубопроводе, кинетическая энергия будет определяться скоростью движения среды через поперечное сечение в трубопроводе, а потенциальная - давлением в трубопроводе.
При увеличении скорости протекания среды, давление падает и наоборот, т.е. происходит превращение одного вида энергии в другой.
Это явление широко используется при создании преобразователей расхода переменного перепада. В трубопровод, в котором необходимо измерить расход, вводят сопротивление, уменьшающее площадь поперечного сечения трубы. В месте установки сопротивления скорость жидкости резко возрастает. Если измерять давление до сопротивления и непосредственно за ним, то разность давлений (перепад) зависит от скорости потока, а следовательно, и от расхода. Такое сопротивление, устанавливаемое в трубопроводах, нагнетается сужающим устройством. В качестве сужающих устройств в системах контроля расхода широко применяют нормальные диафрагмы. Комплект диафрагмы (рис. 23) состоит из диска 4 с отверстием, кромка которого с плоскостью диска составляет 45 %.

Рис. 23. Схема обвязки расходомерной диафрагмы.
Диск помещается между корпусами кольцевых камер 3 и 6. Между фланцами 2 и камерами 3 и 6 установлены уплотняющие прокладки.
Отборы давления 5 до и после диафрагмы берут из кольцевых камер.
До диафрагмы давление в трубопроводе Р11. Непосредственно перед диафрагмой давление возрастает до величины Р1 и резко снижается до Р2 за диафрагмой. Затем давление в трубопроводе выравнивается и становится меньше чем Р11 на величину потерь на диафрагме. Установлено, что перепад давления DР на диафрагме:
DР= Р1 - Р2 (15)
будет равен: DР= kQ2, (16)
где k- коэффициент, зависящий от свойств жидкости и геометрических размеров устройства;
Информация в лекции "41 Основные схемы использования водной энергии" поможет Вам.
Q - расход Среды (j/r, м3/r).
Применение сужающих устройств ограничено диаметрами трубопроводов (d>50 мм) и следовательно, величиной измеряемого расхода (не менее 25 м3/r).
Измерительные приборы и преобразователи давления для измерения расхода жидкостей и газа.
В качестве измерительных приборов и передающих преобразователей в комплекте с преобразователями переменного перепада для измерения расхода применяют поплавковые мембранные дифференциальные манометры, а также преобразователи давления типа Caпфир 22 ДД, которые применяются у нас на ЗАЭС.
Преобразователи давления (в дальнейшем Caпфир22) предназначены для работы в системах автоматического контроля, регулирования и управления технологическими процессами и обеспечивает непрерывное преобразование значения измеряемого параметра - давления избыточного, абсолютного, гидростатического, разрежения, разности давления (DР) нейтральных и агрессивных сред в унифицированный токовый входной сигнал.
Caпфир 22ДД при работе с блоком извлечения корня БИК-1 используется для получения линейной зависимости между выходным сигналом и измеряемым расходом.

























