Обработка связки крепежных отверстий
15.Обработка связки крепежных отверстий
1. Отработка крепежных отверстий (КО)
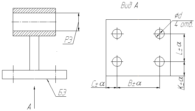
КО используется для создания разъемного соединения (болтового, винтового и т.д.) см. рис.1.

Рис.1 Связка крепежных отверстий на кронштейне
| Четыре координирующих размера – L, В, С и К имеют, чаще всего, точность |
|
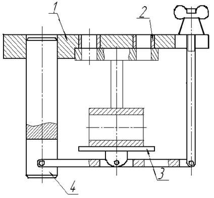
Рекомендуемые материалыFREE Маран Программная инженерия Техническое задание -22% Право социального обеспечения (Темы 1-12) -40% Помогу вам сдать - КМ-5. Обработка данных с термопары НСПК | Практическое занятие 1. Задания 1, 2, 4, 6-9, 11, 12 Математика в профессиональной деятельности учителя (ПНК) | 100% правильно Трудовое право Темы 1-12 + Итоговый + Компетентностный На рис.3 показан кондуктор, который в производстве имеет название кондуктор типа “книжка”: состоит из кондукторной плиты 1 с ножками 4, механизм закрепления содержит качалку 3, обеспечивающую направление усилия прижима по нормали к поверхности плиты. В таких кондукторах можно сверлить отверстия по очереди на одном настольном станке (см. рис. Гл. 3) или обрабатывать головкой..
Для обработки головкой кондуктор ориентируют на столе станка. Надевают кондуктор на неподвижные сверла и опускают его на стол, а там устанавливают и крепят две призматические планки, по которым и будет устанавливаться кондуктор при обработке. Точность размеров детали зависит от точности соответствующих размеров кондуктора и точности инструмента |
|
Поэтому допуски на размеры кондуктора назначаются в два – три раза жестче чем на размеры детали, т.е.
.
В общем случае суммарная погрешность отработки, например, по размеру С будет:
, где
- допуск на размер С кондуктора
- допуск на диаметр втулки;
;
- допуск на диаметр сверла;
- погрешность износа сверла.



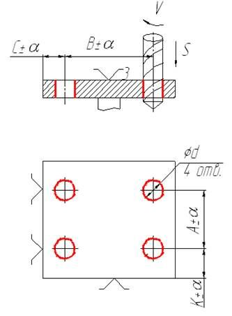
, а отверстия по 12 квалитету. Такие связки обычно обрабатываются за одну операцию сверлением в кондукторе. Схема обработки показана на рис.2. Главная база – плоскость,от которой задан скрытый размер – перпендикулярность осей отверстий относительно этой плоскости. Размеры L и В внутрикомплексные, размеры С и К исходные, для них выполняется принцип совмещения баз.


















