Солнечные пластины
Аннотация
Ключевые слова: СОЛНЕЧНАЯ ЯЧЕЙКА, СОЛНЕЧНЫЙ ЭЛЕМЕНТ, СОЛНЕЧНАЯ БАТАРЕЯ, ДИФФУЗИЯ.
Курсовой проект посвящён разработке технологии изготовления фотоэлектрических кремниевых солнечных коллекторов.
Расчётно-пояснительная записка выполнена в текстовом редакторе MS Word 2010, а 5 листов формата А1 выполнены в редакторе CoralDraw X5.
Расчётно-пояснительная записка содержит: 24 страницы машинописного текста, 7 рисунков, 1 таблицу.
Устройство и принцип работы солнечной пластины.
Существуют различные альтернативные возобновляемые источники энергии: энергия ветра и солнечного света, гидро- и геотермальная энергия. Особое место среди них занимает фотоэлектрические преобразователи солнечной энергии, изучение которых превратилось в отдельную науку – фотовольтаику.
Рекомендуемые материалы
Простейшая конструкция солнечного элемента показана на рисунке 1.

Рис.1 Конструкция солнечного элемента
На подложке располагаются полупроводники n- и р-типа с контактами, покрытые защитным стеклом для предотвращения внешних повреждений. Восприятие элементом падающих солнечных лучей улучшается с помощью специального поглощающего покрытия. Когда СЭ освещается, поглощенные фотоны генерируют неравновесные электрон-дырочные пары. Электроны, генерируемые в p-слое вблизи p-n-перехода, подходят к p-n-переходу и существующим в нем электрическим полем выносятся в n-область. Аналогично и избыточные дырки, созданные в n-слое, частично переносятся в p-слой. В результате n-слой приобретает дополнительный отрицательный заряд, а p-слой – положительный. Снижается первоначальная контактная разность потенциалов между p- и n-слоями полупроводника, и во внешней цепи появляется напряжение.
Солнечные элементы собираются в солнечные модули(рис.2), которые, в свою очередь являются основой солнечной пластины.

Рис.2 Солнечный модуль
Проблемы нахождения и использования конструкций и материалов для солнечных элементов
Для эффективной работы солнечных элементов необходимо соблюдение ряда условий:
- оптический коэффициент поглощения активного слоя полупроводника должен быть достаточно большим, чтобы обеспечить поглощение существенной части энергии солнечного света в пределах толщины слоя;
- генерируемые при освещении электроны и дырки должны эффективно собираться на контактных электродах с обеих сторон активного слоя;
- солнечный элемент должен обладать значительной высотой барьера в полупроводниковом переходе;
- полное сопротивление, включенное последовательно с солнечным элементом (исключая сопротивление нагрузки), должно быть малым для того, чтобы уменьшить потери мощности (джоулево тепло) в процессе работы;
- структура тонкой пленки должна быть однородной по всей активной области солнечного элемента, чтобы исключить закорачивание и влияние шунтирующих сопротивлений на характеристики элемента.
Сравнение тонкопленочных и кристаллических
фотоэлектрических модулей
Тонкопленочные модули в общем случае дешевле кристаллических за счет меньшего расхода кремния и более простой технологии изготовления. Однако разница в цене не очень большая, так как в последние годы цена на кристаллические солнечные модули сильно снизилась. Эффективность обеих технологий быстро растет, а различие в цене уменьшается. Для конечных потребителей и установщиков важно рассмотреть некоторые важные особенности, которые имеют место при проектировании солнечной электростанции на основе различных типов солнечных элементов. На основе этой информации проектировщик может решить, какую технологию солнечных элементов - тонкопленочную или кристаллическую - лучше использовать в конкретном проекте.
Параметры, по которым следует сравнивать тонкопленочные и кристаллические фотоэлектрические модули(сравнение приведено в таблице 1):
- Отношение напряжения в рабочей точке к напряжению холостого хода (Vmp/ Voc)
(выше - лучше, т.к. меньше разница между Voc и Vmp). Напряжение, при котором ток равен 0, называется напряжением холостого хода (Voc). С другой стороны, ток, при котором напряжение равно 0, называется током короткого замыкания (Isc). В этих крайних точках ВАХ мощность модуля равна 0. На практике, система работает при комбинации тока и напряжения, когда вырабатывается достаточная мощность. Лучше сочетание называется точкой максимальной мощности (рабочей точкой). Соответствующие напряжение и ток обозначаются как Vp (номинальное напряжение) и Ip (номинальный ток). Именно для этой точки определяются номинальная мощность и КПД солнечного модуля; - Температурные коэффициенты (низкий температурный коэффициент лучше при работе при высоких температурах окружающей среды);
- Заполнение вольт-амперной характеристики (идеальный элемент имеет 100% заполнение);
- Конструкция модуля;
- КПД модуля;
- Совместимость с инверторами;
- Монтажные конструкции;
- Соединения постоянного тока;
- Типовое применение;
- Требуемая площадь.
| Технология | Кристаллический кремний | Тонкопленочные модули |
| Разновидности технологии | Монокристаллический кремний Поликристаллический кремний | Аморфный кремний |
| Отношение напряжения в рабочей точке к напряжению холостого хода (Vmp/ Voc) | 80%-85% | 72%-78% |
| Температурные коэффициенты | выше (-0,4-0,5%/градус) | ниже (-0,1-0,2%/градус) |
| Заполнение вольт-амперной характеристики | 73%-82% | 60%-68% |
| Конструкция модуля | в раме из анодированного алюминия | без рамы, между 2 стеклами |
| КПД модуля | 13%-19% | 4%- 12% |
| Совместимость с инверторами | Чем меньше температурный коэффициент, тем лучше. Можно использовать бестрансформаторные инверторы | Обычно для тонкопленочных модулей требуется инвертор с гальванической развязкой |
| Монтажные конструкции | Типовые | Типовые, но могут потребоваться специальные зажимы или крепеж. Во многих случаях стоимость установки намного меньше |
| Типовое применение | Жилые дома/Коммерческие объекты/Генерация в сеть | Жилые дома/Коммерческие объекты/Генерация в сеть |
| Требуемая площадь | около 150 Вт/м2 | может потребоваться до 50% больше площади для той же мощности |
| Стоимость | Мококрист. – 2$ Поликрист. – 0,9$ | 0,7-40$ |
Табл.1 Сравнение тонкопленочных и кристаллических фотоэлектрических модулей
Этапы производства солнечных элементов
Существует несколько этапов производства солнечных батарей на основе поликристаллического кремния:
- Подготовка кремниевой пластины, очистка ее после резки, промывка;
Пластины на производство поступают практически готовыми к дальнейшему их использованию, необходимо только удалить повреждения, образующиеся на поверхности при резке. В этих целях применяется оборудование для выполнения жидкостной химической обработки. Помимо этого, установки компании, а в частности система серии InTex, улучшает светоудерживающие свойства пластин путем создания структуры на их поверхности.
- Структурирование поверхности пластины, создание топологии на ее поверхности, травление;
Так как для получения более эффективных солнечных элементов важно преобразовать в электричество как можно больше солнечного света, то поверхность стараются сделать неровной на микроуровне. Для кремниевых пластин такая операция называется текстурированием.
Текстурированная поверхность представляет собой множество на первый взгляд хаотично расположенных микропирамид (рис.3). Излучение, попадая на поверхность пирамиды, отражается под тем же углом и в большинстве случаев попадает на грань соседней пирамидки. При этом, только за счет создания текстурированной поверхности удается снизить коэффициент отражения кремния с 35% до 11%.

Рис.3 Текстурированная поверхность кремниевой пластины
Для решения обеих рассмотренных задач (удаление нарушенного слоя и формирование текстуры на поверхности пластин) применяется химическая обработка пластин. Обычно, для кремниевых пластин применяют травление в щелочных растворах и одну или несколько кислотных обработок. При этом главное - не переусердствовать, так как в погоне за равномерной текстурой поверхности можно существенно снизить толщину пластин. А это приведет в итоге к повышенному их бою на последующих операциях и, как следствие, к снижению процента выхода годных изделий.
В конце, после проведения всех необходимых операций, пластины промываются в воде и сушатся. Это тоже очень важные операции. Так, например, от качества сушки очень сильно параметры создаваемого на следующей операции диффузионного слоя.
- Легирование, нанесение фосфора;
Обычно в производстве солнечных элементов используются исходные пластины с проводимостью p-типа. Для этого кремний еще на этапе выращивания слитков легируют соответствующими примесями, например, бором. Поэтому для создания в нем n-слоя необходимо в одну из поверхностей элемента внедрить другую примесь, которая скомпенсирует действие бора и насытит полупроводник носителями заряда n-типа. Это можно сделать, введя в кремний фосфор или другую подходящую примесь из соответствующей части таблицы Менделеева.
- Диффузия фосфора, вжигание;
Одним из наиболее традиционных и экономически обоснованным способом насыщения кремния фосфором является диффузия, т.е. процесс при котором фосфор под действием высоких температур проникает в полупроводник. Традиционно диффузию фосфора проводят в трубчатых или конвейерных печах при температурах около 10000 С. В первом случае пластины помещают в кварцевые кассеты, а трубу печи заполняют парами вещества, содержащего фосфор. Регулируя время нахождения пластин в реакторе, температуру и потоки газов внутри него, технологи получают p-n переход с необходимыми им свойствами. Во втором случае фосфорсодержащее вещество наносят распылением на поверхность пластин, лежащих на ленте конвейерной печи. После этого пластины при помощи конвейера передвигаются в следующую зону, где также подвергаются высокотемпературной обработке.
В результате проведения диффузии фосфора на поверхности и торцах кремниевой пластины толщиной около 200 мкм формируется слой n-типа, проникающий на глубину всего около 0,1 мкм. Т.е. p-n переход залегает у самой поверхности солнечного элемента. Это сделано для того, чтобы носители заряда различных знаков, сгенерированные под действием излучения, как можно скорее попали в зону влияния p-n перехода, иначе они просто вновь встретятся друг с другом и таким образом скомпенсируются, так и не дав никакого вклада в генерацию электрического тока.
-Создание p-n-перехода, изолирование его, удаление ненужных слоев;
После процесса диффузии на пластине образуется слой фосфосиликатного стекла, который необходимо снять для повышения производительности, а также следует выполнить дополнительную очистку пластин перед осаждением антиотражающего слоя.
- Нанесение антиотражающего слоя SiN;
При помощи текстуры отражение от поверхности пластины снижается в среднем с 35% до 11%. Это означает, что десятая часть излучения, падающего на поверхность солнечного элемента, все еще будет отражаться обратно и не сможет участвовать в процессе генерации электрического тока. С целью еще большего уменьшения этих потерь, классифицируемых как оптические, на следующей технологической операции на рабочую поверхность солнечных элементов наносится так называемое антиотражающее покрытие (АОП). Опираясь на законы оптики, инженеры подбирают толщину и коэффициент преломления покрытия так, что удается уменьшить отражение до 1-2%. А это уже очень хороший показатель.
Сегодня существует огромное множество различных типов антиотражающих покрытий, которые наносятся несколькими различными методами. На практике в качестве АОП для кремниевых солнечных элементов чаще всего используются пленки оксида титана или нитрида кремния, причем последней все чаще отдается предпочтение. Нитрид кремния обычно наносится методом PECVD, т.е. путем ускоренного плазмой химического напыления из газовой фазы, в специальных трубчатых печах.
Процесс PECVD предполагает, что химический реактив, попадая в зону реактора, распадается под влиянием плазмы и температуры на отдельные элементы, которые затем оседают на поверхность пластины и вступают в химическую реакцию. В результате на лицевой поверхности пластины «выращивается» тончайшая пленка нитрида кремния, которая обладает требуемыми свойствами. Ее толщина составляет около 70 нм, что намного меньше размеров микропирамид текстуры и позволяет добиться эффекта антиотражения независимо от структуры рельефа поверхности.
- Металлизация (создание металлических контактов на обратной стороне пластины методом трафаретной печати);
Обычно для снижения стоимости солнечного элемента контактная металлизация наносится методом трафаретной печати. Суть этого метода состоит в том, что при помощи так называемого ракеля (если очень просто, то резинового бруска) через мелкую сетку трафарета продавливается паста, в состав которой входят металлические шарики, флюс и различные связывающие добавки. На сетке предварительно сформирован рисунок, задающий места, в которых паста должна быть нанесена на пластину, а в которых – нет. После этого паста подсушивается, и пластина поступает в печь вжигания, где при температуре более 800 градусов металл впекается в поверхность солнечного элемента.
На тыльной поверхности солнечного элемента наносятся два типа металла. Один из них представляет собой сплошной слой алюминия, покрывающего практически всю площадь за исключением нескольких отверстий. А уже в этих отверстиях сформирована серебряная металлизация, выполняющая функцию контакта.
Алюминиевый слой служит своеобразным энергетическим зеркалом для носителей заряда. Как известно, электроны и дырки в полупроводниках имеют свойство рекомбинировать, т.е. переходить из свободного состояния в связанное. Именно для того, чтобы снизить его в солнечных элементах при помощи алюминиевой металлизации формируется так называемое BSF (back side field) – тыльное поле, "отзеркаливающее" носители заряда, которые еще не успели дать вклад в генерацию тока.
Как серебросодержащий контакт, так и сплошной алюминиевый слой на тыльной стороне солнечного элемента формируются все тем же способом трафаретной печати. Изменяется только рисунок трафарета и некоторые параметры используемой в нем сетки. После нанесения каждого слоя пасты его сушат в специальных печах, и только после нанесения всех трех слоев (1 на лицевой и 2 на тыльной стороне) пластина передается на вжигание.
- Сушка и вжигание;
Метод вжигания заключается в нанесении на поверхность диэлектрика специальной пасты, содержащей мелкодиспергированный металл или его соединения и органическую связку, с последующей сушкой для удаления летучих компонентов связки и обжигом при высокой температуре, достаточной для сгорания твердых частей органической связки и образования слоя металла, плотно закрепленного на поверхности диэлектрика.
- Создание контактов на лицевой стороне пластины;
Лицевая поверхность служит в первую очередь для максимального поглощения излучения, падающего на нее, чем и определяются технические требования к контактной металлизации. Именно по этой причине контакт, расположенный на рабочей стороне солнечного элемента, выполняется в виде решетки, обычно состоящей из 2-3 широких контактных площадок и нескольких десятков тонких токособирающих линий, расположенных перпендикулярно к широким. При выборе дизайна лицевого контакта инженерам приходится решать две противоположные задачи. Во-первых, для снижения оптических потерь, вызванных затенением рабочей поверхности металлом, они стараются выполнить линии решетки как можно более тонкими и расположить их как можно дальше друг от друга. Во-вторых, так как поверхность элемента имеет определенное электрическое сопротивление (определяется режимами формирования p-n перехода при помощи диффузии), то при очень большом расстоянии между элементами контактной решетки часть носителей заряда просто не успевает достигать контакта и рекомбинирует внутри полупроводникового материала. Поэтому для снижения электрических потерь при заданном поверхностном сопротивлении пластины расстояние между линиями контактной решетки не может превышать определенного значения. То же самое касается и ширины линий – чем тоньше линия, тем лучше для оптики, но тем меньший ток сможет провести такой контакт.
- Выравнивание пластины;
После всех этих процессов практически в 100% случаев пластина приобретает изгиб вследствие термического напряжения различных материалов; избавиться от него необходимо, чтобы в дальнейшем, при встраивании пластин в модули, не произошла их поломка. Для этого существует специальная установка – система быстрого термического шока. Эта система имеет несколько рабочих зон, где пластины сначала подвергаются очень резкому охлаждению – до -70 °С, а потом – нагреванию до +200 °С. Эта установка позволяет значительно снизить риск растрескивания пластин при дальнейшей работе с ними, а также позволяет расширить список используемых для печати паст.
- Проверка и тестирование.
Во время тестирования солнечного элемента промеряется множество параметров, среди которых ток короткого замыкания, напряжение холостого хода, максимальная мощность и коэффициент полезного действия (КПД). На вопрос, который поставлен вначале этой заметки дает ответ параметр максимальной мощности солнечного элемента, а КПД показывает какая часть падающей мощности приведет к появлению электрической мощности на нагрузке.
Для проведения измерений параметров солнечных элементов используются тестеры или тестеры/сортировщики. Они бывают как импульсными, так и с облучением непрерывного действия. Импульсные тестеры интересны тем, что во время практически мгновенного измерения элемент не успевает нагреться и погрешность ниже. Также тестеры отличаются по типу ламп, что влияет на спектральный состав излучения.
Обычно тестер содержит эталонный солнечный элемент и встроенный компьютер, который пересчитывает измеренные параметры и приводит их к стандартным условиям измерения.

Рис.4 Промышленный тестер/сортировщик солнечных элементов
Диффузия в производстве солнечных элементов
Диффузия — это процесс, с помощью которого на поверхности или внутри пластины полупроводника получают p- или n-области путем введения акцепторных или донорных примесей. Проникновение примесей внутрь пластины полупроводника происходит за счет диффузии атомов, находящихся в составе паров, в атмосферу которых помещена нагретая до высокой температуры полупроводниковая пластина.
Так как атомы примеси диффундируют из области высокой концентрации со скоростью, определяемой коэффициентом диффузии, то наибольшая концентрация примесей наблюдается у поверхности полупроводника. С увеличением расстояния от поверхности вглубь полупроводника концентрация примесей монотонно убывает.
Переход p-n возникает в области, где концентрация носителей заряда близка к той, которая имеется у материала без примеси (при собственной электропроводности). Ввиду неравномерного распределения примеси по толщине в области, полученной диффузией, имеется собственное электрическое поле.
Разница в значениях коэффициентов диффузии у разных материалов использована для одновременного получения двух областей с разным типом электропроводности. Так, для германия коэффициент диффузии донорных примесей на несколько порядков выше коэффициента диффузии акцепторных примесей, а в кремнии наблюдается обратная картина.
Поэтому, если пластину полупроводника поместить в высокотемпературную среду газа, содержащего пары как донорных, так и акцепторных примесей, атомы примесей с большим коэффициентом диффузии проникнут глубже внутрь полупроводника и создадут область с соответствующей электропроводностью. Атомы примесей с меньшим коэффициентом диффузии образуют вблизи поверхности полупроводника область с противоположным типом электропроводности. При этом необходимо, чтобы концентрация примесей с малым коэффициентом диффузии была значительно больше концентрации примеси с большим коэффициентом диффузии. Качество процесса диффузионного получения переходов во многом зависит от точности поддержания требуемой температуры. Например, при температуре 1000—12000 С изменение ее на несколько градусов может в два раза изменить коэффициент диффузии.
Двухстадийную (двухэтапную) диффузию применяют для уменьшения влияния изменения температуры на качество приборов, получаемых методом диффузии. В первой стадии на поверхности полупроводниковой пластины при сравнительно низкой температуре получают стеклообразный слой, содержащий легирующие примеси. Во второй — полупроводниковую пластину помещают в печь с более высокой температурой, при которой диффузия примесей происходит из стеклообразного слоя в глубь пластины, а на поверхности полупроводника остается диэлектрическая пленка оксида. Двухстадийный процесс диффузии часто используют при введении примесей бора в кремний. В качестве источника примесей используется борный ангидрид B2O3. Нагревая пластину и борный ангидрид в атмосфере водорода, на поверхности ее получают слой боросиликатного стекла. Нагрев пластины до более высокой температуры обеспечивает диффузию бора из слоя стекла внутрь пластины. При этом поверхность оказывается покрытой оксидом SiO2, который является диэлектриком. Таким образом, при двухстадийной диффузии осуществляется дозированно введение примесей из стеклообразного слоя в полупроводник.
Источники примесей для диффузионного легирования кремния
Современная тенденция в развитии солнечных элементов предполагает переход на полупроводниковые пластины все большего диаметра. Это позволяет увеличить коэффициент заполнения площади фотомодуля и снижает стоимость монтажа солнечной батареи. Кроме того, переходы, используемые в СЭ для формирования эмиттерной области, являются мелкими. Технология получения кремниевых солнечных элементов базируется на методах, разработанных в микроэлектронике – наиболее развитой промышленной технологии.
Традиционно мелкие переходы получали ионным легированием, которое характеризуется высокой однородностью и воспроизводимостью примесной дозы, а также чистотой процесса. Однако с переходом на пластины большого диаметра реализация мелких p – n переходов возможна лишь при использовании диффузионных методов легирования. Наибольшего распространения в микроэлектронике при производстве полупроводниковых приборов и микросхем получил метод диффузии в потоке газа-носителя (метод открытой трубы). Но данный метод при использовании пластин большого диаметра позволяет получать результаты, удовлетворяющие требованиям современной полупроводниковой технологии, только при значительном усложнении аппаратуры.
К основным источникам примесей относятся жидкие, газообразные, твердые, твердые планарные источники а также поверхностные источники. Газообразные, жидкие, твердые и твердые планарные источники объединяет то, что при их использовании применяется газовая система. К поверхностным источникам относятся источники на основе простых неорганических соединений, стеклообразные диффузанты, а также легированные окислы. Такие источники наносятся на полупроводниковую пластину кремния различными методами до проведения процесса диффузии. Важной особенностью применения поверхностных источников является возможность проведения процесса диффузии в атмосфере воздуха, что может существенно удешевить технологию производства кремниевых СЭ.
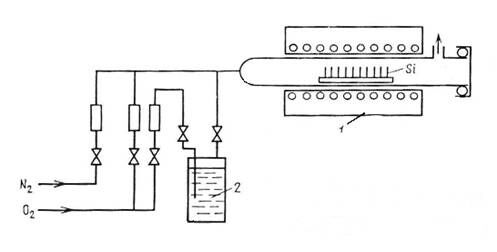
Твердые планарные источники (ТПИ)
При методе диффузии с использованием твердых планарных источников пластины кремния и ТПИ устанавливают в кварцевой кассете параллельно друг другу (рис. 5), вводят в реакционную зону диффузионной печи и выдерживают в ней заданное время. Газообразный окисел легирующего элемента, выделяющийся твердым источником, диффундирует к поверхности кремния и взаимодействует с ним с образованием слоя стекла, из которого происходит диффузия примесей вглубь пластины.

Рис. 5 Установка ТПИ и пластин кремния в кварцевой кассете: 1- кварцевая кассета; 2 - ТПИ; 3 - пластины кремния; 4 - пары P2O5.
Параметры диффузионных слоев определяются температурой и временем диффузии, а также давлением газообразного окисла легирующего элемента. Поскольку последний образуется непосредственно в реакционной зоне в результате физико-химических процессов, происходящих в материале источника при нагревании, параметры диффузии практически не зависят от скорости газа-носителя. Таким образом, способ диффузии с использованием ТПИ лишен основных недостатков методов с применением жидких и газообразных источников, а также твердых окислов легирующих элементов и имеет ряд существенных достоинств:
- высокая производительность за счет большой плотности загрузки пластин кремния и возможность использования всей рабочей зоны диффузионной печи;
- хорошая воспроизводимость параметров диффузионных слоев благодаря сведению к минимуму числа влияющих на них технологических факторов и простоте управления процессом;
- однородность уровня легирования по поверхности, что особенно существенно в связи с тенденцией перехода на пластины большого диаметра;
- простота используемого технологического оборудования;
- высокая экономичность.
Источники для диффузии бора
Твердые источники для диффузии бора создают в реакционной зоне пары B2O3, молекулы которой диффундируют к поверхности кремниевых пластин и взаимодействуют с кремнием:
2B2O3 + 3Si → 4B + 3SiO2.
Из образующегося слоя боросиликатного стекла происходит диффузия бора вглубь кремния.
Основным материалом для изготовления твердых источников бора является нитрид бора (BN). Благодаря физико-химическим и механическим свойствам BN твердые источники на его основе отличаются стабильностью и длительным сроком службы. Перед эксплуатацией ТПИ на основе BN окисляют с целью образования на его поверхности тонкого слоя B2O3, который при температурах диффузии (700 – 1250°С) находится в жидком состоянии. Переход B2O3 в газовую фазу происходит в результате испарения слоя.
Источники для диффузии фосфора
Твердые планарные источники фосфора при нагревании выделяют пятиокись фосфора (P2O5) в газовую фазу, молекулы которой диффундируют к поверхности кремниевых пластин и в результате реакции
2P2O5 + 5Si → 5SiO2 + 4P
образуют слой фосфоросиликатного стекла , из которого происходит диффузия фосфора в объем кремния.
В качестве ТПИ фосфора используется нитрид фосфора, фосфид кремния или материалы, содержащие P2O5 в связанном виде, которая выделяется при термическом разложении (метафосфат алюминия, пирофосфат кремния).
Жидкие источники
Суть метода диффузии из жидких источников заключается в следующем. Пластины кремния помещают в кварцевую трубу, находящуюся внутри нагретой однозонной печи. Через трубу пропускается поток газа-носителя, чаще всего азота или аргона, к которому добавляется примесь источника диффузанта, находящегося при обычных условиях в жидком состоянии. Кроме того, в газовую смесь на все время или на часть времени процесса добавляется некоторое количество кислорода. Метод в основном используется для диффузии бора и фосфора, причем в качестве источников диффузантов применяют такие вещества, как PCl3, POCl3, PBr3, BBr3 и борнометиловый эфир.

Рис. 6. Диффузия в потоке газа-носителя из жидкого источника: 1 – однозонная печь; 2 – жидкий источник.
Жидкие источники позволяют двухступенчато разбавлять пары потоком газа, проходящим через дозатор, и общим потоком, идущим непосредственно в кварцевую трубу. Схема диффузии при использовании жидкого источника диффузии представлена на рис. 6.
К преимуществам метода диффузии из жидких диффузантов следует отнести:
· простое осуществление и ненадобность второй высокотемпературной зоны
· осуществление процесса, напоминающего двухстадийную диффузию(не является ей, так как перед второй стадией с поверхности не удаляется фосфорно-силикатное или боро-силикатное стекло
· метод позволяет осуществить процесс в замкнутой системе и не требует частой смены источника.
Газообразные источники
Диффузия примесей в кремний может также осуществляться из газообразных источников – гидридов фосфора, бора и мышьяка – фосфина PH3, диборана B2H6 и арсина AsH3, а также из BCl3.
Схема установки для диффузии фосфора с использованием фосфина напоминает схему на рис. 6 с той разницей, что источником диффузанта служит не поток газа носителя, пробулькивающий или проходящий над жидким источником, а баллон, содержащий смесь PH3 и инертного газа, например аргона. В качестве газа-носителя может использоваться азот в смеси с кислородом.
По поводу методов диффузии из газообразных источников можно сделать одно общее замечание: при слишком малом содержании O2 в газовой смеси на поверхности могут образовываться трудно устранимые пленки.
Достоинства методов диффузии из газообразных диффузантов те же, что и в случае диффузии из жидких источников, и недостаток тот же – токсичность исходных диффузантов.
Твердые источники
Наиболее распространенными твердыми источниками диффузии бора в кремний являются окись бора B2O3 и борная кислота H3BO3 (обе в виде порошка), которые разлагаются при 200°С с образованием B2O3 и H2O. Эффективное испарение B2O3 начинается с 770 – 800°С, а максимальная температура, до которой обычно нагревают B2O3, равна 1200°С. Источник диффузанта необходимо вводить в печь медленно, чтобы предотвратить его вскипание и вытекание из контейнера и загрязнение самого реактора. Элементарный металлический бор обычно непригоден для диффузии в потоке газа из-за низкого давления его паров.
Диффузию бора в полупроводниковый материал с использованием борной кислоты проводят в открытой трубе в двухзонной печи или в контейнере в атмосфере воздуха. После проведения диффузии на поверхности полупроводниковых пластин образуются пленки, стойкие к кислотам и щелочам. После диффузии эту пленку удаляют механическим способом.
В качестве твердого источника фосфора обычно используется безводная пятиокись фосфора P2O5. Применяются и другие соединения, содержащие фосфор, например, фосфат аммония NH4H2PO4, однако конечной стадией в обоих случаях является взаимодействие паров P2O5 с поверхностью кремниевой подложки:
2 P2O5 + 5Si ⇄ 4P + 5SiO2.
Образующееся фосфоросиликатное стекло (ФСС) – жидкость при температуре диффузии.
Использование одно- и двухосновных фосфатов аммония требует более высоких, чем для P2O5, температур источника (450 – 900°С). Они также менее чувствительны к влаге, в этом их главное преимущество над P2O5 .
Элементарный красный фосфор применяется редко. Давление его паров непостоянно, поэтому воспроизводимость поверхностной концентрации низкая.

Рис.7 Диффузия в потоке газа-носителя из твердого источника
Наивысшей производительностью диффузия из твердых источников осуществляется в проточной системе (рис. 7). Этот способ диффузии осуществляется в инертной среде, благодаря чему параметры легирования не зависят от кинетики химической реакции, однако метод требует специальных печей (печей с двухзонным профилем температуры), а его воспроизводимость определяется распределением температур и скорости газа-носителя.
К недостаткам диффузии из раздельных твердых источников можно также отнести недостаточную воспроизводимость значений поверхностной концентрации из-за сложности точного поддержания концентрации паров источника и из-за изменения площади испарения при растекании источника, хорошо смачивающего поверхность контейнера. Кроме того, трудно получить низкие поверхностные концентрации и невозможно провести отжиг в чистой газовой атмосфере, так как пары источника на всем протяжении процесса находятся в газовой фазе.
Составление математической модели для расчета
глубины легирования
| x1 | x2 | x3 | x4 | y |
| 20 | 900 | 20 | 1000 | 1,08 |
| 30 | 925 | 30 | 1050 | 1,13 |
| 40 | 950 | 40 | 1080 | 1,26 |
| 50 | 980 | 50 | 1100 | 1,55 |
| 60 | 1000 | 60 | 1150 | 1,85 |
где x1 время диффузии на первом этапе, x2-температура на первом этапе, х3,х4-время и температура соответственно на втором этапе диффузии, у-выходной параметр, глубина диффузии.
= 1,374
Дисперсия воспроизводимости:
Дисперсия факторов:

|
|
|
|
|
| 40 | 951 | 40 | 1076 |
| Sx1 | Sx2 | Sx3 | Sx4 |
| 15,81 | 40,37 | 15,81 | 55,94 |
Коэффициенты уравнения регрессии:

| b1 | b2 | b3 | b4 |
| 0,0067 | -0,00096 | -0,0093 | 0,0057 |

Полученное уравнение регрессии:
у=-3,82+0,0067
Проверка модели на адекватность по критерию Фишера:
|
|
| 1,08 | 1,03 |
| 1,13 | 1,12 |
| 1,26 | 1,21 |
| 1,55 | 1,51 |
| 1,85 | 1,84 |


из чего следует вывод, что модель адекватна.
Расчет движения скорости ленты и передаточных
коэффициентов привода:
Одна печь имеет длину 1м. Заготовка должна находиться в ней не менее часа.
Скорость движения ленты

Уравнение баланса привода:
,
Где
– передаточные коэффициенты червячных передач,
-передаточный коэффициент двухпарной гитары
0,1667 об/мин

Погрешность
=0.3%
Заключение
В данном курсовом проекте были изучены этапы производства кремниевых солнечных коллекторов, а так же проведено сравнение методов диффузии. Был выбран метод диффузии распыление из твердого планарного источника, так как он имеет ряд преимуществ:
- высокая производительность за счет большой плотности загрузки пластин кремния и возможность использования всей рабочей зоны диффузионной печи;
- хорошая воспроизводимость параметров диффузионных слоев благодаря сведению к минимуму числа влияющих на них технологических факторов и простоте управления процессом;
- однородность уровня легирования по поверхности, что особенно существенно в связи с тенденцией перехода на пластины большого диаметра;
- простота используемого технологического оборудования;
- высокая экономичность.
Также было получено уравнение регрессии для расчета глубины двухстадийной диффузии и рассчитаны передаточные коэффициенты привода.
Список литературы:
Рекомендуем посмотреть лекцию "5 Кинематика зубчатых механизмов".
1. www.sovtest.ru
2. http://star-galaxy.ru
3. Гречаник В.А., Разработка источников диффузионного легирования для производства кремниевых солнечных элементов, 2003
4. Готра З.Ю., Осадчук В.В., Кучмий Г.Л., Диффузионное легирование в современной технологии кремниевых ИС , 1990
5. В. Г. Гусев, Ю. М. Гусев Электроника. М: Высшая школа, 1991
6. Исмаилов Т.А., Шангереева Б.А., Способ диффузии фосфора из твердого планарного источника, 2008
























