Центры коммутации сообщений
Тема 4.3 Центры коммутации сообщений
Структурная схема ЦКС. Обслуживание вызовов. Категории телеграмм. Форматы сообщений.
Центры коммутации сообщений
Для повышения надежности ЦКС содержит две параллельных ветви вычислительного комплекса. Ветви БК в зависимости от программы обеспечения могут работать в режиме параллельной и разделенной нагрузки. В режиме параллельной нагрузки каждая поступающая телеграмма обрабатывается параллельно в каждой ветви. После анализа качества прохождения телеграммы через каждую ветвь производиться передача ее в канал связи под управлением той ЭВМ, которая в данный момент является ведущей. В случае выхода из строя одной из ветвей технологическим процессом управляет одна ЭВМ.
В режиме разделенной нагрузки (РН) в ЦКС-Т (РН) функционируют две равнозначные ветви, каждая из которых включает одну ЭВМ, свои ВЗУ и устройства ввода-вывода. Обмен информацией между обеими ЭВМ осуществляется через два адаптера «канал-канал». При этом каждая из ЭВМ имеет возможность доступа к любому из накопителей на лентах или дисках. Аппаратура сопряжения также дублируется.
Одна из ЭВМ ЦКС-Т РН является «ведущей», вторая – «ведомой». Первая обеспечивает выполнение всех основных операций по управлению процессами коммутации, вторая функционирует в соответствии с командами первой. Нагрузка обрабатывается каждой из ЭВМ независимо. Если одна из ЭВМ по какой-либо причине прекращает функционировать, все операции по обработке полного потока телеграмм принимает на себя вторая ЭВМ.
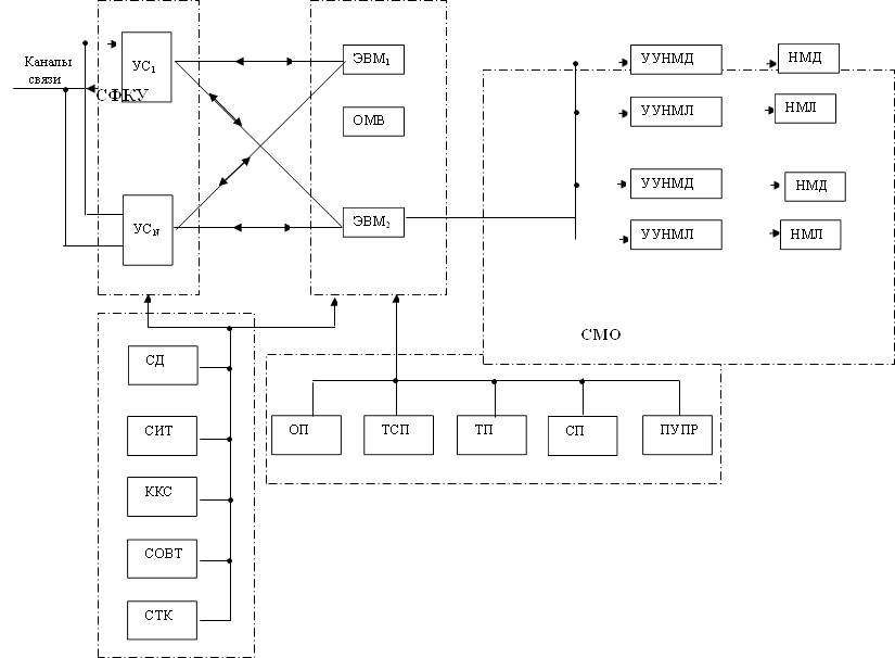
Структурная схема центра коммутации сообщений
ЦКС построены на основе технических средств единой серии ЭВМ и предназначены для автоматизации процесса обработки телеграмм в сети общего пользования и улучшения её качественных показателей. В ЦКС может применяться параллельная, либо раздельная обработка сообщений. При параллельной обработке одна из ветвей оборудования является рабочей, и информация по каналу связи поступает только с этой ветви. Другая ветвь центра является резервной – она работает в синхронном режиме с рабочей, но выдачу сообщений не производит. Смена состояния ветвей осуществляется либо автоматическим, либо по команде обслуги персонала станции. Раздельная обработка сообщений предполагает, что команда из ветвей обслуживает свою группу каналов связи. В случае необходимости каждая из ветвей может взять всю нагрузку станции. Функциональная схема ЦКС содержит:
Рекомендуемые материалы
УС – устройство сопряжения,
ВК – вычислительный комплекс,
ВЗУ – внешнее ЗУ,
СФКУ – служба функционального контроля и управления,
СМО – система математического обеспечения.
УС предназначено для сопряжения телеграфных каналов с каналами связи, формирования передачи и приёма знаков или блоков сообщения из ЭВМ и выдачи в каналы связи. Отдельные ветви УС могут работать либо параллельно, либо раздельно с двумя ЭВМ станции.
ВК – состоит из двух ЭВМ и ОМВ – оборудования межмашинного взаимодействия. ВК предназначен для накопления, анализа и обработки информации, коммутации её по требуемому адресу и организации процесса хранения в текущем и долговременном архивах.
![]() | |||||||||
![]() | |||||||||
![]() | |||||||||
![]() | |||||||||
![]() |
Рисунок. Структурная схема ЦКС
ОМВ – предназначена для обеспечения параллельной работы двух ЭВМ. Каждая ЭВМ содержит:
- процессор, для выполнения всех арифметических и логических операций;
- ОЗУ, для приёма, хранения и выдачи информации;
- мультиплексорный канал, осуществляющий взаимодействие между ОЗУ и УВВ.
- селекторные каналы, с помощью которых осуществляется взаимообмен информации между ОЗУ и ВЗУ.
В состав ВК входят также: печатающая машина, алфавитно- цифровое печатающее устройство, устройство ввода-вывода перфокарт.
ВЗУ – предназначено для хранения больших массивов информации, ввода данных, требуемых для обработки и вывода результатов этой обработки. В качестве ВЗУ используются НМД и НМЛ.
СМО – предназначена для реализации на ВК задач коммутации сообщений с обеспечением требуемых качеств, показателей по обработке сообщений и высокой надёжности работы оборудования. Она состоит из набора программ, которые в зависимости от выполняемых функций делятся:
ОП - организующие программы;
ТП – технические программы;
ПУПР – программы управления параллельной работой ЭВМ;
ТСП – тестовые программы;
СП – сервисные программы;
СФКУ предназначена для обеспечения контроля и выполнения требований общей и техническогй эксплуатации в УКС. В состав СФКУ входят:
СД – секция диспетчера,
СИТ – секция индексации телеграмм,
СОВТ – контрольно-справочная служба,
СТК – секция технического контроля.
Алгоритм взаимодействия с оконечным пунктом, с сетью коммутации каналов, ЦКС-ЦКС.
Взаимодействие ЦКС-ЦКС осуществляется в режиме одновременной передачи. Если канал находиться в рабочем состоянии, ЦКС проверяет формат сообщения, предзаголовок и содержание. При обнаружении неправильного формата, а также ошибок в предзаголовке и тексте ЦКС направляет смежному ЦКС-Т запрос и приводит канал в состояние восстановления связи. При получении подтверждения, что смежный канал принял запрос, данный ЦКС-Т переводит канал связи вновь в рабочее состояние.
Смежный ЦКС-Т повторяет передачу искаженного сообщения. Если подтверждение приема запроса не поступило в данный ЦКС-Т в течение контрольного срока, канал переводиться в состояние диспетчерской блокировки. В этом режиме данный ЦКС-Т не принимает поступающие сообщения. Для перевода канала вновь в рабочее состояние должны быть предусмотрены специальные процедуры, например, вмешательство оператора или автоматическая передача запроса через определенное время.
Взаимодействие ЦКС-СКК-ОП осуществляется следующим образом. ЦКС-Т связаны СКК раздельными (исходящими и входящими) пучками 50-Бодных каналов. Максимальное количество каналов в пучке до 50. В СКК направление от ЦКС кроссируется как направление от регистровой станции. Телеграммы из ЦКС-Т (кроме телеграмм категории срочности Р, категорий обработки К, В и циркулярной передачи) направляются по коммутируемым связям, т.е. ЦКС-Т осуществляет набор номера направляемый в СКК, СКК осуществляет соединение с требуемым ОП.
При получении отказа ЦКС-Т может делать несколько попыток набора номера для соединения через равные промежутки в течение определенного периода времени (зависящего от контрольного срока обработки телеграмм данной категории). При установлении соединения происходит обмен автоответами (АО). Причем к последнему АО присоединяются реквизиты телеграммы, необходимые при ее поиске.
Направление к ЦКС-Т кроссируется в СКК как внезональное. Оператор ОП для установления соединения с ЦКС-Т набирает тот же шестизначный номер, который должен быть указан в предзаголовке телеграммы. Им предоставляется возможность за одно соединение с ЦКС-Т передать серию телеграмм (не более 5). При этом каждой телеграмме в серии предшествует АО ОП и ЦКС-Т и завершают ее также эти АО. К АО ЦКС-Т, передаваемому после приема телеграммы, добавляют ее реквизиты.
Форматы сообщений
Одним из показателей работы ЦКС является применение стандартных форматов сообщений. Формат сообщения – формализованное расположение отдельных его элементов, позволяющих осуществлять его автоматическую обработку. Формат сообщения при передаче из ОП в ЦКС:
3Ц3Ц ® 002 ® АП 008 ® 837 ® Ð º
заголовок телеграмм Ð º
текст телеграммы НННН ® ®
В первой стоке подзаголовка телеграммы проставляются: признак начала телеграммы 3Ц3Ц; её порядковый номер 002, под которым она передаётся из ОП в ЦКС; категория срочности А; категория обработки П; магистральный индекс 008; низовой индекс пункта назначения 837; конец предзаголовка Ð º .
Во второй строке располагается заголовок телеграммы и конец заголовка.
В третьей строке текст телеграммы и признак конца сообщения НННН.
Порядковый номер изменяется циклически от 001 до 999. Телеграммы имеют 5 категорий срочности:
Р – внекатегорийная,
А – авиателеграмма,
С – срочная,
П – простая,
Б – праздничная (поздравительная).
Телеграммы имеют 4 категории обработки:
К – криптограмма (зашифрованная),
В – особо важная (правительственная),
П – переводная (денежный перевод),
Ц – циркулярная (сразу во все ОП).
Магистральный индекс определяет зону, а низовой индекс 837 пункт (отделение связи) приёма телеграммы.
В формате телеграммы, исходящей из ЦКС, формируются справочные данные ЦКС, в который впервые поступила телеграмма. В справочных данных проставляется: индекс ЦКС, куда впервые поступила телеграмма, эксплуатационный номер канала, по которому поступила телеграмма в ЦКС, порядковый номер, дата приёма, время приёма. После признака конца телеграммы ЦКС проставляет время передачи её в ОП. В подзаголовке перед концом проставляется цифра количества переприёмов. Каждый ЦКС, через который проходит телеграмма, прибавляет 1.
Обработка телеграмм в ЦКС
Приём сообщений. Последовательные телеграфные символы, поступающие в АС из каналов связи в коде МТК-2, преобразуются в телеграфные знаки, которые накапливаются в индивидуальных регистрах накопления. Знаки формируются методом сканирования средней части посылок. Аппаратура сопряжения, с помощью мультиплексного канала, параллельным кодом передаёт знаки в ОЗУ (2 буфера). Буферы работают поочерёдно: пока происходит заполнение одного , другой обрабатывает заказы. Каждому знаку в буфере выделена ячейка (2 байта). Из поступивших в буфер знаков формируются блоки сообщений по 59 знаком в каждом.
СКС заканчивает приём сообщения при получении условных знаков конца сообщения.
Обработка сообщений. После приёма знака конца предзаголовка производится анализ предзаголовка по формату и содержанию в соответствии с алгоритмом. При обнаружении искажений СКС не принимает дальше сообщение, аннулирует полученную часть и выдаёт в канал связи служебное извещение.
Каждому сообщению в ОЗУ выделяется строка в таблице сообщений, равной 32 байтам. В неё записываются все необходимые данные для обработки: номер канала, маршрутный индекс, длина сообщения, адрес его в ОЗУ.
В соответствии с маршрутным индексом сообщение ставится в очередь на направление выдачи.
Составление архивов телеграфных сообщений. Архивы телеграфных сообщений составляются для обеспечения автоматического повтора текстов и последних телеграмм и хранения текстов телеграмм в течение определённого времени.
В СКС предусмотрен текущий архив текстов телеграмм, а также хранимый архив.
Каждому сообщению после его приёма присваивается станционный номер, и сообщение записывается на НМД. Переданные в каналы связи телеграммы остаются до его заполнения. Затем содержимое текущего архива переписывается на НМЛ. Магнитная лента, снятая с НМЛ, хранится установленное время в КСС.
Передача сообщений. Перед непосредственной выдачей сообщения из СКС происходит подготовка его к выдаче. Она осуществляется для первого в очереди сообщения при наличии свободного канала. Подготовка к выдаче предусматривает:
- считывание его с НМД,
- формирование служебных извещений,
- формирование предзаголовка и знаков конца телеграммы,
- подготовку необходимой информации для пересылки знаков в буфер выдачи.
В ОЗУ для каждого модуля АС выделено 2 буфера. Выдача из ОЗУ знаков в АС производится по команде из программы. Информация в каналы выдаётся синхронно, после заполнения регистров. При передаче сообщения АС осуществляет обратное преобразование знаков в последовательность телеграфных посылок. После выдачи сообщения в исходящем журнале формируется запись по выходным данным. После этого информация о выданном сообщении стирается из ТС, освобождая ОЗУ.
Меры по сохранности информации. Сохранность имеющейся в СКС информации обуславливается надёжным функционированием станции. Надёжное функционирование станции зависит от безотказной работы оборудования, способности станции сохранять работоспособность при сбоях и перегрузках.
Надёжное функционирование оборудования обеспечивается наличием 2-х ветвей и соответствующими программными средствами.
К специальным мерам по сохранности информации относятся:
- применение метода слежения за последовательностью нумерации всех сообщений;
- наличие дополнительного внутрицентрового номера;
- защиту таблиц коммутации и других массивов от повреждения.
Вопросы для самоконтроля
1. Перечислите основные эксплуатационно-технические характеристики ЦКС.
Бесплатная лекция: "Лекция 14. Система проектирования MAX-PLUS II" также доступна.
2. В чем отличие режимов параллельной и разделенной нагрузки?
3. Поясните функциональную схему ЦКС
4. Изложите основные этапы обработки телеграмм в ЦКС.
5. Поясните структурную схему вычислительного комплекса.
6. Алгоритм взаимодействия с оконечным пунктом, с сетью коммутации каналов, ЦКС-ЦКС.
7. Поясните формат сообщения при передаче из ОП в ЦКС.


























