Аварии и неполадки систем парораспределения, автоматического регулирования и защиты
3.4. Аварии и неполадки систем парораспределения, автоматического регулирования и защиты
Несмотря на то, что к системам парораспределения, регулирования и защиты предъявляются самые высокие требования, детали и элементы этих систем являются одними из самых аварийных: примерно одна треть вынужденных остановок, связанных с работой турбины, происходит по вине этих систем.
Неполадки и повреждения в перечисленных системах ведут в лучшем случае к немедленной остановке турбины, а в худшем – к ее разрушению.
Пример 3.8. В качестве примера тяжелой аварии из–за неполадок в системе регулирования приведем случай, происшедший на одной из ТЭС Англии с двухцилиндровой турбиной мощностью 60 МВт на параметры свежего пара 6,3 МПа и 482 ºС на частоту вращения 50 1/с. В результате аварии два человека погибли, а девять – были ранены. ЦНД турбины был полностью разрушен: 11 из 12 рабочих дисков отделились от вала, а сам вал был сломан в четырех местах. Детали и куски ротора ЦНД при аварии разлетелись с такой силой, что поврежденными оказались крыша и стены машинного зала, а также подкрановые пути. Диск последней ступени был найден в 135 м от турбины. Поломанными оказались и два других ротора: ротор ЦВД – в зоне заднего уплотнения, а ротор генератора разделился на отдельные части, заполнившие статор.
Причиной аварии послужило образование в масляной системе окиси железа, которая проникала в сервомоторы стопорных и регулирующих клапанов и оседала на их стенках и поршнях, уменьшая зазоры между ними. Поводом для развития аварии явилось ошибочное отключение возбудителя генератора, что при нормальном состоянии системы регулирования должно было привести к переводу турбогенератора на режим холостого хода. Однако уменьшившиеся зазоры между поршнями сервомоторов и их цилиндрами создали большую силу трения, что вызвало задержку в закрытии регулирующих и стопорных клапанов и разгон турбины до частоты 83 1/с при номинальной частоте вращения 50 1/с. Вследствие разгона и произошло разрушение турбины.
Неполадки и разрушения могут возникать в самых различных элементах и узлах: в исполнительных органах регулирования и защиты, передаточном механизме, сервомоторах, золотниках, регуляторах частоты вращения, давления и т.д.
3.4.1. Аварии регулирующих и стопорных клапанов
Наиболее частая причина вынужденных отказов из–за органов парораспределения – обрыв штоков клапанов, который происходит вследствие усталости металла, вызываемой вибрацией клапана под действием возмущающих сил, действующих на клапан.
Считается, что основной причиной вибрации клапанов является нестационарное течение пара между клапаном и его седлом, вызывающее автоколебательное движение клапана вдоль его оси. Второй причиной является пульсация давления пара, поступающего к клапану, которая вызывает в штоке переменные напряжения изгиба. Суммарное действие этих двух причин и приводит к поломкам штоков.
Рекомендуемые материалы
Другим очень опасным видом дефектов штока клапана является его изгиб, который не позволяет в нужный, часто критический момент закрыть клапан с достаточной плотностью. Подобному зависанию клапанов способствует отложение на штоке солей и окислов, уменьшающих зазоры и увеличивающих силы трения, особенно при изогнутом штоке. Например, исследование состояния паровпускных органов на одной из турбин обнаружило на штоках отложения толщиной до 0,3 мм.
Распространенной мерой борьбы с заеданиями штоков клапанов из–за отложений является увеличение зазора между штоком и втулкой путем расточки последней. Такая мера позволяет одновременно уменьшить и влияние изгиба штока, вызванного неудовлетворительным качеством изготовления. Однако она должна рассматриваться только как временная, поскольку она устраняет не причину дефекта (плохое качество пара), а ее последствия. Увеличение зазора приводит к росту утечки пара вдоль штока и снижению экономичности турбоустановки.
Наряду с уменьшением зазора между штоком и втулкой из–за отложений, может происходить и его увеличение за счет эрозионного износа штока. Износ уменьшает его сечение и ослабляет его сопротивление вибрационным поломкам.
Одной из причин вынужденных остановок является выпрессовка седел из корпуса клапана под действием тех же нестационарных возмущающих сил, которые действуют и на клапан. Способствует этому слабое закрепление седла в корпусе.
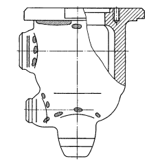
Серьезными проблемами являются прочность корпусов стопорных и регулирующих клапанов и их плотность. Прежде всего это связано с крайне неблагоприятными условиями работы при высоких давлении и температуре, быстро изменяющихся во времени. В этих условиях, как показывает опыт эксплуатации, в корпусах клапанов появляются трещины, размер которых постоянно увеличивается и грозит разрывом корпуса клапана. На рис. 3.5 показаны характерные места появления трещин в стопорных клапанах: трещины возникают, как правило, в местах переходов стенок во фланцы (подфланцевая зона) и сопряжения патрубков со стенками корпусов. Именно в этих зонах возникают максимальные напряжения как от действия давления, так и от разности температур смежных элементов.

Рис. 3.5. Места появления трещин в корпусе стопорного клапана
Появление трещин в корпусах стопорных и регулирующих клапанов происходит по следующим причинам:
1) вследствие некачественного материала корпусов. Корпуса изготовляют в основном литьем, качество которого ниже, чем кованого материала. При отливке в материале образуются раковины, пустоты, неметаллические включения и т.д., которые являются концентраторами напряжений, вызывающими появление трещин через определенное время:
2) вследствие ползучести под действием высоких температур и давлений. О действии этой причины свидетельствует тот факт, что массовое образование трещин в корпусах стопорных и регулирующих клапанов начинается часто после 90–100 тыс. ч эксплуатации;
3) вследствие циклически повторяющихся температурных напряжений, вызывающих в металле явление термической усталости.
Опыт эксплуатации и статистика разрушений показывают, что работа турбины в условиях частых и быстрых пусков и резких изменений нагрузки приводит к более интенсивному образованию и росту трещин.
Появление высоких температурных напряжений в корпусах клапанов связано с быстрыми изменениями температуры среды, протекающей через клапан. В результате этого корпус клапана прогревается неравномерно и по толщине стенки, и вдоль нее.
Особенно большие разности температур образуются между крышкой клапана и его крышкой (рис. 3.6), между крышкой клапана и удерживающими ее шпильками. Быстрый прогрев корпуса относительно крышки и быстрый прогрев крышки относительно шпилек вызывает в них значительные дополнительные напряжения, приводящие в ряде случаев к обрыву шпилек.

Рис. 3.6. Короб обогрева крышки стопорного клапана
Для уменьшения температурных напряжений, возникающих в корпусах клапанов при пуске, тщательно продумывают их форму с тем, чтобы избежать смежных элементов резко различной толщины; фланцы корпусов (рис. 3.6) делают по возможности уже, а переходы к стенке выполняют большим радиусом. До пуска самой турбины часто предварительно прогревают клапаны с небольшой скоростью. На рис. 3.6 показан кожух, приваренный к крышке стопорного клапана по предложению ВТИ; в кожух перед пуском подается горячий пар для предварительного прогрева крышки.
В не менее сложных условиях находятся переходные патрубки от регулирующих клапанов к турбине, особенно в зоне прилегания к клапану. Это связано с тем, что резкие перемещения чашки клапана приводят к резкому изменению температуры пара за ним из–за дросселирования, что немедленно сказывается на температуре внутренней поверхности переходного патрубка. Поэтому непосредственно за диффузором клапана устанавливают тепловые экраны, предохраняющие стенку переходного патрубка от резких смен температуры – тепловых ударов (например, при полном сбросе нагрузки в турбине Т–250/300–23,5 ТМЗ температура за регулирующим клапаном изменяется на 100 ºC и более). Несмотря на кажущуюся простоту конструкции экрана, условия его работы очень тяжелы, и в практике эксплуатации были случаи разрушения экранов из-за термической усталости. При этом куски разрушенного экрана попадают в проточную часть, вызывая ее разрушение.
Пример 3.9. В период освоения на двух турбинах было всего два случая разрушения тепловых экранов, однако вызванный ими простой составил 5287 ч. Разрушения тепловых экранов произошли из–за неправильной технологии наварки центрирующих бобышек, при которой возникали трещины, и из–за температурных ударов, при подключениях второго корпуса котла.
3.4.2. Аварии передаточных механизмов
Надежная работа механизма, передающего движение от штока сервомотора к штоку клапана, имеет столь же большое значение, как и самого клапана. Вместе с тем оптимальная работа этого механизма в ряде случаев не обеспечивается.
В стремлении выполнить передаточный механизм с малой нечувствительностью конструктор использует в нем большое число подшипников качения, а также зубчатые передачи с малыми зазорами. Вместе с тем условия работы передаточного механизма тяжелы не только потому, что он должен передавать на клапан большие усилия, но и потому, что он расположен в области высоких и, главное, неравномерных температур. Неравномерное распределение температур в передаточном механизме приводит к неравномерным тепловым деформациям его элементов и рычагов, что ведет к перераспределению нагрузок на подшипники, их деформации и нарушению работы механизма.
Нарушение работы прежде всего сказывается на увеличении степени нечувствительности системы регулирования и, следовательно, на увеличении степени самопроизвольных колебаний нагрузки.
Длительная работа механизма в ненормальных условиях приводит к заеданиям подшипников качения и их разрушению. Иногда последствия заклинивания передаточного механизма более серьезны. Однажды вследствие заклинивания распределительного кулачкового вала произошло заклинивание рейки, передающей движение от сервомотора на распределительный вал, в результате чего оборвался шток главного сервомотора.
3.4.3. Аварии сервомоторов, регуляторов частоты вращения и
других элементов системы регулирования и защиты
Наибольшее число неполадок в работе элементов систем регулирования возникает вследствие использования некачественного масла или другой рабочей жидкости. Загрязнение рабочей жидкости продуктами коррозии, шламом, продуктами разрушения элементов системы, например, элементами пластинчатых фильтров, приводит к качаниям нагрузки на турбинах, а иногда к самопроизвольному закрытию стопорных и регулирующих клапанов. Особенно к этому чувствительны системы регулирования, работающие на конденсате, окислительная способность которого больше, а требуемые зазоры в элементах системы регулирования меньше, чем в системах, работающих на масле.
Частым дефектом сервомоторов является износ уплотнений поршня. При разуплотнении поршня увеличивается утечка силовой рабочей жидкости в сервомоторе, что приводит к падению давления в системе регулирования и срабатыванию защиты. Кроме того, при этом, конечно, изменяется настройка системы регулирования (статическая характеристика).
Контрольные вопросы
1. Назовите причины прогибов диафрагм.
2. Турбоагрегат проработал 100 тыс. ч при практически постоянной номинальной нагрузке. При последнем капитальном ремонте обнаружены трещины в корпусе. Что является наиболее вероятной причиной их появления?
Если Вам понравилась эта лекция, то понравится и эта - 5 Особенности Римской республиканской государственности.
3. На электростанции установлены две одинаковые турбины, одна из которых работает в базовом режиме, а другая – с ежесуточными остановками на ночь. В корпусе последней турбины после 3 лет работы обнаружены трещины, в то время как в первой турбине трещин нет. Что может быть наиболее вероятной причиной появления этих трещин?
4. При вскрытии корпуса турбины всякий раз обнаруживалось коробление фланцевого разъема, носившего, однако, затухающий характер: после пятого вскрытия оно было очень малым. Что было причиной коробления?
5. Турбина, спроектированная на высокие начальные параметры пара, проработала в базовом режиме около 5 лет без вскрытия. При очередном капитальном ремонте обнаружены сильные коробления корпуса и большой остаточный прогиб диафрагмы. Что явилось причиной этих явлений?
6. Назовите причины заеданий штоков клапанов.
7. Почему при нарушении уплотнений поршней сервомоторов возможна самопроизвольная остановка турбины?
8. К каким последствиям приводит релаксация напряжения в шпильках фланцевого разъема?





















