Термические печи проходного типа
Лекция 12
План лекции:
Конструкції та теплові режими печей.
Термічні печі прохідного типу. Конвеєрна піч. Роликова піч. Протяжна піч. Приблизні матеріальні і теплові баланси термічних печей прохідного типу. Заходи щодо скорочення витрати палива в прохідних термічних печах.
9.7 Термические печи проходного типа
Проходная термическая печь по принципу работы соответствует нагревательной проходной печи, но в силу некоторых причин для нагрева металла под деформацию не используется.
Основные типы узкоспециализированных проходных термических печей: конвейерная печь, роликовая печь и протяжная печь. Из этих печей конвейерная и роликовая печь могут быть применены для нагрева металла, но не используются по экономическим соображениям, т.к. имеют большие потери теплоты с транспортирующими устройствами (конвейер и ролики охлаждаются: конвейер – на воздухе, а ролики – водой или воздухом), а элементы конвейера и ролики имеют низкую стойкость при высоких температурах.
С другой стороны, обычные нагревательные печи (печи с шагающим подом, кольцевые печи, секционные печи и др.) используются при термической обработке металла с некоторыми изменениями в конструкции, такими, как замена горелок, исключение контакта металла с факелом, повышение герметичности кладки и т.п.
9.7.1 Конвейерная печь. Приблизительные материальные и тепловые балансы. Мероприятия по снижению расхода топлива
Конвейерная печь – печь, снабжённая внутренним конвейером (ленточным, люлечным, цепным, скребковым), перемещающим нагреваемые изделия от загрузочного отверстия печи к выгрузочному. В металлургии конвейерная печь чаще всего имеет цепной конвейер. Металл в такой печи нагревается до температуры 850¸900 °С и реже до 1000-1050 °C. Эта температура ограничена сверху стойкостью конвейерной цепи и определяется маркой стали цепи.
Круговое движение цепи происходит за счёт зубчатых колёс (звёздочек), расположенных в противоположных концах печи за пределами рабочего пространства.
В качестве примера на рис. 9.17 показана конвейерная печь. Особенности печи: а) нагрев и изотермическая выдержка рельсов; б) наличие инжекционных горелок в подподовых каналах; в) плоский подвесной свод; г) прямо-противоточный режим работы.
Рекомендуемые материалы
Печь работает следующим образом. Рельсы длиной 25 метров подаются рольгангом к торцу загрузки (на рис. 9.17 – справа) и передаются с рольганга на цепной конвейер. Проходя первую половину печи, рельсы нагреваются движущимися навстречу продуктами сгорания топлива до 450‑600 °С. Во второй половине печи продукты горения движутся в одном направлении с металлом и таким образом поддерживается достигнутая температура металла. При выходе из печи рельс передаётся с цепного конвейера на отводящий рольганг.
Продукты горения образуются от сжигания топлива в подподовых топках с использованием инжекционных горелок. По длине печи имеются две топки, а по ширине печи – около 15 топок. Соответственно длина печи около 13 метров, а ширина около 27 метров. Дым поступает в рабочее пространство печи через специальные отверстия в сводиках подподовых топок, омывает рельсы, двигающиеся на конвейере, и через металлические дымоотводы окна посада и окна выдачи удаляются на дымовую трубу. Дым не используется для подогрева воздуха и газа. Печь отапливается коксодоменной смесью с теплотой сгорания 5500 кДж/м3.

Рис. 9.17 – Схема конвейерной печи:
1 ‑ газопровод; 2 ‑ горелка; 3 ‑ отводящий рольганг; 4 ‑ дымоотбор; 5 ‑ держатели подвесного свода; 6 ‑ дымовой канал; 7 ‑ рабочая площадка; 8 ‑ смотровое окно; 9 ‑ отверстия в своде подподовой топки; 10 ‑ подподовая топка; 11 ‑ подводящий рольганг; 12 ‑ привод; 13 ‑ цепь; 14 ‑ канал для возврата цепи
Недостатки конвейерной печи: 1) большой вынос теплоты из рабочего пространства элементами цепи; 2) низкая стойкость цепи; 3) неравномерный прогрев металла в месте контакта с цепью.
Ориентировочный тепловой баланс конвейерной печи приведен в табл. 9.10. Баланс составлен для случая нагрева перед закалкой полосовых заготовок толщиной 10 мм. Печь оборудована цепным конвейером, имеет 3 зоны отопления, длина печи 9 метров. Производительность 2 т/час. Температура нагрева металла 890 °C. Защитная атмосфера отсутствует.
Таблица 9.10 – Ориентировочный тепловой баланс конвейерной печи (на 1 кг нагретого металла)
| Приход |
| % | Расход |
| % |
| 1. Химическая энергия топлива | 1975 | 91,3 | 1. Физическая теплота нагретого металла (t = 890 °С) | 596 | 27,5 |
| 2. Физическая теплота цепного конвейера (t = 300 °С) | 165 | 7,6 | 2. Физическая теплота продуктов горения топлива (t = 800 °С) | 699 | 32,4 |
| 3. Физическая теплота воздуха для горения (t = 20 °С) | 14 | 0,6 | 3. Физическая теплота цепного конвейера (t = 890 °С) | 596 | 27,5 |
| 4. Физическая теплота металла (t = 20 °С) | 10 | 0,5 | 4. Потери теплоты теплопроводностью через кладку | 195 | 9,0 |
| 5. Физическая теплота топлива (t = 20 °С) | 1 | 0,0 | 5. Прочие потери теплоты | 79 | 3,6 |
| Итого | 2165 | 100,0 | Итого | 2165 | 100,0 |
В данном примере удельный расход условного топлива составил 1975/29,3 = 67 кг у.т./т металла. В целом удельный расход условного топлива в конвейерной печи находится в широких пределах и зависит от отношения массы нагреваемого металла к массе транспортирующих устройств, а также от температуры нагрева металла. Чем выше это отношение масс и чем ниже температура нагрева, тем ниже расход топлива. Так, низкие расходы топлива имеют печи для изотермической выдержки массивных рельсов при температуре 450-600 °С: всего 30-35 кг у.т./т металла. При термообработке легковесных изделий при высокой температуре расход топлива может составлять 100-115 кг у.т./т металла.
Для сокращения расхода топлива в конвейерной печи можно рекомендовать следующее:
1. применение менее массивных цепей из жаростойких сталей с хорошей стойкостью против трения;
2. использование теплоты нагретых цепей для подогрева воздуха, например, путём забора вентилятором воздуха из нижних каналов для возврата цепей;
3. установку газоплотного рекуператора для подогрева топлива теплотой дымовых газов;
4. интенсификацию конвективного теплообмена в рабочем пространстве печи путём организации рециркуляции дымовых газов.
9.7.2 Роликовая печь. Приблизительные материальные и тепловые балансы. Мероприятия по снижению расхода топлива
Роликовая печь – проходная печь непрерывного действия, подина которой состоит из большого числа вращаемых специальным приводом роликов, выполненных из жаропрочной стали или водоохлаждаемых. Роликовые печи отапливаются, главным образом, газообразным топливом с использованием большого числа горелок или радиационных труб, расположенных на продольных стенах печи выше и ниже роликов; существуют также электрические печи. Роликовые печи применяют для термической обработки металлических изделий и, реже, для нагрева металла перед горячей обработкой давлением.
Преимущество роликовой печи перед другими печами проходного типа одно: роликовая подина наилучшим образом соответствует условиям поточного производства, т.к. она легко встраивается в цеховые рольганги.
Самым ответственным элементом роликовой печи являются ролики. Их стойкость зависит от температуры в печи и ширины печи. Печи с температурой газа 800-1000 °С оснащают неохлаждаемыми роликами, а с температурой 1000-1200 °С – роликами с водоохлаждаемым несущим валом, пространство между которым и бочкой заполнено теплоизолятором. В любом случае в роликах охлаждают цапфы (для справки: цапфа – часть оси или вала, опирающаяся на подшипник). В подавляющем большинстве случаев ролики делают водоохлаждаемыми, с гладкой бочкой из жаропрочной хромоникелевой стали. Во избежание деформации бочки ролика, он должен вращаться постоянно, – остановки допустимы не дольше, чем на 3-4 минуты.
Кладка рабочего пространства печи выполняется из шамотного кирпича (внутренний слой) и любого теплоизоляционного материала (наружный слой).
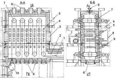
Пример роликовой печи приведён на рис. 9.18. Печь предназначена для нагрева под закалку листов, пачек листов и сортового проката. Габариты рабочего пространства 2´2´20 метров. В отличие от обычных конструкций термических печей, в данной конструкции горелки создают факел прямо в рабочем пространстве, т.е. отсутствуют форкамеры, радиационные трубы и подподовые топки. Такая конструкция больше подходит для нагрева металла перед деформацией, но в отдельных случаях с особой осторожностью может использоваться и для сложной термообработки типа отжиг. Потенциальные возможности данной печи для проведения качественной изотермической выдержки заложены в двустороннем по длине печи дымоотборе и организации прямо-противоточного режима тепловой обработки металла в среде продуктов горения.
Печь работает следующим образом. Металл для термообработки поступает на приёмный стол прямо с рольганга, если печь встроена в технологическую линию, или подаётся краном (например, пачки листов). Заслонка торца посада открывается и металл заходит в печь в дополнение к имеющейся садке; заслонка опускается. Металл постепенно проходит по постоянно вращающимся роликам и нагревается до необходимой температуры (1150 °С). Благодаря боковому расположению горелок, возможен не только простой нагрев под закалку (нормализацию) или высокий отпуск, но и более сложный изотермический отжиг (нагрев до 750-800 °С, выдержка, охлаждение до 600-700 °С, выдержка).
После завершения термообработки готовый металл выдаётся на рольганг выдачи, соединённый с камерой ускоренного водяного охлаждения (закалка). Таким образом, печь постоянно пополняется холодным металлом и постепенно выдаёт нагретый металл.

Рис. 9.18 – Схема роликовой печи:
1 ‑ приёмный стол; 2 ‑ механизм подъёма заслонки; 3 ‑ площадка для обслуживания термопар; 4 ‑ горелки; 5 ‑ ролики; 6 ‑ отверстия для термопар; 7 ‑ дымовой боров; 8 ‑ подвод и отвод охлаждающей воды; 9 ‑ устройство для вращения роликов
Продукты горения топлива образуются непосредственно в рабочем пространстве печи от работы двухпроводных пламенных горелок. Приблизительно до середины печи дым идёт навстречу металлу (в противотоке), а далее в прямотоке. Дым удаляется из печи вниз по вертикальным каналам в районе торцов печи, далее соединяется в единый поток, проходит рекуператор для подогрева воздуха и через дымовую трубу выбрасывается в атмосферу.
Ориентировочный тепловой баланс роликовой печи приведен в табл. 9.11. При составлении баланса приняты следующие исходные данные: а) нормализация труб диаметром 42 мм, объединенных в пакеты; б) производительность печи 24 т/час; в) нагрев металла от 20 до 950 °С в трех зонах регулирования в течение 0,117 часа; г) двусторонний нагрев металла в атмосфере защитного газа тупиковыми радиационными трубами диаметром 152 мм; д) из водоохлаждаемых элементов в роликах присутствуют только цапфы.
В данном примере удельный расход условного топлива составляет 1186/29,3 = 40 кг у.т./т металла. В целом расход топлива в роликовых печах колеблется от 40 до 200 кг у.т./т металла. Так, удельный расход условного топлива в высокотемпературных роликовых печах при нагреве металла под закалку до 1150 °С составляет до 200 кг у.т./т металла, что больше, чем в других печах за счет больших потерь на охлаждение роликов.
Для сокращения расхода топлива возможны следующие варианты:
1. уменьшение поверхности (диаметра) теплообмена роликов и количества роликов исходя из расчётной механической прочности при минимальных коэффициентах запаса прочности;
2. создание эффективной теплоизоляции бочки роликов;
3. сокращение времени термообработки за счёт повышения качества нагрева. Качество возможно повысить заменой обычных горелок на горелки с форкамерами или на радиационные трубы;
4. интенсификация конвективного теплообмена в рабочем пространстве печи (создание развитой рециркуляции, струйный нагрев сводовыми горелками в первом периоде нагрева и т.п.).
Таблица 9.11 – Ориентировочный тепловой баланс роликовой печи (на 1 кг нагретого металла)
| Приход |
| % | Расход |
| % |
| 1. Химическая энергия топлива, сжигаемого в радиационных трубах | 1186 | 89,8 | 1. Физическая теплота нагретого металла (t = 950 °С) | 657 | 49,7 |
| 2. Физическая теплота воздуха для горения (t = 280 °С) | 123 | 9,3 | 2. Физическая теплота продуктов горения топлива (t = 800 °С) | 484 | 36,7 |
| 3. Физическая теплота металла (t = 20 °С) | 10 | 0,8 | 3. Потери теплоты при охлаждении цапф роликов и теплопроводностью через фланцы роликов | 124 | 9,4 |
| 4. Физическая теплота топлива (t = 20 °С) | 1 | 0,1 | 4. Потери теплоты теплопроводностью через кладку | 21 | 1,6 |
| 5. Потери теплоты на нагрев утечек защитного газа, теряемого в атмосферу | 1 | 0,1 | |||
| 6. Прочие потери теплоты | 33 | 2,5 | |||
| Итого | 1320 | 100,0 | Итого | 1320 | 100,0 |
9.7.3 Протяжная печь. Приблизительные материальные и тепловые балансы. Мероприятия по снижению расхода топлива
Протяжная печь – печь непрерывного действия для термической или химико-термической обработки металлической полосы (ленты) или проволоки, а также для нагрева штрипсов станов непрерывной печной сварки труб. Для справки: штрипс – стальная полоса, используемая в качестве заготовки для производства сварных труб. По конструктивному признаку протяжные печи делят на горизонтальные (одно- и многоэтажные) и вертикальные (башенные). Полосу протягивают в одну (однорядные протяжные печи) или несколько (многорядные протяжные печи) ниток. В протяжной печи для патентирования (для справки: патентирование – вид термообработки проволоки, при котором сталь нагревают до 870-950 °С, а затем быстро охлаждают в ванне до 500 °С, после чего охлаждают на воздухе) проволоку протягивают горизонтально в несколько ниток (до 24). Протяжные печи отапливаются газовым топливом, иногда мазутом; имеются протяжные печи с электрообогревом.
Отжиг металла в протяжных печах имеет ряд преимуществ по сравнению с отжигом в колпаковых печах:
· сокращение длительности отжига;
· более высокие механические свойства и качество поверхности за счёт высокой равномерности нагрева металла;
· включение отжига в непрерывный процесс очистки металла, травления, нанесения различных покрытий и т.д. За счёт этого ликвидация затрат на транспортировку рулонов от агрегата к агрегату и промежуточным местам складирования.
Однако не любой металл можно пропускать через протяжные печи. Например, в вертикальных печах можно обрабатывать ленту толщиной до 1 мм из-за частых перегибов, а в горизонтальных печах – до 4-6 мм (протяжка прямолинейная, без перегибов). Достоинство вертикальных печей – меньшая производственная площадь и выравнивание поверхности ленты, которая перед термообработкой может быть волнистая или с помятостями.
В качестве примера на рис. 9.19 приведена схема линии для отжига жести (для справки: жесть – тонкая малоуглеродистая сталь), имеющая в своем составе вертикальную протяжную печь.

Рис. 9.19 – Схема линии для отжига жести с вертикальной протяжной печью:
1 ‑ разматыватели рулонов; 2 ‑ тянущие ролики; 3 ‑ ножницы для обрезки концов ленты; 4 ‑ сварочная машина для сварки концов; 5 ‑ ванна с раствором для очистки ленты; 6 ‑ моющее устройство; 7 ‑ устройство для осушки ленты струями воздуха; 8 ‑ петлевые башни; 9 ‑ ножницы для вырезки сварных швов; 10 ‑ сматыватели; 11 ‑ натяжные устройства; 12 ‑ регулятор натяжения ленты; 13 ‑ камера восстановительного нагрева; 14 ‑ камера выдержки; 15 ‑ камера регулируемого охлаждения; 16 ‑ камера ускоренного охлаждения
В начале линии находятся два разматывателя рулонов. Один работает, а соседний готовится. Лента должна проходить через печь непрерывно без остановок, длина ленты достигает 1 км, а скорость – 10 м/с. Поэтому когда заканчивается лента на одном разматывателе, то обрезается задняя кромка этой ленты и кромка фиксируется на сварочной машине за счёт подъёма нижних роликов петлевой башни. Петлевые башни можно назвать буферами между печью и другими механизмами. В линию задаётся передний конец нового рулона, обрезается его кромка и на сварочной машине свариваются концы предыдущего и нового рулонов. Лента получает прежнюю скорость за счёт опускания роликов петлевой башни. В процессе движения поверхность ленты очищается в специальной ванне, промывается, высушивается и после прохода петлевой башни попадает в протяжную печь, состоящую из камеры восстановительного нагрева, камеры выдержки, камеры регулируемого охлаждения и камеры ускоренного охлаждения. Размеры печи: высота 15-20 метров, ширина 30-40 метров, толщина около 1,5 метра. Набор камер может быть разный на разных печах. Например, могут быть добавлены камера подогрева, камера нагрева продуктами неполного горения (т.е. камера безокислительного нагрева), камера для нанесения покрытий.
После печи располагается ещё одна петлевая башня с поднимающимися и опускающимися нижними роликами, служащая для накопления металла на то время, пока ножницы вырезают сварной шов и происходит переключение с одного сматывателя на другой.
Камера восстановительного нагрева предназначена для нагрева металла до максимальной температуры, требуемой по технологии. В качестве нагревательных устройств камеры восстановительного нагрева обычно используются радиационные трубы. В камере выдержки технологический процесс поддерживается, например, электрорадиационными трубами, располагаемыми вдоль стен кладки. Задача электрорадиационных труб – компенсация тепловых потерь через кладку. В качестве охладителя камеры регулируемого охлаждения обычно используется рассредоточенная система труб, внутри которых пропускается воздух. В камере ускоренного охлаждения охладителем может быть система трубок струйного охлаждения, из множества отверстий которых на ленту истекает восстановительный газ.
Протяжная печь обычно заполнена защитной атмосферой, состоящей из азота и водорода, как продуктов диссоциации аммиака. Наиболее распространена нейтральная атмосфера: 4 % Н2 и 96 % N2. Содержание кислорода допускается не более 0,01-0,02 %. Защитная атмосфера отсутствует в камере подогрева, в которой дожигаются продукты неполного горения камеры безокислительного нагрева.
Наиболее энергоёмкой частью протяжной печи является камера восстановительного нагрева (рис. 9.20). Габариты камеры: высота 15‑20 метров, длина 7‑10 метров, ширина около 1,5 метра. Камера восстановительного нагрева наполнена защитной атмосферой, поэтому обогревается радиационными трубами. В отличие от колпаковой печи здесь закрыт муфелем огонь, а не металл.
Побудителями движения ленты являются тянущие ролики, расположенные за печью. Ролики в камере восстановительного нагрева являются поддерживающими. Они имеют посередине бочки утолщение для лучшей центровки ленты. В случае обрыва ленты её можно снова заправить через верхние и нижние люки, равномерно расположенные по оси роликов. В нормальном состоянии люки герметично закрыты. Для исключения попадания кислорода (воздуха) вместе с входящей лентой, устроен механический затвор обычно из отжимных роликов.
Камера восстановительного нагрева работает следующим образом. Лента входит через нижнее отверстие в камеру восстановительного нагрева и, проходя между роликами вверх-вниз, нагревается от радиационных труб излучением. Конвективная составляющая теплообмена мала, т.к. принудительного движения защитной атмосферы не предусмотрено. Температура нагрева ленты постоянно контролируется или контактными (скользящими) термопарами или пирометрами или сочетанием этих способов. На выходе из камеры восстановительного нагрева лента с температурой 700-800 °С попадает в разделительный тамбур и далее в камеру выдержки.

Рис. 9.20 – Камера восстановительного нагрева вертикальной протяжной печи:
1 ‑ лента; 2 ‑ тамбур между камерами нагрева и выдержки; 3 ‑ окна с герметичными люками; 4 ‑ рабочие площадки; 5 ‑ радиационные трубы; 6 ‑ люки для заправки ленты; 7 ‑ ролики; 8 ‑ газо- и воздухопроводы; 9 ‑ дымоходы; 10 ‑ герметизирующий механический затвор
Радиационные трубы камеры восстановительного нагрева работают под разрежением на газовом топливе с встроенным рекуператором. Температура дыма на выходе из трубы 700-800 °С. Дым улавливается зонтами – воронками, которые рассчитываются таким образом, чтобы подсасываемый воздух разбавлял дым до 400 °С. Это необходимо для устойчивой работы дымососа. Дым от всех радиационных труб собирается вместе и удаляется через дымовую трубу в атмосферу.
Недостатки вертикальной печи:
· низкий уровень развития процессов теплообмена в камере восстановительного нагрева. Коэффициент излучения составляет только 1,5‑2 Вт/(м2×К4), в то время как в нагревательных печах он равен 3,5‑5 Вт/(м2×К4). Доля теплоты, передаваемая конвекцией, не более 10‑20 %. В конечном итоге камеры восстановительного нагрева являются очень громоздкими;
· при обработке отдельных типов стали (электротехническая и др.) на поверхности бочек роликов образуются наросты, которые царапают ленту и приводят к браку. Специальные покрытия бочки оксидом циркония уменьшают наросты, но и удорожают ролики;
· повышенные тепловые потери с дымом при форсированных режимах работы печи.
Тепловой баланс протяжной печи лучше давать по отдельным камерам, потребляющим энергию. В качестве примера в табл. 9.12-9.15 приведен ориентировочный тепловой баланс протяжной (башенной) печи агрегата горячего цинкования. В данном балансе приняты следующие исходные данные: а) всего имеются четыре энергопотребляющих камеры: камера подогрева, в которой осуществляется подогрев полосы от 20 до 200 °С за 2,7 с продуктами горения из следующей камеры безокислительного нагрева, в которой полоса нагревается от 200 до 600 °С за 7,1 с продуктами неполного сгорания (n = 0,85). Далее металл попадает в камеру восстановительного нагрева, в которой нагревается от 600 до 850 °С за 34,2 с радиационными трубами в восстановительной атмосфере (15 % Н2 и 85 % N2). Последняя энергопотребляющая камера – камера выдержки, обогреваемая электрорадиационными трубами, в которой металл выдерживается при 850 °С в течение 18,4 с; б) ширина ленты 1 м, толщина – 0,7 мм; в) производительность печи 70 т/час; г) топливо – коксовый газ с теплотой сгорания 17 МДж/м3.
В данном примере удельный расход условного топлива составил (594 + 424 + 18) / 29,3 = 35 кг у.т./т металла. В целом расход топлива в камерах нагрева протяжных печей достигает 40‑45 кг у.т./т металла.
Таблица 9.12 – Ориентировочный тепловой баланс подогревательной камеры протяжной печи (на 1 кг нагретого металла)
| Приход |
| % | Расход |
| % |
| 1. Физическая теплота продуктов горения топлива из камеры безокислительного нагрева (t = 1050 °С) | 228 | 67,3 | 1. Физическая теплота нагретого металла (t = 200 °С) | 98 | 28,9 |
| 2. Химическая энергия топлива (продуктов неполного горения топлива из камеры безокислительного нагрева) | 97 | 28,6 | 2. Физическая теплота продуктов горения топлива (t = 850 °С) | 229 | 67,6 |
| 3. Физическая теплота металла (t = 20 °С) | 10 | 2,9 | 3. Потери теплоты теплопроводностью через кладку | 4 | 1,2 |
| 4. Физическая теплота воздуха для горения (t = 20 °С) | 4 | 1,2 | 4. Прочие потери теплоты | 8 | 2,4 |
| Итого | 339 | 100,0 | Итого | 339 | 100,0 |
Таблица 9.13 – Ориентировочный тепловой баланс камеры безокислительного нагрева протяжной печи (на 1 кг нагретого металла)
| Приход |
| % | Расход |
| % |
| 1. Химическая энергия топлива | 594 | 84,6 | 1. Физическая теплота нагретого металла (t = 600 °С) | 346 | 49,3 |
| 2. Физическая теплота металла (t = 200 °С) | 98 | 14,0 | 2. Физическая теплота продуктов горения (t = 1050 °С) | 228 | 32,5 |
| 3. Физическая теплота воздуха для горения (t = 20 °С) | 8 | 1,1 | 3. Химическая энергия недожога топлива (n = 0,85) | 97 | 13,8 |
| 4. Физическая теплота топлива (t = 20 °С) | 2 | 0,3 | 4. Потери теплоты теплопроводностью через кладку | 9 | 1,3 |
| 5. Прочие потери теплоты | 22 | 3,1 | |||
| Итого | 702 | 100,0 | Итого | 702 | 100,0 |
Таблица 9.14 – Ориентировочный тепловой баланс камеры восстановительного нагрева протяжной печи (на 1 кг нагретого металла)
| Приход |
| % | Расход |
| % |
| 1. Химическая энергия топлива | 424 | 52,1 | 1. Физическая теплота нагретого металла (t = 850 °С) | 591 | 72,7 |
| 2. Физическая теплота металла (t = 600 °С) | 346 | 42,5 | 2. Физическая теплота продуктов горения (t = 800 °С) | 182 | 22,4 |
| 3. Физическая теплота воздуха для горения (t = 280 °С) | 42 | 5,2 | 3. Потери теплоты теплопроводностью через кладку | 15 | 1,8 |
| 4. Физическая теплота топлива (t = 20 °С) | 2 | 0,2 | 4. Потери теплоты через ролики | 6 | 0,7 |
| 5. Потери теплоты на нагрев восстановительной атмосферы | 1 | 0,1 | |||
| 6. Прочие потери теплоты | 19 | 2,3 | |||
| Итого | 814 | 100,0 | Итого | 814 | 100,0 |
Таблица 9.15 – Ориентировочный тепловой баланс камеры выдержки протяжной печи (на 1 кг нагретого металла)
| Приход |
| % | Расход |
| % |
| 1. Физическая теплота металла (t = 850 °С) | 591 | 97,0 | 1. Физическая теплота нагретого металла (t = 850 °С) | 591 | 97,0 |
| 2. Джоулева теплота электрорадиационных труб | 18 | 3,0 | 2. Потери теплоты теплопроводностью через кладку | 11 | 1,8 |
| 3. Потери теплоты через ролики | 4 | 0,7 | |||
| 4. Потери теплоты на нагрев восстановительной атмосферы | 1 | 0,2 | |||
| 5. Прочие потери теплоты | 2 | 0,3 | |||
| Итого | 609 | 100,0 | Итого | 609 | Люди также интересуются этой лекцией: 21 Способы обеспечения законности в сфере исполнительной власти. 100,0 |
Для снижения расхода топлива в нагревательных камерах протяжных печей можно рекомендовать следующее:
1. увеличение поверхности теплообмена радиационных труб и переход на многооборотные (многоветьевые) трубы;
2. установку рекуператоров после дымососа для подогрева воздуха дымом;
3. повышение конвективной составляющей теплообмена за счёт создания интенсивного принудительного движения защитной атмосферы;
4. совмещение радиационного и контактного нагрева или замену радиационного нагрева контактным нагревом. При контактном нагреве используются подогреваемые ролики.






















