Способы получения и контроля вакуума
2. Способы получения и контроля вакуума
2.1 Общая характеристика вакуумных насосов
Для создания в установках требуемой степени разрежения применяют разнообразные вакуумные насосы.
Вакуумные насосы классифицируются по назначению на низковакуумные, средневакуумные, высоковакуумные и сверхвысоковакуумные, а в зависимости от принципа действия - на механические и физико-химические.
Основными параметрами любого вакуумного насоса являются быстрота действия, предельное давление, наименьшее рабочее давление, наибольшее давление запуска и наибольшее выпускное давление.
Быстроту откачки насоса Si в произвольном сечении соединительного трубопровода, рис. 2.1., определяют как объем газа, проходящий через это сечение в единицу времени: Si=dVi/dt.

рис. 2.1.
Объем газа, поступающий в единицу времени из откачиваемого объекта в трубопровод через сечение II при давлении P2, называется быстротой откачки объекта или эффективной быстротой откачки насоса:
Рекомендуемые материалы
Sэф=dV2/dt. (2.1)
Объем газа, удаляемый насосом в единицу времени через входной патрубок (сечение I) при давлении Р1 - это быстрота действия насоса: Sн=dV1/dt. (2.2)
Отношение эффективной быстроты откачки насоса к быстроте действия называется коэффициентом использования насоса:
Ки=Sэф/Sн. (2.3)
Поток газа, проходящий через входное сечение насоса, называется его производительностью. Для стационарного потока выполняется
условие сплошности:
Q=P1Sн=P2Sэф=PiSi. (2.4)
Установим связь между тремя основными характеристиками вакуумной системы: быстротой действия насоса Sн, эффективной быстротой откачки объекта Sф и проводимостью вакуумной системы между насосом и откачиваемым объектом U. Согласно (2.4) и (1.54) запишем
Sн=Q/P1=U(P2-P1)/Р1; Sэф=Q/P2=U(P2-P1)/Р2. (2.5)
Перепишем (2.5) в виде
;
и вычтем первое из второго:
1/Sэф - 1/Sн = 1/U. (2.6)
Уравнение (2.6) называется основным уравнением вакуумной техники. Его можно переписать в виде
Sэф = SнU/(Sн+U) (2.7)
При условии Sн=U из (2.7) получим, что Sэф=0,5Sн. Если U → ∞то Sэф→Sн; при U→0 следует, что Sэф→ 0.
Введя в основное уравнение коэффициент использования насоса, согласно (2.3), получим
Kи = U(Sн + U); (2.8)
U = SнКи/(1 - Ки). (2.9)
Максимальное значение коэффициента использования насоса равно единице.
Предельным давлением Рпр насоса называют минимальное давление, которое может быть достигнуто во входном патрубке заглушенного насоса после длительной работы в стационарном режиме, рис. 2.2.

Рис .2.2.
Быстрота действия насоса при приближении к предельному давлению стремится к нулю. Предельное давление большинства вакуумных насосов определяется газовыделением материалов, из которых изготовлен насос, перетеканием газов через зазоры и др.
Наименьшее рабочее давление вакуумного насоса Рм - это минимальное давление, при котором насос длительное время сохраняет номинальную быстроту действия. Оно примерно на порядок выше предельного. Эксплуатация насоса при давлениях между предельным и наименьшим рабочим не оправдана экономически.
Наибольшее рабочее давление вакуумного насоса Рб - это максимальное давление, при котором насос сохраняет номинальную быстроту действия. Давление запуска Рз - это максимальное давление во входном сечении насоса, при котором он может начать работу. Для большинства насосов оно совпадает с наибольшим выпускным давлением Рв, - максимальным давлением выпускного патрубка, при котором еще обеспечивается нормальная работа насоса. Если это давление превышено, насосы прекращают работу или могут прийти в негодность из-за окисления рабочих деталей. Данные параметры показаны на основной характеристике вакуумного насоса - зависимости быстроты действия от его входного давления.
В качестве дополнительных характеристик вводят такие параметры насосов, как производительность (количество газа, удаляемое из входного патрубка в единицу времени), потребляемая мощность, длительность рабочего цикла и ресурс работы, время запуска и т.д.
2.2 Механические вакуумные насосы
По характеру воздействия на откачиваемые газы механические насосы разделяются на объемные и молекулярные. Объемные насосы осуществляют откачку за счет периодического изменения объема рабочей камеры. Конструктивные варианты: поршневые, жидкостно-кольцевые и ротационные. Молекулярные насосы работают за счет передачи молекулам газа количества движения от твердой, жидкой или парообразной быстродвижущейся поверхности. Среди них различают водоструйные, эжекторные, диффузионные, молекулярные с одинаковым направлением движения откачивающей поверхности и молекул газа, турбомолекулярные с взаимно перпендикулярным движением твердых поверхностей и откачиваемого газа.
Если выпускное давление механического насоса превысит значение Рв, произойдет т.н. срыв насоса, сопровождающийся резким ухудшением его предельного давления и быстроты откачки. Зависимость быстроты откачки (1) и предельного давления (2) от выпускного давления показана на рис. 2.3.

Рис. 2.3.
Объемная откачка
В процессе объемной откачки выполняются следующие основные операции: 1) всасывание газа за счет расширения рабочей камеры насоса; 2) уменьшение объема рабочей камеры и сжатие находящегося в ней газа; 3) удаление сжатого газа из рабочей камеры в атмосферу или насос предварительного разрежения. В зависимости от выбора конструктивной схемы объемные насосы делятся на поршневые, жидкостно-кольцевые и ротационные.
В поршневых откачка осуществляется за счет периодического изменения объема цилиндра. Быстрота действия современных поршневых насосов составляет 10...4000 л/с. Предельное давление достигает 10 Па. Недостатки поршневых насосов - неравномерность процесса откачки, неполная уравновешенность, большие потери на трение и большая удельная масса.
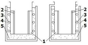
Быстрота действия жидкостно-кольцевых насосов лежит в пределах от 25 до 500 л/с. Предельное давление водокольцевых насосов 2000 Па. Насосы могут работать от атмосферного давления. Недостатки насосов - большой удельный расход мощности из-за необходимости перемещения жидкости, находящейся в насосе, и большая удельная масса.
Жидкостно-кольцевые насосы, рис .2.3. имеют в цилиндрическом корпусе 1 эксцентрично расположенное рабочее колесо 2 с неподвижно закрепленными лопатками. Жидкость внутри корпуса под действием центробежных сил прижимается к стенкам корпуса и создает жидкостное кольцо 4. Между кольцом и лопатками образуются ячейки, их объем вначале увеличивается, и газ через отверстие 3 поступает в насос. Затем объем уменьшается, и сжатый газ через отверстие 5 удаляется.

Рис. 2.4.
Ротационные вакуумные насосы имеют несколько конструктивных модификаций. Пластинчато-роторный насос, рис .2.5. содержит цилиндрический

Рис . 2.5.
корпус 7 с впускным 4 и выпускным 3 патрубками и эксцентрично расположенный ротор 6, в пазах которого установлены пластины 5. Под действием центробежной силы пластины прижимаются к корпусу, обеспечивая изменение объема рабочей камеры.
Уплотнение зазоров, предотвращающее перетечку газа, осуществляется вакуумным маслом.
Предельное давление одноступенчатых роторных насосов достигает 1 Па, двухступенчатых 0,001 Па. Оно определяется кроме газовыделения материалов насоса объемом вредного пространства и давлением насыщенных паров масла.
Пластинчато-статорный насос, рис .2.6., состоит из следующих основных

Рис. 2.6.
элементов: корпуса 1, эксцентричного ротора 2, выпускного патрубка 3, пластины 5, пружины 4, входного патрубка 6. При вращении по часовой стрелке за первый оборот ротора газ всасывается из откачиваемого объекта, а за второй происходит сжатие и выхлоп газа. Пластина под действием пружины герметично разделяет области всасывания и сжатия откачиваемого газа.
Золотниковый насос, рис. 2.7., состоит из корпуса 1, эксцентрично установленного ротора 2, золотника 6, выпускного патрубка и обратного клапана 3,

Рис .2.7.
шарнира 7 и входного патрубка 4. Газ из откачиваемого объема через входной патрубок и отверстия 5 в золотнике поступает в камеру всасывания А, увеличивающуюся при вращении ротора по часовой стрелке. В это же время объем камеры В уменьшается, и находящийся в ней газ сжимается и выталкивается через выхлопной патрубок. Пластинчато-статорный и золотниковый насосы работают в масляной ванне. Характеристики их примерно одинаковы, но золотниковые насосы имеют большие быстроты откачки. Предельные давления одноступенчатых насосов достигают 10 Па, двухступенчатых 0,1 Па. Давление запуска и выпускное давление насосов обычно равны атмосферному.
Для работы с большой быстротой действия при малых степенях сжатия применяют ротационные вакуумные насосы с обкатываемыми профилями. Вращение роторов обеспечивается синхронизирующей передачей. К таким насосам относятся двухроторные насосы (насосы Рутса), имеющие роторы с леминискантными профилями, рис. 2.8. За один оборот каждый из роторов дважды

Рис. 2.8.
перебрасывает заштрихованный объем газа из области высокого вакуума в область предварительного разрежения. Двухроторные насосы при тех же габаритах имеют значительно большие быстроты действия, чем пластинчатые и золотниковые. Быстрота действия современных двухроторных насосов лежит в пределах от 5 до 5000 л/с. Предельное давление одноступенчатых насосов 0,5 Па, двухступенчатых 0,05 Па. Наибольшее выпускное давление одноступенчатых насосов от 102 до 103 Па.
Работа объемных вакуумных насосов может сопровождаться проникновением паров рабочей жидкости из насоса в откачиваемый объект, загрязнением насоса откачиваемыми веществами и т.д. Для защиты откачиваемого объекта от паров откачиваемой жидкости используются ловушки: механическкие, адсорбционные, ионные. Устройство и принцип их действия подробнее будет рассмотрен в разделе "Пароструйные насосы. Значения предельного давления с применением ловушек существенно снижаются и достигают у ротационных насосов 10-3 Па.
2.3 Молекулярная откачка
Удаление газа из вакуумной системы с помощью движущихся поверхностей называется молекулярной откачкой. Существуют две схемы молекулярной откачки.
Первая - откачка через канал, одна из стенок которого совершает относительное перемещение со скоростью vр параллельно оси канала, рис.2.9.

Рис .2.9.
Молекулы газа в канале соударяются с движущейся поверхностью, получая приращение количества движения. При этом создается перепад давлений: Р2>Р1. Максимальная быстрота действия пропорциональна скорости стенки vр:
Smax = γFкvр, (2.10)
где Fк - площадь поперечного сечения канала;
γ = fд/(fд+fн).
Здесь fд - движущаяся, fн - неподвижная часть периметра канала. Номинальная быстрота действия
. (2.11)
Вторая - использует для удаления газов зависимость проводимости наклонного канала, движущегося перпендикулярно газовому потоку со скоростью vр от направления течения газа, рис.2.10. Примем, что пластину с наклонным каналом с обеих сторон бомбардируют перпендикулярно к поверхности пластины потоки молекул газа q1 и q2. Остановив пластину и сложив вектор относительной скорости молекул vр с векторами тепловых скоростей молекул vар,
получим измененное направление движения молекул, поток q1 входит параллельно,

Рис. 2.10.
а поток q2 перпендикулярно оси канала. Это приводит к тому, что проводимости канала для потоков q1 и q2 различны. Для установившегося режима течения газа
Q = SнР1 = U12P1-U21P2. (2.12)
где U12 и U21 - проводимости канала для потоков q1 и q2 соответственно. Откуда быстрота действия
Sн = U12-U21Р2/Р1. (2.13)
Конструкция молекулярных насосов
Молекулярные насосы с одинаковым направлением движения газа и стенки имеют много конструктивных разновидностей. Например, насос, на статоре которого выполнен набор цилиндрических канавок, входные и выходные отверстия в которых разделены перегородкой 1. Ротор 2 вращается с частотой, при которой его линейная скорость близка к тепловой скорости молекул, рис. 2.11.

Рис .2.11.
Спиральный паз 1 на поверхности статора 2 и цилиндрическая поверхность ротора 3 образуют рабочий канал, рис. 2.12.

Рис.2.12.
Спиральные канавки на торцевых поверхностях статора 1, отстоящие на минимальном расстоянии от вращающегося диска 2 образуют рабочий канал в данной схеме, рис .2.13.

Рис. 2.13.
Через зазор между статором и ротором происходит возврат газа из камеры сжатия в камеру всасывания, что ухудшает реальные характеристики насосов. Нормальная работа молекулярных насосов возможна при зазоре между ротором и статором, не превышающем 0,1 мм. Быстрота действия насосов прямо пропорциональна частоте вращения ротора, которая может достигать 40000 об. мин. Максимальная быстрота действия не превышает 100 л/с из-за малого сечения каналов. Предельное давление 10-5 Па.
Молекулярные насосы с взаимно перпендикулярным движением рабочих поверхностей и потока откачиваемого газа (турбомолекулярные) классифицируются по расположению вала ротора - горизонтальные или вертикальные; по устройству рабочих органов - цилиндровые, конусные, дисковые, барабанные.
В корпусе 2 насоса с горизонтальным валом установлены неподвижные статорные колеса 4, между которыми вращаются колеса 3, закрепленные на роторе 1, рис. 2.13. Роторные колеса выполнены в виде дисков с прорезями. В статорных колесах

Рис .2.14.
имеются зеркально расположенные прорези такой же формы. Для удобства монтажа статорные колеса разрезаются по диаметру. При диаметре рабочих колес 200 мм зазоры между роторным колесом и статорным могут составлять 1...1,2 мм, что позволяет значительно повысить надежность их работы.
Предельное давление турбомолекулярных насосов 10-8 Па. Наибольшее выпускное давление 10 Па. К достоинствам можно отнести широкий диапазон рабочих давлений, высокая удельная быстрота действия, быстрый запуск насоса.
Недостатки - высокоскоростной ротор с быстроизнашиваемыми подшипниками сложной конструкции.
Пароструйные насосы
Относятся к молекулярным насосам. Принцип их действия основан на передаче молекулам газа количества движения от парообразной быстродвижущейся поверхности. Подразделяются на эжекторные и диффузионные.
Взаимодействие откачиваемого газа со струей пара зависит от глубины вакуума. При низком вакууме молекулы, находящиеся в пограничном с паровой струей слое за счет внутреннего трения увлекают другие слои газа. По этому принципу работают эжекторные насосы.
В области высокого вакуума все молекулы откачиваемого газа, перемещаясь за счет самодиффузии, непосредственно взаимодействуют с движущейся струей пара. По этому принципу работают диффузионные насосы. Пароструйный насос не может работать самостоятельно, а всегда в комплексе с насосом предварительного вакуума, как правило, с вращательным вакуумными насосами обьемного действия.
Корпуса пароструйных насосов изготавливают из стекла и металла. К достоинствам стеклянных насосов относят простоту изготовления и надежную герметичность; к недостаткам - слабую стойкость стекла к механическим и термическим воздействиям.
Эжекторный насос, рис. 2.15., состоит из кипятильника 1, сверхзвукового - эжекторного сопла Лаваля 2, камеры смешения 5, впускного и выпускного фланцев 3 и 4. Камера смешения теплоизолирована от корпуса насоса. На выпускном патрубке имеется холодильник 6, охлаждаемый проточной водой, сконденсировавшийся на его стенках пар стекает в кипятильник по трубке 7, обеспечивающей непрерывную циркуляцию рабочей жидкости в насосе.

Рис. 2.15.
Диффузионный насос, рис.2.16., состоит из кипятильника 1, диффузионного сопла 2, закрепленного на паропроводе 6, холодильника 4, впускного и выпускного патрубков 3 и 5. Пары рабочей жидкости из кипятильника проходят по паропроводу через зонтичное сопло и конденсируются на стенках насоса, охлаждаемых холодильником. За время движения пара от конца сопла до стенок насоса в струю пара диффундирует откачиваемый газ. После конденсации образовавшейся парогазовой смеси выделившийся газ откачивается через выпускной патрубок насосом предварительного разрежения, а сконденсировавшийся пар стекает по стенкам в кипятильник.

Рис.2.16.
Зависимость характеристик насоса от параметров диффузионного сопла: зазора а и угла наклона α, рис. 2.17.


Рис .2.17.
При превышении зазором "а" своего оптимального значения ао уменьшается скорость струи у стенок, что ведет к увеличению обратного потока откачиваемого газа. Существует и оптимальная величина угла α.
Основная характеристика пароструйного насоса - зависимость быстроты действия от давления на входе в насос, рис. 2.18. В средней области рабочих

Рис. 2.18.
давлений быстрота действия постоянна и равна Smax. При приближении давления к предельному быстрота действия стремится к 0 из-за наличия обратного потока газов и паров в откачиваемом объеме. При увеличении рабочего давления за верхнюю границу молекулярного режима течения быстрота действия уменьшается в связи со снижением
скорости диффузии молекул газа в струю пара и при максимальном
входном давлении Рз стремится к нулю.
Предельное давление насоса Рпр при низких давлениях на выходном патрубке Рвых, мало зависит от последнего, рис. 2.19.
При равенстве выпускного давления и давления паровой струи Ркр наступает срыв характеристики насоса, поэтому и необходимо предварительное вакуумирование.

Рис. 2.19.
При увеличении мощности N подогрева насоса за счет увеличения скорости струи пара быстрота действия возрастает, достигая максимального значения при Nопт, а затем снижается из-за увеличения плотности паровой струи, рис.2.20. Максимальное выпускное давление насоса Ркр при увеличении мощности непрерывно возрастает, см. рис. 2.21.

Рис. 2.21.
Применяют многоступенчатые насосы, например насос с двумя диффузионными ступенями 1, 2 и эжекторной 4 ступенью откачки, рис. 2.22. На схеме 3 - холодильник, 5 - кипятильник, общий для всех ступеней.

Рис. 2.22.
К рабочим жидкостям пароструйных насосов предьявляют следующие требования: 1) минимальная упругость паров при комнатной температуре и максимальная при рабочей температуре в кипятильнике; 2) стойкость к разложению при нагревании; 3) минимальная способность растворять газы; 4) химическая стойкость к откачиваемым газам; 5) малая теплота парообразования.
Минимальная упругость паров при 20ºС нужна для получения наименьшего предельного давления насоса. Максимальное давление паров при рабочей температуре увеличивает выпускное давление и снижает требуемую мощность подогревателя. Растворимость газов в рабочей жидкости приводит к увеличению обратного потока. При малой теплоте парообразования нужна меньшая мощность нагревателя.
В качестве рабочей жидкости применяют ртуть, минеральные масла, сложные эфиры органических спиртов и кислот, кремнийорганические соединения. Ртуть (Р1, Р2), стойка к окислению, однородна по составу, не разлагается, не растворяет газы и обладает высокой упругостью паров при нагреве. Но ртуть ядовита, химически активна к цветным металлам и обладает высокой упругостью паров при 20ºС.
Минеральные масла (ВМ1, ВМ5) получают из нефти. Характеризуются низкой упругостью пара при комнатной температуре и удовлетворительной термостойкостью, однако они образуют смолистые налеты на деталях насоса и окисляются.
Эфиры и кремнийорганические жидкости имеют очень низкое давление паров при комнатной температуре и высокую стойкость к окислению, но они дороги, поэтому применяются ограниченно - для получения сверхвысокого вакуума.
При использовании неоднородных по составу или термически нестабильных жидкостей применяют насосы с фракционирующими устройствами, выделяющими более тяжелые фракции с низкой упругостью пара для работы в первой ступени откачки, рис. 2.23.

Рис. 2.23.
Ловушки
Так как предельное давление пароструйных насосов обусловлено обратным потоком паров рабочей жидкости из насоса в откачиваемый объект, его можно уменьшить, применяя ловушки: конденсирующие, диссоциирующие, адсорбирующие. Ловушка должна удовлетворять двум противоречивым требованиям: обладать максимальным защитным действием и наибольшей удельной проводимостью.
Для охлаждения конденсирующих ловушек, рис. 2.24., применяют воду; смесь льда и NaCl - позволяет достичь -18ºС; смесь льда и CaCl2 - позволяет достичь -48ºС; твердую углекислоту со спиртом -78ºС; фреон -120ºС; жидкий воздух -183ºС; жидкий азот -186ºС.

Рис. 2.24.
В диссоциирующих ловушках углеводороды разлагаются на легкооткачиваемые газы Н2, СО, СО2 и твердый углерод, который осаждается на стенках ловушки. Диссоциирующие поверхности разогреваются пропусканием тока.
В электронных диссоциирующих ловушках молекулы рабочей жидкости ионизируются в разряде с холодным или горячим катодом и при этом разлагаются. Эффективность ловушек зависит от плотности электронного тока.
Сорбционные ловушки поглощают пары масел поверхностями пористых адсорбентов: активных углей, цеолитов, силикагелей и т.д. азот и кислород при комнатной температуре адсорбируются мало. Очищают ловушку прогревом в вакууме примерно до 300ºС.
2.4. Физико-химические методы получения вакуума Физико-химические методы получения вакуума позволяют для работы в определенном диапазоне давлений создавать насосы с лучшими,
чем у механических, технико-экономическими показателями.
Существенное преимущество физико-химических насосов перед механическими заключается в возможности устранения загрязнения откачиваемой камеры парами рабочих жидкостей, которые присутствуют во многих механических насосах для смазки и герметизации.
Ионная откачка
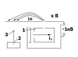
Направленное движение предварительно заряженных молекул газа под действием электрического поля является основой работы ионных насосов. Для передачи молекулам импульса скорости в направлении насоса предварительного разрежения можно использовать силу воздействия постоянного электрического поля. Нейтральные молекулы ионизируются α-, β-, и γ-излучением. Наиболее эффективно β-излучение, осуществляемое за счет средств электронной бомбардировки. Газ, поступающий в насос, рис. 2.25., ионизируется в пространстве ионизации 1, а затем с помощью ускоряющих электродов 2, к которым приложена разность потенциалов U (В), направляется к выходному патрубку насоса. Здесь ионы нейтрализуются и откачиваются насосом предварительного вакуума.

Рис. 2.25.
Производительность насоса
Qн = kTI+/q-U(Pвых-Pвх), (2.14)
где Pвх - давление на входе, Pвых - давление на выходе из насоса, q - заряд иона; I+ - ионный ток в цепи ускоряющих электродов, U - проводимость насоса. Быстрота откачки насоса
Sн = Qн/Pвх. (2.15)
Из-за трудностей ионизации газов при низких давлениях насосы получили малое распространение.
Хемосорбционная откачка
Хемосорбционная откачка осуществляется путем поглощения активных газов на поверхности металлов. Наибольшее распространение для хемосорбционной откачки получили следующие металлы: Ti, Zr, Ta, Ba, Mo, W, Hf, Er. Теплота адсорбции Qа зависит от рода газа; например титан лучше поглощает кислород, азот и углекислый газ, не поглощает инертные газы. Для увеличения поверхности металла при его взаимодействии с откачиваемыми газами используется распыление металла, сопровождающееся нанесением тонких пленок на электроды и корпус насоса. Возможность непрерывного обновления напыленной пленки увеличивает срок службы насоса.
Поглощение газов пленками может носить поверхностный (обычно при низких температурах) или объемный (при высоких температурах) характер. При поверхностном - количество сорбированного газа прямо пропорционально времени сорбции. Объемное поглощение происходит за счет диффузии газа в пленку, и количество поглощенного газа пропорционально корню квадратному из времени сорбции. Сорбционные характеристики пленок зависят от условий их образования: пленка осажденная при низкой температуре, имеет пористую структуру, что приводит к повышению скорости поглощения газов.
Испарительные насосы
Конструкция испарительного насоса в основном определяется типом испарителя. Испарители бывают прямоканальные, подогревные, электронно-лучевые и дуговые.
В качестве прямоканального испарителя используется биметаллическая проволока с молибденовым керном, на который иодидным способом осажден слой титана, рис. 2.26.

Рис. 2.26.
Подогревный испаритель представляет собой сферическую оболочку из активного металла, рис. 2.27., внутри которой вставлен проволочный нагреватель. Для титана максимальная рабочая температура таких нагревателей составляет 1150ºС, что обеспечивает максимальную скорость испарения 1 мг/с.

Рис. 2.27.
Электронно-лучевой испаритель представляет собой электронную Ti пушку с вольфрамовым катодом 1, помещенную в поперечное магнитное поле, рис. 2.28.

Рис. 2.28.
Это позволяет разместить пушку вне зоны нанесения активного металла. Между пушкой и мишенью приложено высокое напряжение. Максимальная скорость испарения - до 30 мг/с.
В дуговых испарителях активный металл распыляется в катодном пятне дуги постоянного тока, рис. 2.29. Катодное пятно хаотически перемещается по поверхности охлаждаемого водой катода из титана. Плотность тока в пятне до 10 А/см2. Дуга горит в парах испаряемого материала, что позволяет поддерживать разряд в условиях сверхвысокого вакуума. Возбуждение дуги происходит, например, при коротком замыкании подвижного электрода. Ток дуги 100...180 А. Напряжение источника 30...50 В. Скорость испарения 20 мг/с.

Рис. 2.29.
Испарительный насос, рис. 2.30, состоит из корпуса 4, в котором располагается испаритель 5. Атомы активного металла, вылетающие из испарителя, конденсируются на экранах 2 и обеспечивают откачку химически активных газов. Экран 3 защищает откачиваемый объект от проникновения паров испаряемого материала. Экраны 2 для повышения быстроты откачки могут охлаждаться жидким азотом.

Рис. 2.30.
Предельное давление в испарительных насосах 10-7Па, а при охлаждении жидким азотом 10-11 Па. Верхний предел рабочих давлений 0,01 Па. Максимальная быстрота действия при откачке водорода достигает 200000 л/с. Применение насосов испарительного типа неэффективно при откачке продуктов органического происхождения и инертных газов.
Криогенные насосы
Криоконденсационная откачка возможна при условии, что давление откачиваемого пара в вакуумной системе выше давления его насыщенных паров в насосе. Предельное давление криоконденсационной откачки зависит от температуры поверхности, на которой происходит конденсация откачиваемого газа, и достигает 10-9 Па.
Криоадсорбционная откачка осуществляется адсорбцией газов на охлаждаемых адсорбентах. Для откачки применяются адсорбенты с большой площадью внутренней поверхности - активные угли, цеолиты, силикагели.
Криоадсорбционные насосы погружного типа используются для работы в низком вакууме а заливного - для работы в высоком вакууме, рис. 2.31.
Разница в конструкции состоит в том, что сосуд Дьюара 4 для размещения криоагента 5 в насосах погружного типа выполняют сьемным, а в насосах заливного типа вакуум, создаваемый самим насосом, используется для теплоизоляции. Нагреватель 3 служит для регенерации адсорбента после его насыщения откачиваемым газом. Адсорбент 1 для предотвращения загрязнения и улучшения условий охлаждения помещается внутри пористого металлического фильтра 2.

рис. 2.31.
В полость 2 криоконденсационного насоса, рис. 2.32., заливается низкотемпературный криоагент (жидкий гелий или водород), в полость 3 - высокотемпературный криоагент (жидкий азот). Экраны 1 защищают поверхность сосуда с низкотемпературным криоагентом от излучения стенок насоса, не препятствуя проникновению откачиваемого газа к охлаждаемой поверхности.
Температура кипения при атмосферном давлении гелия - 4,2 К, водорода - 20,4 К, азота - 77 К.

Рис. 2.32.
Ионно-сорбционные насосы
При ионно-сорбционной откачке используют два способа поглощения газа: внедрение ионов в объем твердого тела под действием электрического поля и химическое взаимодействие откачиваемых газов с тонкими пленками активных металлов.
Насос с независимым распылением активного металла состоит из корпуса 6, рис. 2.33. Электроны, вылетающие из термокатода 1, направляются на распылитель 4 и анодную сетку 2, к которым приложено высокое напряжение. Электронная бомбардировка распылителя греет его до температуры испарения находящегося в нем активного металла. При этом электроны, направляющиеся к анодной сетке, совершают до попадания в нее несколько колебаний, ионизируя путем соударений молекулы остаточных газов. Управляющая сетка 3 служит для поддержания постоянства эмиссионного тока. Ионизированный газ хорошо сорбируется активным металлом, напыленным на поверхность стенки корпуса, и ионной откачкой путем внедрения положительных ионов в стенку корпуса.

Рис. 2.33.
2.5. Измерение газовых потоков и давлений
Вакуумметры
Область давлений, используемых в современной вакуумной технике, 105...10-12 Па. Измерение давлений в таком широком диапазоне нельзя обеспечить одним прибором. Приборы для измерения общих давлений называют вакуумметрами. Они обычно состоят из двух частей: манометрического преобразователя и измерительной установки. Вакуумметры измеряют общее давление газов в вакуумной системе.
По методу измерения разделяются на абсолютные и относительные. Показания абсолютных приборов не зависят от рода газа и могут быть заранее рассчитаны. В приборах для относительных измерений используют зависимость параметров некоторых физических процессов, протекающих в вакууме, от давления. Они нуждаются в градуировке по образцовым приборам.
Диапазон рабочих давлений вакуумметров:
гидростатических - 105...10 Па; деформационных - 105...10-1 Па;
компрессионных - 10...10-3 Па; тепловых - 103...10-1 Па;
электронных - 10...10-8 Па; магнитных - 10...10-11 Па.
радиоизотопных - 105...10-2 Па;
Деформационные преобразователи
К ним относятся трубчатые и мембранные преобразователи, рис. 2.34. Линейность показаний этих приборов сохраняется при небольших деформациях, поэтому приборы измеряют давления, лежащие в пределах 2...3 порядков.

Рис. 2.34.
Гидростатические преобразователи
Простейшими гидростатическими преобразователями являются жидкостные манометры с открытым и закрытым коленом. В качестве рабочей жидкости применяется масло, диапазон рабочих давлений 105 ...10 Па, и ртуть, диапазон рабочих давлений 105 ...103 Па. Манометры с открытым коленом удобны для измерения давлений, близких к атмосферному. В манометре с закрытым коленом перед заполнением рабочей жидкостью получают давление Рср=0, что позволяет непосредственно измерять абсолютное давление газа в вакуумной системе. В этом случае показания прибора не зависят от атмосферного давления. При измерении малых давлений манометр с закрытым коленом имеет меньшие габариты, чем манометр с открытым коленом.
Гидростатические манометры с предварительным сжатием газа называются компрессионными. Диапазон измерения компрессионных манометров 10...10-3 Па.
Тепловые преобразователи
Принцип действия тепловых преобразователей основан на зависимости теплопередачи через разреженный газ от давления. Передача теплоты происходит от тонкой металлической нити к баллону, находящемуся при комнатной температуре. Металлическая нить нагревается в вакууме путем пропускания электрического тока.
Существует два вида тепловых преобразователей: термопарный и сопротивления, рис. 2.35. Оба имеют одинаковую чувствительность к различным газам.

Рис. 2.35.
Оба преобразователя могут работать как в режиме постоянного тока накала, рис. 2.36, так и в режиме с постоянной температурой нити, рис. 2.37.

Рис. 2.36. Рис .2.37.
Электронные преобразователи
Принцип действия основан на пропорциональной зависимости между давлением и ионным током, образующимся в результате ионизации термоэлектронами остаточных газов. Существуют две схемы: с внутренним и внешним коллектором.
Схема с внутренним коллектором аналогична обычному триоду, рис. 2.38. Коллектором ионов является сетка, на которую относительно катода подается отрицательное напряжение в несколько десятков вольт, а на анод - положительное напряжение 100-200 В. Электроны на пути от катода к аноду (ток Ie) соударяются с молекулами остаточных газов, и образовавшиеся положительные ионы попадают на сетку, создавая ионный ток Iи, измеряемый гальванометром.

Рис .2.38.
В схеме с внешним коллектором потенциалы сетки и анода меняются местами, и коллектором становится анод, рис.2.39. Электроны, летящие от катода к сетке, совершают вокруг ее витков ряд колебаний, что увеличивает длину траектории электронов и повышает вероятность ионизации молекул остаточных газов. Это делает схему с внешним коллектором более чувствительной, несмотря на то, что часть положительных ионов, образовавшихся между сеткой и катодом, не участвует в измерении давления

Рис. 2.39.
Магнитные преобразователи
Принцип действия магнитных преобразователей основан на зависимости тока самостоятельного газового разряда в скрещенных магнитном и электрическом полях от давления. Применяют несколько видов электродных систем, обеспечивающих поддержание самостоятельного газового разряда при высоком вакууме.
Ячейка Пеннинга, рис.2.40, состоит из двух дисковых катодов 1 и цилиндрического анода 2. Электроны, вылетающие из анода в результате автоэлектронной эмиссии, движутся по спиральным траекториям между катодными пластинами. Магнитная индукция В выбирается больше критического

Рис. 2.40.
значения, соответствующего равенству диаметра электрода и диаметра окружности, по которой движется электрон. При соударении с молекулой остаточного газа электрон теряет часть энергии на ее ионизацию и перемещается в радиальном направлении к аноду. Образовавшиеся положительные ионы движутся к катоду, образуя ионный ток Iи. Соударение положительных ионов с катодом приводит к образованию вторичных электронов, ток которых пропорционален ионному.
Таким образом, разрядный ток магнитного преобразователя Iр=Iф+Iи+Iв, где Iф - фоновый ток автоэлектронной эмиссии; Iв - ток вторичной электронной эмиссии. Ток автоэлектронной эмиссии не зависит от давления, ионный ток и ток вторичной эмиссии от давления зависят, Iи+Iв=аРn, где а=0,1...0,01 А/Па и n=1...1,4 - постоянные.
Кроме ячейки Пеннинга применяют магнетронные преобразователи, рис. 2.41, в которых катоды соединены стержнем, и инверсно-магнетронные, в которых центральный стержень - анод, а наружный цилиндр – катод.

Рис .2.41.
Преимущество магнитного преобразователя перед электронным - более высокая надежность, т.к. применен холодный катод. Недостаток - нестабильности, связанные с колебаниями работы выхода электронов при загрязнении катодов.
Радиоизотопные преобразователи
В радиоизотопных преобразователях для ионизации газа используется α-, или β-излучение радиоактивных изотопов. Преобразователь состоит из стержневого коллектора 1, цилиндрического анода 2 и радиоизотопного источника 3, рис. 2.42.

Рис. 2.42.
Вылетающие из радиоизотопного источника α- частицы, соударяясь с молекулами остаточных газов, образуют положительные ионы, которые под действием разности потенциалов между анодом и коллектором направляются к коллектору, вызывая в цепи ионный ток, пропорциональный давлению.
Стабильность работы прибора обеспечивается независимостью радиоактивного распада от температуры и воздействия газов. Поэтому данный прибор считается одним из лучших для измерения вакуума.
Газоанализаторы
Измерители парциальных давлений, как и измерители общих давлений, характеризуются нижним и верхним пределами измеряемых парциальных давлений, чувствительностью, а также свойственным только им параметром - разрешающей способностью.
Измерение парциальных давлений в вакуумных системах в настоящее время осуществляют двумя методами: ионизационным и сорбционным.
Ионизационный метод основан на ионизации и разделении положительных ионов в зависимости от отношения массы иона к его заряду. Сорбционный метод использует анализ адсорбированных газов.
Принцип действия магнитного газоанализатора (масс-спектрометра) основан на прстранственном разделении моноэнергетического пучка ионов в однородном поперечном магнитном поле, рис. 2.43. Ионообразование осуществляется

Рис. 2.43.
электронной бомбардировкой нейтральных газовых молекул в ионном источнике 1 за счет тока эмиссии, iэ. Ионный источник находится под отрицательным потенциалом относительно земли, выталкивающим ионный пучок i+ в пространство дрейфа со скоростями v~(q/m)0,5. В пространстве дрейфа действует поперечное магнитное поле с индукцией В, под воздействием силы Лоренца F1=qvB положительные ионы движутся в направлении, определяемом правилом левой руки, по окружностям постоянных радиусов R. При этом центростремительная сила Лоренца уравновешивается центробежной силой F2=mv2/R. Из условия равенства сил F1=F2 найдем радиус траектории ионов:
R=mv/(qB). (2.16)
В результате на коллектор 3 попадают только те ионы, радиус которых соответствует положению щели в диафрагме перед коллектором. Изменяя радиус траектории иона R за счет изменения ускоряющего напряжения или индукции В, можно обеспечить попадание на коллектор ионов с различными массовыми числами. Ионный ток регистрируется прибором 2.
Чувствительность масс спектрометра возрастает при увеличении ширины щелей. Верхний предел рабочих давлений 0,01 Па определяется постоянством коэффициента чувствительности, нижний 10-8Па - фоновыми токами.
Для проведения анализа с помощью метода сорбции в камеру с исследуемым газом, имеющую обычный манометрический преобразователь, помещают прогреваемую прямым пропусканием электрического тока вольфрамовую нить. Перед началом работы ее обезгаживают прогревом до 2500 К. После охлаждения на ее поверхности адсорбируются молекулы остаточных газов. При нагревании нити происходит десорбция газов и давление в камере повышается, причем десорбция различных газов происходит при разной температуре нити. Для повышения чувствительности прибора необходимо увеличивать адсорбирующую поверхность. Если адсорбирующую поверхность охладить, то можно провести анализ газов с малой теплотой адсорбции.
Измерение газовых потоков
Газовый поток - это масса газа, проходящая в единицу времени через заданное сечение элемента вакуумной системы. Потоки индивидуальных веществ можно измерять также количеством молекул газа, проходящих через заданное сечение элемента вакуумной системы в единицу времени. Единица газового потока кг/с, или при постоянной температуре газа м3Па/с.
Стационарный поток газа можно записать в виде
Q = U(Р1-Р2), (2.17)
где U - проводимость вакуумной системы.
Данное уравнение можно использовать для измерения стационарных газовых потоков методом двух манометров по перепаду давления на вакуумном элементе известной проводимости.
Другое выражение для определения как стационарных, так и нестационарных газовых потоков можно записать в дифференциальной форме:
(2.18)
В соответствии с этим уравнением для измерения газовых потоков используют два метода: постоянного давления и постоянного объема. При р=const поток газа Q=pdV/dt, а его измерение осуществляется по скорости изменения объема газа при постоянном давлении.
Описанные методы считаются абсолютными. Косвенные методы - тепловые, радиоизотопные, ионизационные - нуждаются в градуировке по абсолютным методам.
Метод двух манометров
Метод двух манометров основан на измерении перепада давлений на элементе с известной проводимостью. Может применяться для измерения производительности и быстроты действия вакуумных насосов.
Поток газа, откачиваемый насосом 5, измеряется по перепаду давлений на диафрагме 3 известной проводимости U, рис.2.44. Диафрагма установлена в измерительном колпаке 6. Давления Р1 и Р2 измеряются соответственно манометрами 2 и 4. Регулировка потока газа осуществляется с помощью натекателя 1, подключенного к вспомогательной вакуумной системе. Рабочее давление вспомогательной вакуумной системы больше, чем основной. Производительность насоса, или газовый поток, рассчитываются по уравнению (2.17), а быстрота откачки
S = Q/Р2 = U(Р1 - Р2)/Р2. (2.19)
Для расширения пределов измерения проводимость диафрагмы меняют, например, применяя ирисовую диафрагму, или поворотные диски с отверстиями различных диаметров.

Рис. 2.44.
Метод постоянного давления
1. С использованием жидкостной бюретки
Давление в измерительном обьеме 5 жидкостной бюретки 6 Pизм=Pв-pgh, где
Pв - давление внешней среды; ρ - плотность жидкости; h - разность уровней,
рис .2.45.

Рис. 2.45.
Если Рв>>рgh, то можно считать, что Ризм=const, тогда Q=PизмDV/Dt= КбРизмDh/Dt; Кб=pR2изм - постоянная бюретки. Кран 4 нужен, чтобы опустить обьем жидкости в бюретке, и повторить измерения. Натекатель 3 - для регулирования потока газа. Бюретку обычно заполняют вакуумным маслом.
2. Метод газовых пузырей
При вытекании газа из обьема 2 в обьем 1, рис.2.46., при Р2>Р1 газовый поток может быть рассчитан по скорости dN/dt возникновения и обьему Vп газовых пузырей 4, возникающих в жидкости 3: Q = VпєР1єdN/dt. Вакуумирование пространства над жидкостью увеличивает чувствительность измерения, т.к. сопровождается увеличением обьема пузырьков.

Рис. 2.46.
Метод постоянного обьема
Насос 1 и клапан 2 используют для получения вакуума в обьеме 3. В процессе измерения клапан 2 закрывается, рис. 2.47. Газ из баллона 6 через

Рис. 2.47.
натекатель 4, поступающий в обьем 3, вызывает увеличение давления Р. Если поток газа постоянен, то происходит линейное повышение давления (кривая 1).
По скорости повышения давления определяют газовый поток Q=VdP/dt.
В момент прекращения откачки вакуумной камеры (t=0) в ней возникает газовыделение адсорбированных газов, приводящее к нелинейному повышению давления (кривая 2), рис. 2.48. Суммарное изменение давления идет согласно

Рис. 2.48.
кривой 3. Для надежного измерения потока методом постоянного объема газовыделение должно быть мало по сравнению с измеряемым газовым потоком. Этого можно достичь длительной предварительной откачкой вакуумной камеры.
Методы измерения газовых потоков, точность которых может быть обеспечена только после предварительной градуировки, называются косвенными. Чувствительность по потоку приборов для косвенных измерений KQ=a/Q, где a - показания прибора в делениях самой чувствительной шкалы; Q - газовый поток, определенный абсолютным методом. В процессе градуировки определяется диапазон потоков, в котором сохраняется линейность градуировочной характеристики.
Проверка градуировки в процессе эксплуатации осуществляется с помощью калиброванных течей. Например, в стеклянный баллон 1, заполненный гелием при давлении 105 Па, впаяна через переход 2 кварцевая трубка 3, рис. 2.48. Гелий диффундирует сквозь плавленый кварц, величина потока 10-6...10-9 м3∙Па/с.

Рис. 2.49.
Тепловой метод
Теплопередача в области низкого вакуума при вынужденной конвекции зависит от скорости течения газа, а температура нагретой нити, следовательно, от потока газа. Градуируют тепловой потокомер по абсолютному прибору.
Методы течеискания
При изготовлении вакуумных систем из-за пор или трещин в материалах возможно появление течей. Из-за малых размеров дефектов, вызывающих течи, обнаружить визуально их практически невозможно. Для определения места течей разработаны следующие методы течеискания: а) пробного газа; б) высокочастотного разряда; в) люминесцентный; г) радиоизотопный; д) пузырьковый.
Метод пробного газа получил наиболее широкое распространение, рис. 2.50.

Рис. 2.50.
После получения вакуума в испытуемом объекте место, проверяемое на наличие течи, обдувается пробным газом, который через дефект начинает поступать в обьект и регистрируется масс-спектрометром. Для предотвращения повышения давления проверяемый объект должен находиться под непрерывной откачкой. Основным пробным газом является гелий. Он безопасен в работе, хорошо проникает через течи, у него низкая адсорбируемость.
При использовании метода пробного газа следует учитывать инерционность испытаний и невысокую точность нахождения места течи. Для уточнения места поверхность покрывают специальной вакуумной замазкой, которая в момент прекращения проникновения пробного газа фиксирует место течи. Так можно определить координаты места течи с точностью до нескольких миллиметров.
Вместо пробных газов иногда используют пробные жидкости - спирт, эфир, бензин, ацетон. При этом время проникновения жидкости может достигать нескольких часов. Поэтому пробные жидкости используют для индикации грубых течей при высоких давлениях.
Метод высокочастотного разряда заключается в том, что при приближении электрода высокочастотного трансформатора к месту течи образуется направленный разряд. Появление разряда связано с понижением давления воздуха в месте течи и улучшением условий электрического пробоя газового промежутка. Этот метод удобен для определения течей в стеклянных вакуумных системах.
Люминесцентный метод использует проникновение раствора люминофора в капиллярные течи. Проверяемый обьект длительное время выдерживается в растворе люминофора. После удаления люминофора с поверхности обьекта заполненные капилляры обнаруживаются в виде точек или полос при облучении ртутно-кварцевыми лампами. Люминофор дает желтое или красное свечение.
Радиоизотопный метод обнаружения течей состоит в том, что испытуемые обьекты в течение некоторого времени выдерживаются в атмосфере радиоактивного газа. После удаления радиоактивного газа и тщательной очистки поверхности от радиоактивных загрязнений излучающими остаются только негерметичные приборы. Метод применяется при автоматической проверке на герметичность малогабаритных полупроводниковых приборов.
Пузырьковый метод наиболее простой. В испытуемом обьекте создается избыточное давление газа, и обьект погружается в жидкость. Диаметр пузырька в месте его образования равен диаметру капилляра. Воду без образования пузырьков можно нагреть до 80ºС, масло до 200ºС.
Герметичность вакуумных систем
Требования к герметичности вакуумных систем формируются с учетом условий их дальнейшей эксплуатации. В техническом задании на разработку вакуумной системы, работающей под непрерывной откачкой, задается рабочее давление Рраб, при котором должен осуществляться технологический процесс. Для обеспечения эффективного использования откачных средств необходимо обеспечить предельное давление
Рпр≥0,1Рраб. (2.20)
Если вакуумная система хорошо обезгажена и газовыделением можно пренебречь по сравнению с натеканием, тогда допустимый газовый поток, поступающий через все течи, имеющиеся в вакуумной установке,
Qн≤Pпр∙Sо=0,1Pраб∙Sо, (2.21)
где Sо - быстрота откачки обьекта.
Если технические требования связаны с поддержанием не общего, а парциального давления Рп какого-то компонента смеси, содержание которого равно g, то
Qн≤0,1∙Pп∙So/g. (2.22)
В вакуумных системах объемом V, работающих в течение времени t без непрерывной откачки, для допустимого возрастания давления Р газовый поток
Qн≤V∙DP/Dt. (2.23)
Если требования ставятся по парциальным давлениям, то аналогично (2.21) получим
Qн≤V∙DP/(Dtg). (2.24)
При совпадении условий испытаний на герметичность с рабочими условиями уравнения (2.21)...(2.24) определяют требования к пороговой чувствительности испытаний. Если контроль на герметичность производится с помощью пробного газа или при другой
температуре и перепаде давлений, то требования к пороговой чувствительности необходимо уточнить по уравнению
(2.25)
Qп DPпєUп
---- = -------, (2.25)
Qв DРвєUв
где Uв, Uп - проводимость течи по воздуху и пробному газу, ∆Рв,
∆Рп - перепад давлений по воздуху и пробному газу.
Аппаратура для определения герметичности
Наиболее широко применяется масс-спектрометрический течеискатель, обладающий самой высокой чувствительностью, рис.2.51. Минимальные

Рис. 2.51.
Рекомендуем посмотреть лекцию "13 Медь".
обнаруживаемые течи равны 10-13 м3∙Па/с. Электроны, эмитируемые катодом 9, попадают в камеру ионизации 8. Источник питания катода 11 подключен к анализатору через фланец 10. В случае негерметичности вакуумной системы, обдуваемой пробным газом, молекулы гелия через фланец 5 проникают в камеру ионизации. Положительные ионы гелия ускоряющим напряжением направляются в камеру магнитного анализатора 6. Ускоряющее напряжение Еу и магнитная индукция В подбираются таким образом, чтобы ионы гелия, прошедшие через входную щель 7, двигаясь по траектории 4, попали в выходную щель 2. Остаточные газы по траектории 3 разряжаются на стенках анализатора. Коллектор ионов 1 соединяется через электрометрический каскад с блоком усиления и измерения ионного тока.
В отличие от анализаторов парциальных давлений, которые должны иметь высокую разрешающую способность и перестраиваться на различные массовые числа, датчик течеискателя настраивается только на пробный газ. При этом входная и выходная щели могут быть расширены, что увеличивает чувствительность течеискателя. Этот способ повышения чувствительности можно применять для гелия, не имеющего в составе воздуха веществ с близкими массовыми числами.
Течеискатель подключается и испытуемому обьекту, рис.2.52., с помощью фланца 1. Для предварительной градуировки может применяться гелиевая течь 12, подключенная через клапан 13. Для дросселирования больших потоков, поступающих в течеискатель, служит клапан-натекатель 2. Ловушка 3 с насосом 10, подключенным через клапан 11, используется для создания рабочего давления 10 Па, измеряемого преобразователем 4 и необходимого для работы масспектрометрической камеры 5.

Рис .2.52.
Форвакуумный насос 8 обеспечивает через клапан 9 работу высоковакуумного пароструйного насоса 10 и через клапан 6 - байпасную откачку камеры 5. Работоспособность насоса 8 можно определить с помощью манометра 7. Вакуумная система течеискателя предназначена для откачки масс-спектрометрической камеры и, как правило, не может быть использована для откачки испытуемого объекта, который должен иметь собственную откачную систему.




















