Электроконтакты, понятия и теория
Лекция №7.
Тема лекции:
7. Электроконтакты, понятия и теория. Конструкция и выбор коммутирующих контактов.
ЭЛЕКТРИЧЕСКИЕ КОНТАКТЫ
НАЗНАЧЕНИЕ И КЛАССИФИКАЦИЯ ЭЛЕКТРИЧЕСКИХ КОНТАКТОВ
Любая электротехническая установка состоит из элементов, так или иначе связанных между собой. Соединение проводящих звеньев электрической цепи, обеспечивающее протекание электрического тока при наличии источника э. д. с, осуществляется с помощью электрических контактов.
Рекомендуемые материалы
Слово контакт от латинского слова contactus — прикосновение. Под электрическим контактом весьма часто понимается совокупность двух или нескольких проводников электрического тока, соединенных между собой и сжатых с определенной силой.
ГОСТ 2774—44 определяет электрический контакт, как «место перехода тока из одной токоведущей части в другую».
По своему назначению электрические контакты можно разделить на две группы.
1. Соединительные контакты, которые служат только для соединения различных звеньев электрической цепи, т. е. для обеспечения протекания тока от одного звена к другому. Соединительные контакты всегда замкнуты.
2. Коммутирующие контакты, предназначенные для включения, отключения и переключения электрических цепей.
Соединительные контакты, применяемые в токопроводах электрических аппаратов, весьма разнообразны. Некоторые типичные конструкции их изображены на рис. 3.1.
Основным требованием, предъявляемым к соединительным контактам, является надежность в длительной эксплуатации: соединительные контакты должны длительно, в пределах срока службы всей
установки в целом и без повреждений допускать протекание токов нормального режима и кратковременных токов аварийных режимов работы.
Надежность в длительной эксплуатации соединительных (не размыкаемых) контактов будет обеспечена, если сопротивление контакта электрическому току будет достаточно стабильным. Для этого соединительный контакт должен обладать способностью противостоять как воздействию окружающей среды, так и воздействию механических усилий от температурных деформаций и от электродинамических усилий, возникающих при протекании больших токов короткого замыкания.
Контактирующие проводники в соединительных контактах могут быть либо неподвижны друг относительно друга (хотя контакт в целом может и перемещаться с определенной скоростью), либо перемещаться относительно друг друга без размыкания цепи, как, например это имеет место роликовом или в щеточном контакте.
Коммутирующие контакты могут находиться в замкнутом (соответствующая цепь включена) или разомкнутом (соответствующая цепь отключена) состоянии.
Существует большое разнообразие коммутирующих контактов. Например, могут быть контакты: рубящие, торцовые, щеточные, пальцевые, розеточные и пр. По своему назначению коммутирующие контакты в сильноточных аппаратах можно разделить на главные и дугогасительные. Обычно главные контакты шунтируются дугогасительными, в процессе размыкания цепи главные контакты выходят из соприкосновения ранее, чем дугогасительные, а поэтому образование дуги происходит только на дугогасительных. Таким образом главные контакты защищены от воздействия дуги и служат для надежного пропускания рабочих токов и токов короткого
замыкания в замкнутом состоянии.
![]() |
Рис.7.1.Некоторые типы коммутирующих контактов:
а — контакты контактора; б —релейные контакты на плоских пружинах
Часто функции контактов совмещаются: они выполняют роль и токоведущих, и дугогасительных контактов.
Некоторые типы коммутационных контактов представлены на рис.7.1.
Как ни тщательно обработаны поверхности соприкосновения контактов, электрический ток проходит между ними только в отдельных точках, в которых эти поверхности касаются, так как получить абсолютно гладкую поверхность практически невозможно. Примерная картина соприкосновения контактов показана на рис.. Благодаря нажатию Р одного контакта на другой вершины выступов деформируются и образуются площадки действительного касания контактов. Рассмотрим процесс перехода тока из одного контакта в другой при касании двух цилиндрических контактов по торцам.

Рис.7.2 .Соприкосновение поверхностей контактов
В результате стягивания линий тока к площадке касания их длина увеличивается, а сечение проводника, через которое фактически проходит ток, уменьшается, что вызывает увеличение сопротивления. Сопротивление в области площади касания, обусловленное явлениями стягивания линий тока, называется переходным сопротивлением стягивания контакта.
Таким образом, переходное сопротивление, обусловленное стягиванием линий тока, пропорционально удельному сопротивлению материала контакта, корню квадратному из временного сопротивления на смятие этого материала о и обратно пропорционально корню квадратному из силы контактного нажатия. Одноточечный контакт применяется в основном только три малых токах (до 20 А). При больших токах (100 А и более) применяется многоточечный контакт. В многоточечном контакте ток проходит через несколько контактных переходов, соединенных параллельно. Поэтому его переходное сопротивление при неизменном нажатии меньше, чем у одноточечного контакта. Однако нажатие в каждой контактной площадке уменьшается. Количество контактных переходов увеличивается с ростом нажатия по весьма сложному закону.
Сопротивление зависит и от обработки поверхности. При шлифовке поверхность выступов более пологая с большой площадью. Смятие таких выступов возможно только при больших силах нажатия. Поэтому сопротивление шлифованных контактов выше, чем контактов с более грубой обработкой.
Переходное сопротивление контактов обусловлено не только явлением стягивания линий тока. Контактирующие поверхности покрыты адсорбированными молекулами газа, в котором располагались контакты до их замыкания. Очень часто молекулы газа вступают в химическую реакцию с материалом контактов, в результате чего на их поверхности могут возникнуть пленки с высоким удельным сопротивлением.
МАТЕРИАЛЫ КОНТАКТОВ
К материалам контактов современных электрических аппаратов предъявляются следующие требования:
1) высокие электрическая проводимость и теплопроводность;
2) высокая коррозионная стойкость в воздушной и других средах;
3) стойкость против образования пленок с высоким электрическим сопротивлением;
4) малая твердость для уменьшения необходимой силы нажатия;
5) высокая твердость для уменьшения механического износа при частых включениях и отключениях;
6) малая эрозия;
7) высокая дутостойкость (температура плавления);
8) высокие значения тока и напряжения, необходимые для дугообразования;
9) простота обработки, низкая стоимость.
Свойства некоторых контактных материалов рассмотрены ниже.
Медь. Положительные свойства: высокие удельная электрическая проводимость и теплопроводность, достаточная твердость, что позволяет применять при частых включениях и отключениях, простота технологии, низкая стоимость.
Недостатки: достаточно низкая температура плавления, при работе на воздухе покрывается слоем прочных оксидов, имеющих высокое сопротивление, требует довольно больших сил нажатия. Для защиты меди от окисления поверхность контактов покрывается электролитическим способом слоем серебра толщиной 20—30 мкм. В контактах на большие токи иногда ставятся серебряные пластинки (в аппаратах, включаемых относительно редко). Применяется как материал для плоских и круглых шин, контактов аппаратов высокого напряжения, контакторов, автоматов и др. Вследствие низкой дугостойкости нежелательно применение в аппаратах, отключающих мощную дугу и имеющих большое число включений в час.
В контактах, не имеющих взаимного скольжения, из-за пленки оксидов применение меди не рекомендуется.
Серебро. Положительные свойства: высокие электрическая проводимость и теплопроводность, пленка оксида серебра имеет малую механическую прочность и быстро разрушается при нагреве контактной точки. Контакт серебра устойчив благодаря малому напряжению на смятие. Для работы достаточны малые нажатия (применяется при нажатиях 0,05 Н и выше). Устойчивость контакта, малое переходное сопротивление являются характерными свойствами серебра.
Недостатки: малая дугостойкость и недостаточная твердость препятствуют использованию его при наличии мощной дуги и частых включениях и отключениях.
Применяется в реле и контакторах при токах до 20 А. При больших токах вплоть до 10 кА серебро используется как материал для главных контактов, работающих без дуги.
Алюминий. Положительные свойства: достаточно высокие электрическая проводимость и теплопроводность. Благодаря малой плотности токоведущая часть круглого сечения из алюминия на такой же ток, как и медный проводник, имеет почти на 48 % меньшую массу. Это позволяет уменьшить массу аппарата.
Недостатки: 1) образование на воздухе и в активных средах пленок с высокой механической прочностью и высоким сопротивлением;
2) низкая дугостойкость (температура плавления значительно меньше, чем у меди и серебра);
3) малая механическая прочность;
4) из-за наличия
в окружающем воздухе влаги и оксидов медный и алюминиевый контакты образуют своеобразный гальванический элемент. Под действием ЭДС этого элемента происходит электрохимическое разрушение контактов (электрохимическая коррозия). В связи с этим при соединении с медью алюминий должен покрываться тонким слоем меди электролитическим путем либо оба металла необходимо покрывать серебром. Алюминий и его сплавы (дюраль, силумин) применяются главным образом как материал для шин и конструкционных деталей аппаратов.
Вольфрам. Положительные свойства: высокая дугостойкость, большая стойкость против эрозии, сваривания. Высокая твердость вольфрама позволяет применять его при частых включениях и отключениях.
Недостатки: высокое удельное сопротивление, малая теплопроводность, образование прочных оксидных и сульфидных пленок. В связи с образованием пленок и их высокой механической прочностью вольфрамовые контакты требуют большого нажатия.
В реле на малые токи с небольшим нажатием применяются стойкие против коррозии материалы — золото, платина, палладий и их сплавы.
Металлокерамические материалы. Рассмотрение свойств чистых металлов показывает, что ни один из них не удовлетворяет полностью всем требованиям, предъявляемым к материалу контактов.
Основные необходимые свойства контактного материала— высокие электрическая проводимость и дугостойкость — не могут быть получены за счет сплавов таких материалов, как серебро и вольфрам, медь и вольфрам, так как они не образуют сплавов. Материалы, обладающие необходимыми свойствами, получают методом порошковой металлургии (металлокерамики). Полученные таким методом материалы сохраняют физические свойства входящих в них металлов. Дугостойкость металлокерамики обеспечивается такими компонентами, как вольфрам, молибден. Низкое переходное сопротивление контакта достигается использованием в качестве второго компонента серебра или меди. Чем больше содержание вольфрама, тем выше дугостойкость, механическая прочность и меньше возможность приваривания металлокерамических контактов. Но соответственно растет переходное сопротивление контактов и уменьшается их теплопроводность. Обычно металлокерамика с содержанием вольфрама выше 50 % применяется для аппаратов защиты на большие токи КЗ.
Композиции из тонко измельченных порошков с диаметром зерна менее 10 мкм имеют мелкодисперсную структуру и обладают большой механической прочностью, Их износостойкость в 1,5—2 раза выше, чем у материалов не мелкодисперсного типа.
Для контактов аппаратов высокого напряжения наиболее распространена металлокерамика КМК-А60, КМК-А61, КМК-Б20, КМК-Б21

В аппаратах низкого напряжения чаще всего применяется металлокерамика КМК-А10 из серебра и оксида кадмия CdO. Отличительной особенностью этого материала является диссоциация CdO на пары кадмия и кислород. Выделяющийся газ заставляет дугу быстро перемещаться по поверхности контакта, что значительно снижает температуру контакта и способствует деионизации дуги. Металлокерамика КМК-А20, состоящая из серебра и 10 % оксида меди, обладает большей износостойкостью, чем КМК-А10.
Серебряно-никелевые металлокерамики хорошо обрабатываются, обладают высокой стойкостью против электрического износа. Контакты из этих материалов обеспечивают низкое и устойчивое переходное сопротивление, но более подвержены привариванию, чем контакты КМК-А60, КМК-Б20, КМК-А10.
Серебряно-графитовые и медно-графитовые контакты благодаря высокой устойчивости против сваривания применяются как дугогасительные. Применение металлокерамики увеличивает стоимость аппаратуры, однако в эксплуатации эти затраты окупаются за счет увеличения срока службы аппарата и повышения его надежности.
КОНСТРУКЦИЯ ТВЕРДОМЕТАЛЛИЧЕСКИХ КОНТАКТОВ
а) Неподвижные разборные и неразборные контакты.
Такие контакты служат для соединения неподвижных токоведущих деталей шин, кабелей и проводов. Эти детали могут находиться как внутри электрического аппарата, так и вне его. В последнем случае они служат для присоединения аппарата к источнику энергии или к нагрузке. Контакты соединяются с помощью либо болтов (разборные соединения), либо горячей или холодной сварки.
При болтовом соединении медные шины перед сборкой тщательно зачищаются от оксидов и смазываются техническим вазелином. После сборки места стыков между шинами покрываются влагостойким лаком или краской. При этом уменьшается переходное сопротивление и повышается его стабильность во времени.
Покрытие соприкасающихся поверхностей контактов оловом (лужение) несколько увеличивает начальное переходное сопротивление, но благодаря пластичности олова увеличивает количество площадок смятия и переходное сопротивление становится более стабильным. Для токоведущих деталей, от которых требуется повышенная надежность при больших номинальных токах, рекомендуется серебрение соприкасающихся поверхностей. Описанные разборные контактные соединения могут быть разобраны при ремонте и монтаже и имеют малое переходное сопротивление.
Рекомендуемые давления одной шины на другую,
Па,
при болтовом соединении приведены ниже.
Материалы соединения
Медь луженая 500—1000
Медь, латунь, бронза нелуженые 600—1200
Алюминий 2500
Момент при затяжке болтов контролируется специальным тарированным моментным ключом. Болтовые соединения могут оказаться недостаточно надежными, особенно при алюминиевых контактах. Поэтому в настоящее время алюминиевые токоведущие детали соединяются с помощью холодной или горячей (термитной) сварки и представляют после этого неразборный контакт.
В болтовом шинном соединении при КЗ токоведущий проводник нагревается до температуры 200—300 °С.
Стягивающие стальные болты нагреваются в основном за счет теплопроводности, так как ток через болты практически не проходит. Температура болтов обычно не превосходит 20 % температуры шин. Температурный коэффициент расширения у меди и алюминия значительно выше, чем у стали, поэтому шины, увеличиваясь по толщине больше, чем удлиняются болты, растягивают их. При этом деформация болтов может перейти за пределы упругости. Тогда после отключения цепи и остывания контакта из-за вытягивания болтов нажатие в контактах уменьшится, что приведет к увеличению сопротивления, сильному нагреву и последующему разрушению.
Для того чтобы избежать пластической деформации шин, ставятся соответствующие шайбы. Вследствие малой прочности алюминиевых шин может произойти пластическая их деформация, что приведет к порче контакта. Поэтому для стабильности алюминиевого контакта необходимо либо производить предварительный обжим, уплотнение шин, либо ставить под гайки пружинящие шайбы или специальные пружины, которые ограничивают деформации элементов контактов.
б) Подвижные неразмыкающиеся контактные соединения. Такие соединения используются либо для передачи тока с подвижного контакта на неподвижный, либо при не




большом перемещении неподвижного контакта под действием подвижного.
Наиболее простым соединением такого типа является гибкая связь (рис.7.3). Неподвижный контакт 1 крепится к каркасу аппарата на изоляционной подкладке. Подвижный контакт 2 вращается относительно точки 0, расположенной на контактном рычаге 4. Этот рычаг изолирован от вала 5, на который действует электромагнит контактора. Гибкая связь 6 соединяет подвижный контакт 2 с выводом аппарата. Контактное нажатие создается пружиной 3. Для получения необходимой эластичности гибкая связь изготовляется из медной ленты толщиной 0,1*10-3 м и менее или из многожильного жгута, сплетенного из медных жил (0,1*10-3 м и менее). При наличии резких перегибов гибкая связь быстро разрушается.
При больших ходах подвижных контактов длина гибкой связи получается значительной, а ее надежность уменьшается. Поэтому она применяется при перемещениях подвижного элемента не более 0,25 м.
При больших ходах и больших номинальных токах применяются контактные соединения в виде скользящих и роликовых токосъемов. Принцип действия токосъема ясен из рис. 7.4 и 7.5. Подвижный контакт 1 скользящего токосъема (рис. 7.4) выполнен в виде стержня круглого сечения. Цилиндрическая обойма 2 соединяется с неподвижным выводом аппарата. Соединение контакта / и обоймы 2 осуществляется пальцами (ламелями) 3. Контактное нажатие создается пружинами 4. Подвижный контакт имеет возможность перемещаться поступательно. Неподвижный контакт имеет поверхность касания в виде плоскости, подвижный — в виде цилиндрической поверхности. Контактирование осуществляется по линии, отчего контакт называется линейным.
Недостатком скользящего токосъема является большая сила трения, которая требует значительной мощности приводного механизма. Сила трения уменьшается при роликовом контакте (рис. 7.5). Подвижный контакт 1 роликового токосъема (рис. 7.5) выполнен в виде стержня круглого сечения и имеет поступательное движение. Токосъемные стержни 2 также имеют круглое сечение и соединены с выводом аппарата. Соединение стержня 1 и стержней 2 осуществляется с помощью конусных роликов 3, которые катятся по поверхности стержней 1 и 2. Контактное нажатие создается пружинами 4.
Число роликов зависит от номинального тока и тока КЗ. Этот контакт для своего перемещения требует небольших усилий и широко применяется в современной аппаратуре высокого напряжения.

Рис. 7.3. Передача тока с подвижного контакта на вывод аппарата с помощью гибкой связи
![]() |
Рис. 7.4. Скользящий токосъемный розеточный контакт

Рис. 7.5. Роликовый токосъемный контакт
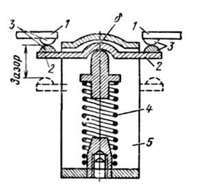
в) Разрывные контакты. Контакты многих аппаратов разрывают цепь с током, большим, чем минимальный ток дугообразования. Возникающая электрическая дуга приводит к быстрому износу контактов. 


Для надежного гашения дуги, образующейся при отключении, необходимо определенное расстояние между неподвижным и подвижным контактами, которое выбирается с запасом. Расстояние между неподвижным и подвижным контактами в отключенном состоянии аппарата называется зазором контактов (рис. 7.6, 7.7). Конструкция разрывных контактов определяется значениями номинального тока, номинального напряжения, тока КЗ, режимом работы, назначением аппарата и рассмотрена в разделах, посвященных устройству различных аппаратов. Здесь же рассмотрим только некоторые общие вопросы.
Число площадок касания и стабильность переходного сопротивления зависят от конструкции крепления подвижного и неподвижного контактов. Подвижные контакты, имеющие возможность устанавливаться в положение с максимальным числом контактных площадок, называются самоустанавливающимися. Контактный узел с самоустанавливающимся контактом дан на рис. 7.6. Неподвижные контакты / и подвижный мостиковый контакт 2 в месте касания имеют сферические (или цилиндрические) напайки 3, выполненные из серебра или металлокерамики. Контактное нажатие создается пружиной 4. После касания контактов скоба 5, связанная с приводом аппарата, продолжает свое движение вверх на величину хода, равную провалу б. Применительно к конструкциям, показанным на рис. 7.6 и 7.7, провалом называется расстояние, на которое переместится подвижный контакт, если убрать неподвижный.
![]() |
Рис. 7.6. Контактный узел с самоустанавливающимся контактом
На рис. 7.7 показана работа контактной системы, широко применяемой в контакторах с медными контактами.
Для наглядности точки начального и конечного касания обозначены буквами а и б. При включении контактный рычаг 4 вращается электромагнитом вокруг центра 02, а точка 0{ вращения контактной скобы 3 перемещается по радиусу 020].
Касание пальцевых контактов 1 и 2 происходит в точках а (рис. 7.7,б). При дальнейшем перемещении Ох точка касания переходит в точку b (рис. 7.7,в). При этом происходит перекатывание контакта 2 по контакту1 с небольшим проскальзыванием, за счет чего пленка оксида на них стирается.. При включении контактов, отключавших дугу, из-за шероховатости поверхности касания появляется дополнительная вибрация контактов. Для уменьшения вибрации проскальзывание должно быть небольшим. При отключении дуга загорается между точками а—а, что предохраняет от оплавления точки b—b, в которых контакты касаются уже во включенном положении. Таким образом, контакт разделяется на две части: в одной происходит гашение дуги, в другой ток проводится длительно. Поскольку для контактов по рис. 7.7 непосредственный контроль провала затруднен, о нем судят по зазору б' между рычагом 4 и контактной скобой 3. Контактное нажатие создается пружиной 5.
![]() |
Рис. 7.7. Контактный узел с перекатыванием подвижного контакта
Во всех без исключения аппаратах имеется провал контактов, который обеспечивает их необходимое нажатие. Вследствие обгорания и износа контактов в эксплуатации провал уменьшается, что приводит к уменьшению контактного нажатия и росту переходного сопротивления. Поэтому при эксплуатации провал контактов должен контролироваться и находиться в пределах, требуемых заводом-изготовителем. Особенно это относится к аппаратам, работающим в режиме частых включений и отключений (контакторы), где износ контактов интенсивен. Допустимое уменьшение провала обычно составляет 50 % начального значения.
В торцевом мостиковом контакте (рис. 3.14) провал обычно составляет 3—5 мм. В мощных выключателях высокого напряжения он увеличивается до 8—10 мм.
В высоковольтных масляных выключателях широко применяется розеточная система (рис. 7.8). Неподвижный контакт состоит из пальцев (ламелей) 1, расположенных по окружности. Для уменьшения обгорания концы ламелей снабжены металлокерамическими наконечниками 2. Контактное нажатие создается пружинами 3. Ламели с помощью гибких связей 5 соединяются с медным цоколем 4. Параллельное соединение шести ламелей снижает переходное сопротивление контакта и облегчает работу контакта при токах КЗ, так как через ламель протекает примерно '/б полного тока контакта. Контактное нажатие обратно пропорционально квадрату числа ламелей. Подвижный контакт выполнен в виде стержня круглого сечения, движущегося поступательно. Конец стержня снабжен металлокерамическим наконечником.

Рис 7.8. Неподвижный розеточный контакт
Для главных контактов применяется щеточная система (рис. 7.9). Неподвижные контакты 1 выполняются в виде массивных медных призм, часто покрываемых серебром. Подвижные контакты выполнены в виде пакета эластичных медных пластин 2. Большое количество пластин создает многоточечный контакт с малым переходным сопротивлением. При нажатии на подвижный контакт происходит деформация пластин, скольжение линии касания по поверхности неподвижного контакта и разрушение пленки оксидов.
![]() |
Рис. 7.9. Щеточные контакты
Широкое применение получили пальцевые самоустанавливающиеся контакты (рис. 7.10). Неподвижным контактом являются пальцы (ламели) /, выполняемые из меди. Пальцы крепятся к выводу 2 гибкими связями 3. Нажатие контактов создается плоскими пружинами 4. Для получения наибольшего числа площадок касания пружина 4 действует на контакт 1 через сферическую поверхность заклепки 5 (самоустанавливающийся контакт).
Если не имеется возможности подвижному контакту самоустанавливаться, то такой контакт называется несамоустанавливающимся (пружина 4 жестко соединена с контактом 1). Подвижный контакт выполнен в виде латунной призмы 6.
На рис. 7.11 показана двухступенчатая контактная система с главными 1–1 и дугогасительными 2— 2' контактами. Главные контакты выполняются из меди, а поверхности их соприкосновения из серебра, нанесенного электролитически (слой 20 мкм) или в виде припаянных пластин. Дугогасительные контакты выполняются из меди и имеют наконечники из дугостойкого материала — вольфрама или металлокерамики.

Рис 7.10. Пальцевый самоустанавливающийся контакт
Ввиду того, что переходное сопротивление цепи главных контактов значительно меньше, чем дугогасительных, через них проходит 70—80 % длительного тока. При отключении вначале расходятся главные контакты и весь ток цепи замыкается по дугогасительным контактам.
Дугогасительные контакты 2—2' расходятся в тот момент, когда расстояние между главными контактами достаточно, чтобы выдержать наибольшее напряжение, возникающее в процессе гашения дуги на дугогасительных контактах.

Рис. 7.11.Двухступенчатая контактная система
Необходимо отметить, что при отключении больших токов на главных контактах может возникнуть дуга. Дело в том, что после раз

мыкания главных контактов весь ток цепи начинает проходить через дугогасительную систему и на главных контактах появляется напряжение. Допустим, что дугогасительная система имеет сопротивление
и индуктивность
, а скорость нарастания тока в этой цепи
. Тогда напряжение на главных контактах может оказаться достаточным для пробоя промежутка между ними. Для уменьшения обгорания главных контактов необходимо уменьшать индуктивность L.
При включении двухступенчатой системы вначале замыкаются дугогасительные контакты, а затем главные, что обеспечивает отсутствие дуги и оплавления серебряных поверхностей главных контактов. Ввиду своей сложности двухступенчатые системы применяются только при очень больших токах (более 2000 А) в автоматах и выключателях высокого напряжения. Во всех остальных случаях надежная работа контактов обеспечивается выбором их материала и конструкции при использовании одноступенчатой системы.
В заключение отметим, что в настоящее время начинают широко применяться электрические аппараты с герметизированными контактами и контактами, работающими в глубоком вакууме.
ЖИДКОМЕТАЛЛИЧЕСКИЕ КОНТАКТЫ?
Наиболее характерные недостатки твердометаллических контактов следующие:
1.С ростом длительного номинального тока возрастают необходимое значение контактного нажатия, габариты и масса контактов. При токах 10 кА и выше резко увеличиваются габариты и масса аппарата в целом.
2.Эрозия контактов ограничивает износостойкость аппарата.
3.Окисление поверхности и возможность приваривания контактов понижают надежность аппарата. При больших токах КЗ контактные нажатия достигают больших значений, что увеличивает необходимую мощность привода, габариты и массу аппарата.
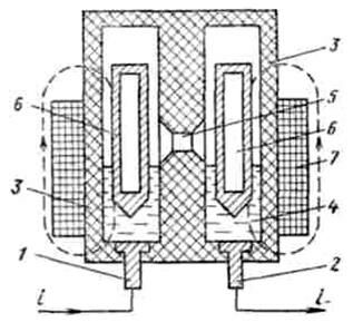
Рассмотрим принцип действия контактора с жидкометаллическим контактом (ЖМК) (рис. 3.20). Внешняя цепь подключается к электродам / и 2. Корпус 3 выполнен из электроизоляционного материала. Полости корпуса заполнены жидким металлом 4 и соединяются между собой отверстием 5. Внутри полостей корпуса плавают пустотелые ферромагнитные цилиндры 6. При подаче напряжения на катушку 7 цилиндры 6 опускаются вниз. Жидкий металл поднимается и через отверстие 5 соединяет электроды / и 2, контактор включается.
![]() |
Рис. 7.12. Контактор с жидкометаллическим контактом
По сравнению с твердометаллическими ЖМК обладают следующими преимуществами:
1. Малое переходное сопротивление и высокие допусти
мые плотности тока на поверхности раздела жидкий ме электроизоляционного материала. Полости корпуса заполнены жидким металлом 4 и соединяются между собой отверстием 5. Внутри полостей корпуса плавают пустотелые ферромагнитные цилиндры 6. При подаче напряжения на катушку 7 цилиндры 6 опускаются вниз. Жидкий металл поднимается и через отверстие 5 соединяет электроды / и 2, контактор включается.
По сравнению с твердометаллическими ЖМК обладают следующими преимуществами:
1. Малое переходное сопротивление и высокие допустимые плотности тока на поверхности раздела жидкий металл—электрод (до 120 А/мм2), что позволяет резко сократить габаритные размеры контактного узла и контактное нажатие, особенно при больших токах.
2. Отсутствие вибрации, приваривания, залипания и окисления контактов при их коммутации.
3. Высокая механическая и электрическая износостойкость ЖМК, что позволяет создавать аппараты с большим сроком службы.-
4. Возможность разработки коммутационных аппаратов на новом принципе [автоматический восстанавливающийся предохранитель и др.] благодаря свойствам текучести жидкого металла.
5. Возможность работы ЖМК при высоких внешних давлениях, высоких температурах, в глубоком вакууме.
К электрическим аппаратам обычно предъявляется требование сохранять работоспособность в интервале температур ±40СС. Очевидно, что жидкий металл должен сохранять свое состояние в указанном интервале. Из известных материалов только ртуть находится в жидком виде при температуре ниже 0°С и может быть в чистом виде пригодна для ЖМК. Высокая токсичность паров ртути существенно осложняет технологию ее применения.
В ЖМК перспективно применение диэлектрического или металлокерамического твердого каркаса, пропитанного жидким металлом.
ГЕРМЕТИЧНЫЕ КОНТАКТЫ (ГЕРКОНЫ)
Наименее надежным узлом электромагнитных реле является контактная система. Электрическая дуга или искра, образующиеся при размыкании и замыкании контактов, 



приводят к их быстрому разрушению. Этому также способствуют окислительные процессы и покрытие контактных поверхностей слоем пыли, влаги, грязи. Существенным недостатком электромагнитных реле является и наличие трущихся механических деталей, износ которых также сказывается на их работоспособности. Попытки разместить контакты и электромагнитный механизм в герметизированном объеме с инертным газом не приводят к положительным результатам из-за больших технологических и конструктивных трудностей, а также из-за того, что контакты при этом не защищаются от воздействия продуктов износа и старения изоляционных материалов. Другим недостатком электромагнитных реле является их инерционность, обусловленная значительной массой подвижных деталей. Для получения необходимого быстродействия приходится применять специальные схемы форсировки, что приводит к снижению надежности и росту потребляемой мощности.
Перечисленные недостатки электромагнитных реле привели к созданию реле с герметичными магнитоуправляемыми контактами (герконами).
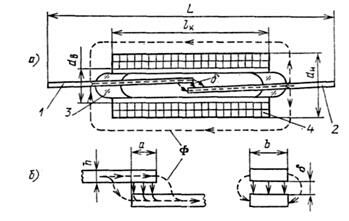
Простейшее герконовое реле с замыкающим контактом изображено на рис. 7.13, а. Контактные сердечники (КС) 1 и 2 изготавливаются из ферромагнитного материала с высокой магнитной проницаемостью (пермаллоя) и ввариваются в стеклянный герметичный баллон 3. Баллон заполнен инертным газом — чистым азотом или азотом с небольшой (около 3 %) добавкой водорода. Давление газа внутри баллона составляет (0,4—0,6) • 105 Па. Инертная среда предотвращает окисление КС. Баллон устанавливается в обмотке управления 4. При подаче тока в обмотку возникает магнитный поток Ф, который проходит по КС1 и 2 через рабочий зазор б между ними и замыкается по воздуху вокруг обмотки 4. Поток Ф при прохождении через рабочий зазор создает тяговую электромагнитную силу Рэ, которая, преодолевая упругость КС, соединяет их между собой. Для улучшения контактирования поверхности касания покрываются тонким слоем (2—50 мкм) золота, родия, палладия, рения, серебра и др.
При отключении обмотки магнитный поток и электромагнитная сила спадают и под действием сил упругости
КС размыкаются. Таким образом, в герконовых реле отсутствуют детали, подверженные трению (места крепления якоря в электромагнитных реле), а КС одновременно выполняют функции магнитопровода, токопровода и пружины.
В связи с тем что контакты в герконе управляются магнитным полем, герконы называют магнитоуправляемыми контактами.
![]() |
Рис. 7.13. Простейшее герконовое реле с симметричным замыкающим контактом
На основе герконов могут быть созданы также реле с размыкающими и переключающими контактами. В герконе с переключающим контактом (рис. 7.14, а) неподвижные КС 1, 3 и подвижный 2 размещены в баллоне 4. При появлении сильного магнитного поля КС 2 притягивается
![]() |
Рекомендуем посмотреть лекцию "14 Корпоративная ответственность".
Рис. 7.14. Переключающие герконы
к КС 1 и размыкается с КС 3. Один из КС переключающего геркона (например, 2) может быть выполнен из немагнитного материала (рис. 7.14,б). Герконовое реле (рис 11.4, в) имеет два подвижных КС 1, 2, два неподвижных КС 5, 6 и две обмотки управления 7, 8. При согласном включении обмоток замыкаются КС 1 и 2. При встречном включении обмоток КС 1 замыкается с КС 5, а КС 2 с КС 6. При отсутствии тока в обмотках все КС разомкнуты. Герконовое реле (рис. 7.14, г) имеет переключающий контакт 3 сферической формы. При согласном включении обмоток 7 и 8 контакт 3 притягивается к КС и КС 2 и замыкает их. После отключения обмоток 7 и 8 и при согласном включении обмоток 9 и 10 контакт 3 замыкает КС 5 и КС 6. Так как КС герконов выполняют функции возвратной пружины, им придаются определенные упругие свойства. Упругость КС обусловливает возможность их вибрации («дребезга») после удара, который сопутствует срабатыванию. Длительность такой вибрации достигает 0,25 мс при общем времени срабатывания 0,5—1 мс. Одним из способов устранения влияния вибраций является использование жидкометаллических контактов. В переключающем герконе (рис. 7.15, а) внутри подвижного КС 1 имеется капиллярный канал, по которому из нижней части баллона 4 поднимается ртуть 5. Ртуть смачивает поверхности касания КС 1 с КС 2 или КС 3. В момент удара контактов при срабатывании возникает их вибрация. Из-за ртутной пленки на контактной поверхности КС 1 вибрация не приводит к разрыву цепи. В конструкции на рис. 7.15,б между КС 2, КС 3 и ртутью 5 находится ферромагнитная изоляционная жидкость 6. При возникновении магнитного поля ферромагнитная жидкость 6 перемещается вниз, в положение, при котором поток будет наибольшим. Ртуть вытесняется вверх и замыкает КС 2 и КС 3. Следует отметить, что жидкометаллический контакт позволяет уменьшить переходное сопротивление и значительно увеличить коммутируемый ток. Наличие ртути удлиняет процесс разрыва контактов, что увеличивает время отключения реле.
Управление герконом можно осуществлять и с помощью постоянного магнита. Если постоянный магнит установлен вблизи геркона, его магнитный поток замыкается через КС, которые в результате этого находятся в замкнутом состоянии. Использование постоянного магнита совместно с управляющей катушкой позволяет создать герконовое реле с размыкающим контактом.

Рис.7.15. Ртутные герконы































