Цифровые радиорелейные линии
8 цифровые радиорелейные линии
8.1 Структурная схема цифрового ствола
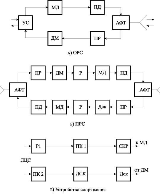
Широкополосный ствол РРЛ, предназначенный для передачи сигналов в цифровой форме, называют цифровым стволом. На рисунке 8.1а показана структурная схема оконечной станции ЦРРЛ, на рисунке 8.1б -структурная схема промежуточной станции, на рисунке 8.1в структурная схема устройства сопряжения УС.
На оконечной станции линейный цифровой сигнал ЛЦС в коде стыка (например, HDB-3) поступает на вход устройства сопряжения УС, задачей которого является преобразование ЛЦС к виду, удобному для передачи по РРЛ. В модуляторе МД производится модуляция сигнала промежуточной частоты по одному из параметров (частота, фаза, либо амплитуда и фаза). Промодулированный сигнал ПЧ в передатчике ПД переносится в рабочую область частот, усиливается и затем излучается антенной. Передатчики и приемники выполняют по таким же схемам, как и для аналоговых РРЛ. В обратном направлении сигнал, принятый антенной, усиливается и переносится на ПЧ в приемнике ПР. Затем с выхода демодулятора ДМ
цифровой сигнал подается на устройство сопряжения, где формируется линейный цифровой сигнал. В состав промежуточной станции входят регенераторы Р , задачей которых является восстановление временных и амплитудных соотношений в цифровом сигнале. Благодаря этому исключается накопление шумов вдоль радиорелейной линии. Промежуточная станция может работать в режиме ретрансляции без регенерации сигналов. Очевидно, что в этом случае происходит явление накопления шумов.

Рисунок 8.1 – Организация цифрового ствола
Рассмотрим схему устройства сопряжения УС (рисунок 8.1 в). На вход УС поступает линейный цифровой сигнал ЛЦС по кабельной соединительной линии от аппаратуры систем передачи, например, ИКМ-120. В регенераторе Р1 ЛЦС восстанавливается и подается на преобразователь кода ПК1. В этом преобразователе линейный цифровой сигнал преобразуется в бинарный однополярный (как правило, положительной полярности). Кроме того, в ПК удаляется избыточная информация из ЛЦС, введенная в него для улучшения статистических свойств. Например, если ЛЦС поступает в коде HDB-3, то из него удаляются вставки типа 000V и B00V. На выходе ПК1 формируется цифровой сигнал в коде NRZ, чем обеспечивается минимальная ширина полосы частот сигнала на выходе модулятора МД. Скремблер СКР предназначен для улучшения статистических свойств цифрового сигнала. Дело в том, что при появлении в цифровом сигнале длинных серий нулей или единиц ухудшается работа канала тактовой синхронизации, что приводит к увеличению коэффициента ошибок. Кроме того, при наличии в ЦС регулярных последовательностей спектр сигнала на выходе передатчика сосредотачивается в узкой полосе частот, что ведет к росту перекрестных помех между стволами РРЛ. В скремблере цифровой сигнал складывается по модулю 2 с псевдослучайной последовательностью импульсов ПСП, формируемой в генераторе ПСП. В результате такой логической операции цифровой сигнал приобретает свойства почти случайного и, таким образом, упомянутые выше ситуации исключаются. Регенератор Р2 устраняет искажения, внесенные элементами радиоствола. В дескремблере ДСК из цифрового сигнала удаляется ПСП. Преобразователь кода ПК2 формирует на своем выходе линейный цифровой сигнал в коде стыка.
8.2 Аналого-цифровой ствол
Рекомендуемые материалы
В данном случае передача цифрового сигнала производится по стволу аналоговой РРЛ с ЧМ совместно с групповым сигналом. Например, в отечественной аппаратуре ОЦФ-2У цифровой сигнал со скоростью 2,048 Мбит/с передается на поднесущей частоте, расположенной выше спектра многоканального сигнала методом фазовой модуляции ОФМ.
Структурные схемы устройств совмещения аналогового и цифрового сигналов на передаче и на приеме приведены на рисунках 8.2а 8.2б.
На передающем конце ЛЦС, пройдя через типовые блоки, поступает на фазовый модулятор ФМД, где модулирует колебания поднесущей частоты генератора ГЕН. На выходе ПК формируется цифровой сигнал в относительном коде. Поэтому на выходе ФМД формируется сигнал ОФМ. Спектр этого сигнала ограничивается в ПФ с целью уменьшения помех аналоговым сигналам. На вход устройства сложения УСЛ поступают сигналы от оконечного оборудования телефонного ствола ООТФ. Это многоканальный телефонный сигнал и сигналы служебной связи СС.
На приемном конце сигнал с выхода частотного демодулятора ЧД поступает на устройство разделения УР. После фильтрации в полосовом фильтре ПФ цифровой сигнал подается на фазовый демодулятор ФД, на второй вход которого подан сигнал от опорного генератора ГЕН. После прохождения типовых блоков ЛЦС поступает в кабельную соединительную линию.
Оборудование типа ОЦФ-2У применяется для передачи низкоскоростных ЦС, при передаче сигналов звукового вещания в цифровой форме.
8.3 Цифровой ствол на аналоговой РРЛ
В данном случае пропускная способность аналогового ствола используется полностью для передачи цифрового сигнала. Однако, должна быть сохранена система телеобслуживания, каналы служебной связи аналоговой РРЛ.
Структурные схемы устройств сопряжения на передаче и на приеме приведены на рисунках 8.3а и 8.3б. На передающей стороне цифровой сигнал подвергается типовым преобразованиям. Преобразователь кода ПК2 формирует цифровой трехуровневый сигнал типа ЧПИ. Особенностью спектра такого сигнала является отсутствие низкочастотных составляющих, что и используется для сохранения каналов служебной связи аналоговой РРЛ. Фильтр нижних частот имеет полосу пропускания от 6 до 6,5 МГц, ограничивает спектр трехуровневого сигнала. Так как при этом полоса частот 6,5…9 МГц оказалась свободной, то имеется возможность применять для оценки состояния цифрового ствола КУ существующей аппаратуры аналоговой РРЛ. Сигнал с выхода устройства сложения поступает на частотный модулятор.

В приемной части с выхода частотного демодулятора сигнал подается на устройство разделения УР. Цифровой трехуровневый сигнал подается на ПК3, где преобразуется в бинарный сигнал. После дескремблера ДСК в ПК4 формируется ЛЦС. Фильтр нижних частот ограничивает мощность тепловых шумов.
По рассмотренному варианту организации цифрового ствола обычно передают цифровые сигналы 8,448 Мбит/с. Для увеличения пропускной способности цифрового ствола применяется одновременная передача двух ЛЦС со скоростями 8,448 Мбит/с методом четырехпозиционной ЧМ с помощью устройства сопряжения типа ОЦФ-17 [3].
8.5 Методы модуляции в ЦРРСП
Организация большинства линейных трактов требует дополнительной обработки информации перед передачей. В ЦРСП эта обработка заключается в переносе цифрового сигнала в соответствующую область спектра частот путем модуляции несущей. Модуляцию можно рассматривать как дополнительный этап в согласовании источника информации с каналом связи и, следовательно, как часть процесса кодирования в канале с точки зрения теории информации. Такое определение позволяет правильно поставить вопрос об эффективности и пропускной способности любых методов кодирования-модуляции.
Выбор метода передачи цифровой информации по РРЛ зависит от совокупности требований, часто являющихся противоречивыми: качество передачи и пропускная способность (скорость передачи), эффективность использования спектра и диапазона частот, электромагнитная совместимость и максимальная возможность использования существующего оборудования аналоговых РРЛ и ряд других. Приоритет, отдаваемый при выборе метода модуляции – демодуляции тому или иному из перечисленных требований, как правило, определяется назначением ЦРСП, хотя существует принципиальная возможность применения любых из известных способов изменения одного из трех параметров гармонического сигнала: амплитуды, частоты, фазы или их комбинаций.
В ЦРСП могут использоваться те же виды модуляции, что и в аналоговых системах: амплитудная (AM), частотная (ЧМ), и фазовая (ФМ). При цифровом способе передачи эти параметры изменяются дискретно, вследствие чего различают 2-х уровневые (2-х частотные, 2-х позиционные) и многоуровневые (многочастотные или многопозиционные) методы модуляции (правильнее манипуляции) амплитуды (частоты или фазы). При этом следует заметить, что многопозиционные виды манипуляции используют либо для увеличения пропускной способности цифровых радиоканалов без расширения полосы пропускания тракта, либо для передачи цифровой информации, использующей коды с многозначными символами, например троичные, четверичные и другие.
8.5.1 Двухпозиционные методы модуляции
В настоящее время набольшее распространение в низкоскоростных ЦРРСП получили такие методы модуляции, как двухпозиционная ЧМ и относительная фазовая модуляция ОФМ. ОФМ (иногда употребляется название – фазоразностная модуляция) была предложена Н.Т. Петровичем в 1954г. Кроме того, с целью устранения из спектра модулированного сигнала в.ч. составляющих и формирования “компактного” спектра применяется частотная манипуляция с минимальным сдвигом.
Фазовая модуляция. Во всех вариантах фазовой модуляции используется относительное кодирование цифрового сигнала (ЦС) перед его подачей на модулятор и относительное декодирование после демодуляции. Это необходимо для устранения явления “обратной работы” – изменения полярности сигнала на выходе демодулятора при случайном изменении фазы опорного колебания на 180º.
В наиболее простом случае двухпозиционной ОФМ, имеющей два возможных значения начальной фазы - 0º и 180º, структурная схема модулятора имеет вид, показанный на рисунке 8.4 а.
![]() |
При поступлении ЦС на вход триггера T, работающего в счетном режиме, очередного символа “1” триггер изменяет свое состояние на противоположное, что вызывает изменение знака несущего колебания после перемножения, то есть процесс ОФМ.
Математический переход от абсолютного кода к относительному записывается в виде:
![]() |
где
и
- смежные двоичные символы цифрового сигнала в относительном коде;
- очередной двоичный символ в абсолютном (исходном) коде.
Процесс формирования сигнала ОФМ показан на рисунке 8.4 б, где для простоты на одном тактовом интервале
показан один период несущей (опорной) частоты.
Частотная манипуляция. В ЦРРЛ применяются несколько разновидностей частотной манипуляции. Простейшей из них является двухпозиционная ЧМ; при которой символу “0” соответствует частота
, а символу “1” – частота
Существует два различных способа ЧМ в ЦРРЛ: ЧМ с разрывом фазы несущего колебания (когда манипуляция осуществляется путем коммутации независимых генераторов колебаний с частотами
и
) и ЧМ без разрыва фазы (когда манипуляция осуществляется при помощи частотного или фазового модулятора). ЧМ сигнал с разрывом фазы может быть представлен как сумма двух АМ сигналов (одного с частотой
, другого – с частотой
). Ширина спектра такого сигнала равна ширине спектра АМ сигнала плюс величина
ЧМ сигнал без разрыва фазы имеет более компактный спектр и создает меньший уровень внеполосных излучений.
![]() |
Сравнение видов модуляции при BER=10-6 проведем по отношению сигнал /шум на входе приемника
где Рс - средняя мощность сигнала, N0 – спектральная плотность мощности шума на входе приемника; B – полоса частот, численно равная скорости передачи двоичных символов.
Значения h, полученные для различных видов модуляции путем изменения
при фиксированных B и BER, приведены в таблице 8.1.
Таблица 8.1 - Сравнительные характеристики методов модуляции
| Метод передачи и способ приема | Поз. | Полоса Найквиста* | h, дБ | Особенности метода |
| АМ с двумя боковыми. Детектирование огибающей | 2 | B | 17 | Простой |
| ФМ, когерентное детектирование | 2 | B | 10,5 | Сравнительно простой, неэкономичный по полосе |
| 4 | B/2 | 10,5 | Сложный, экономичный по полосе | |
| 8 | B/3 | 13,8 | Усложненный, экономичный по полосе | |
| ЧМ, детектирование на дискриминаторе | 2 | B | 13,4 | Простой, неэкономичный по полосе |
Полоса Найквиста* - полоса, численно равная половине интервала между первыми “нулями” спектра сигнала относительно несущей.
В качестве примера на рисунке 8.5 приведены спектры сигналов AM, ОФМ, ЧМ. В табл.8.1 обозначено Поз. -число уровней манипуляции.
8.5.2 Многопозиционные методы модуляции
Четырехпозиционная ОФМ. При четырехпозиционной ОФМ в случае передачи одного цифрового потока модулятор строится в соответствии со структурной схемой, приведенной на рисунке 8.6.
![]() |
![]() |
Рисунок 8.6 – Структурная схема модулятора 4 -ОФМ
Входной ЦС делится на две последовательности А и В с помощью делителя потока ДП. Длительность двоичных символов каждой из них устанавливается равной 2Tи то есть в 2 раза больше, чем во входном ЦС. Одна из последовательностей сдвигается по времени на один тактовый интервал Tи для того, чтобы обе последовательности передавались синхронно (рисунок 8.7).
![]() |
Рисунок 8.7 – Формирование сигнала 4 - ОФМ
Между значением одной пары символов в последовательностях А и В и изменением фазы несущего колебания Δφ устанавливают определенное соответствие, основанное на коде Грея (таблица 8.2)
Таблица 8.2
| Символ в А | Символ в B | Δφ |
| 0 | 0 | 0˚ |
| 0 | 1 | 90˚ |
| 1 | 1 | 180˚ |
| 1 | 0 | 270˚ |
Например, при передаче сигнала 1101010010 получаем в случае нулевой начальной фазы несущего колебания:
| Входная последовательность | 11 | 01 | 01 | 00 | 10 |
| Изменение фазы несущего колебания, Δφ | 180˚ | 90˚ | 90˚ | 0˚ | 270˚ |
| Фаза несущего колебания φ | 180˚ | 270˚ | 360˚ | 0˚ | 270˚ |
Выработка напряжений, обеспечивающих, изменения фазы 4 – ОФМ сигнала в соответствии с таблицей 8.2, производится с помощью логической схемы (ЛС). При этом значения фазы несущего колебания φА и φВ, равные в момент начала рассмотрения соответственно φА0 и φВ0, изменяются в соответствии с таблицей 8.3.
Таблица 8.3
| А | В | Φ°А | φ°В | Δφ° |
| 0 | 0 | φА0 | φВ0 | 0˚ |
| 0 | 1 | φА0+180˚ | φВ0+180˚ | 90˚ |
| 1 | 1 | φА0+180˚ | φВ0+180˚ | 180˚ |
| 1 | 0 | φА0+180˚ | φВ0 | 270˚ |
Символу 0 последовательности A(B) соответствует определенное значение φА0(φВ0), символу 1 – значение φА(φВ), отличающееся от φА0(φВ0) на 180˚.
При изменении символа в последовательности А(В) на противоположный происходит изменение фазы φА(φВ) на 180˚, что приводит к повороту фазы суммарного выходного колебания на 90˚ (рисунок 8.8).
Изменение символов сразу в обеих последовательностях соответствует изменению φΣ, на 180˚. Изменения фазы суммарного выходного колебания ΔφΣ, соответствующие заданной паре символов последовательностей А и В, получаются такими же, как в таблице 8.2.
Полоса пропускания П для ОФМ численно равна:
П = (1,1…1,2)В,
где В – скорость передачи информации. Значит, удельная пропускная способность системы связи γ = В/ П в этом случае близка к 1 бит/с/Гц. В случае 4 - ОФМ
П = (1,1…1,2)В/log2N,
где N – число уровней манипуляции. То есть при 4 – ОФМ γ примерно равняется 2 бит/с/Гц.
![]() |
К недостаткам методов ФМ относится уменьшение амплитуды огибающей до нуля в те моменты времени, когда фаза несущей изменяется на 180˚. Этот эффект вызывает появление значительных внеполосных излучений, а так же дополнительных искажений сигнала вследствие АМ-ФМ конверсии в ВЧ тракте. От этого недостатка свободен метод 4 – ОФМ со сдвигом (4–ОФМ-С), отличающийся от 4–ОФМ тем, что изменение фазы в квадратурных каналах происходит не одновременно, а поочередно со сдвигом во времени на тактовый интервал. При этом никогда не возникают скачки фазы на 180˚, так как изменение фазы на противоположную в одном из каналов вызывает сдвиг фазы результирующего колебания на 90˚ (рисунок 8.9).
![]() |
В высокоскоростных цифровых РРЛ применяются более сложные виды модуляции. Наибольшее распространение получила квадратурная амплитудная манипуляция (КАМ), которая предполагает амплитудную модуляцию синфазной и квадратурной составляющих несущей. В общем случае сигнал КАМ может быть представлен в виде:
UКАМ(t)=U[С1(t)cosωt+C2(t)sinωt],
где С1(t) и C2(t) – модулирующие сигналы в квадратурных каналах. Если модулирующие сигналы принимают дискретные значения ±1; ±3, то при этом получается 16 – позиционная КАМ (КАМ-16). Расположение сигнальных точек на амплитудно-фазовой плоскости (“созвездие”) при ведено на рисунке 8.10.
![]() |
![]() |
На практике также применяются КАМ-64, КАМ-128.
8.6 МЕТОДЫ ДЕМОДУЛЯЦИИ В ЦРРС
8.6.1 КРАТКИЙ АНАЛИЗ МЕТОДОВ ДЕМОДУЛЯЦИИ
Эффективность использования того или иного метода передачи цифровой информации по трактам ЦРСП в значительной степени зависит от избранного способа демодуляции, т.е. от метода приема, осуществляемого в ЦРСП, как правило, на промежуточной частоте. Под методами приема понимают математические алгоритмы обработки сигнала с целью определения символа, переданного источником сообщения. Под приемником понимается устройство, реализующее некоторый метод (алгоритм) приема. Типов приемников значительно больше, нежели методов приема, так как каждый из методов может быть реализован различными техническими путями. Демодулятор – основа приемника – является одним из наиболее сложных узлов ЦРСП, в значительной степени определяющим показатели качества системы передачи в целом.
ЦСП являются синхронными системами связи, в которых на приемной стороне известны начало и конец каждой посылки сигнала. Эта информация используется для повышения помехоустойчивости приема при всех видах модуляции, поскольку синхронность работы приемника и передатчика позволяет применять оптимальные методы приема. Синхронность работы приемника достигается либо передачей вместе с сигналом специальных синхронизирующих колебаний, либо соответствующей обработкой самого сигнала, который всегда содержит информацию о начале и конце посылки.
Краткий анализ методов приема начнем с рассмотрения структуры приемника сигналов 2-АМ (рисунок 8.11).
Сигнал поступает на вход детектора через полосовой фильтр промежуточной частоты, полосу пропускания которого выбирают с учетом длительности тактового интервала Т и нестабильностей частоты возбудителя передатчика и гетеродинов приемника. После детектора сигнал поступает на ФНЧ с полосой пропускания 1/Т, оптимальной с точки зрения достижения максимальной помехоустойчивости приема информации. Далее сигнал подается на пороговое устройство (ПУ), порог срабатывания которого устанавливается на уровне, соответствующем принятым градациям амплитуды несущей с учетом теоретической оценки вероятности ошибки при использовании того или иного способа обработки сигнала в решающем устройстве (РУ). Необходимость применения РУ определяется тем обстоятельством, что сигналы на выходе как ФНЧ, так и ПУ отличаются от передаваемых, прежде всего из-за воздействия шумов и помех, поэтому необходим специальный алгоритм восстановления передающегося искаженного помехами сигнала.
Возможные алгоритмы работы РУ можно разделить на асинхронные и синхронные. При асинхронных алгоритмах положение границ тактовых интервалов не восстанавливается, а решение о передаваемых символах принимается на основании измерения временных интервалов между двумя последовательными фронтами сигнала, образующихся на выходе ПУ.
![]() |
Рисунок 8.11 – Структурная схема приемника сигналов АМ
Обратите внимание на лекцию "12 Основные типы стратегий предприятия".
![]() |
Рисунок 8.12 – Иллюстрация принципа построения когерентного демодулятора ФМ - сигналов
Характерным признаком синхронных РУ является наличие в их составе систем тактовой синхронизации (СТС), осуществляющих восстановление тактовых моментов принимаемого сигнала. Как правило, такое восстановление выполняется путем усреднения временных положений фронтов сигнала. Наиболее распространенными алгоритмами принятия решения в синхронных РУ являются интегральный прием и прием со стробированием (метод укороченного контакта). При интегральном приеме входной сигнал интегрируется за время каждого тактового интервала, результат интегрирования (напряжение) сравнивается с определенным образом выбранными пороговыми уровнями, что приводит к принятию решения относительно переданного на данном интервале символа. При этом на вход РУ обычно подается сигнал непосредственно с выхода детектора, поскольку функции ФНЧ выполняет собственно интегратор РУ.
На приеме по методу стробирования используется тот факт, что наиболее устойчивой и наименее уязвимой, с точки зрения помех, является центральная часть принятой посылки. В моменты времени, расположенные посредине между тактовыми моментами, схема синхронизации вырабатывает специальные стробирующие импульсы. В зависимости от уровня сигнала в момент появления стробирующего импульса определяется состояние принятой элементарной посылки. Этот метод приема обеспечивает правильную регистрацию импульсов при значительных искажениях их краев.
Анализ помехоустойчивости упомянутых способов приема сигналов 2-АМ показывает, что по эффективности РУ с интегральным приемом и приемом со стробированием практически совпадают. При сравнении синхронных и асинхронных РУ установлено, что при точной синхронизации синхронные РУ обеспечивают на 3дБ большую помехоустойчивость, причем оптимальной оказывается эквивалентная полоса пропускания ФНЧ, равная 1/Т.
Основной операцией во всех типах приемников сигналов ОФМ является операция интегрирования произведения сигнала и весовой функции в течение интервала Т, причем всегда Т£t, где t - длительность элементарной посылки. Интервал интегрирования Т обычно выбирают кратным величине 2p/w (w - частота несущей). Это обеспечивает оптимальную фильтрацию сигнала при произвольных фазах несущей и весовой функции, т.е. опорного колебания.
Известны и применяются три способа приема сигналов ОФМ: когерентный, корреляционный и автокорреляционный, перечисленные в порядке уменьшения помехоустойчивости по отношению к флуктуационной помехе.



































